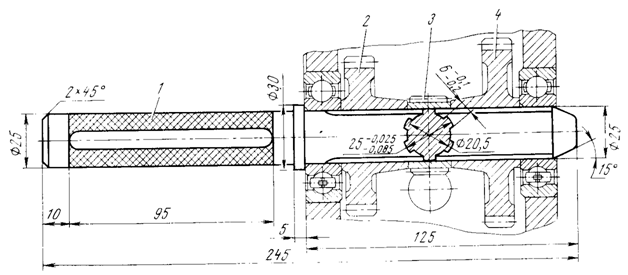
В средней стенке картера запрессован шариковый подшипник, за которым в третьей секции на шлицах установлены ведомые шестерни третьей 20, четвертой 18 передач и ведущая 19 привода спидометра. В задней стенке запрессован шариковый подшипник 17.
Синхронизаторы предназначены для бесшумного и безударного переключения передач.
В коробке передач предусмотрены два синхронизатора (рис. 86): для IV и III передач и для II и 1, Синхронизаторы имеют одинаковые устройства и размеры, но в синхронизаторе II и 1 передач муфтой служит ведомая шестерня заднего хода.

Рис. 86. Синхронизатор
Ступица 3 синхронизатора внутренними шлицами надета на шлицы промежуточного вала и удерживается на нем вместе с другими деталями (см. рис. 84) шайбами 9 и 26 и гайкой 39.
На наружной поверхности ступицы (см. рис. 86) нарезаны шлицы, по которым может перемещаться муфта 5 синхронизатора. Кроме шлицев, на ступице вырезаны на равных расстояниях один от другого три продольных паза, в которых помещены три штампованных сухаря 2 с выступами А на середине. Сухари прижаты к шлицам муфты 5 двумя пружинными кольцами 4, причем выступы А сухарей входят в кольцевую проточку Б муфты. С обеих сторон ступицы установлены латунные блокирующие кольца 1. На торцах этих колец, обращенных к ступице, сделано по три паза В, в которые входят концы сухарей 2.
Блокирующие кольца имеют внутреннюю коническую поверхность, которая соответствует конической поверхности венцов синхронизатора шестерен. На конической поверхности колец нарезана мелкая резьба. Она разрывает масляную пленку между блокирующим кольцом и конической поверхностью шестерен включаемой передачи при их соприкосновении, вследствие чего между кольцом и конической поверхностью возникает повышенное трение. Снаружи на кольцах имеются короткие прямые зубцы, такие же, как и на соседних с ними венцах синхронизатора шестерен. Эти зубцы соответствуют впадинам между шлицами муфты синхронизатора, в результате чего муфта, перемещаясь в осевом направлении, может входить в зацепление своими шлицами с зубцами блокирующих колец и с зубчатыми венцами. Муфты и ступицы подбирают на заводе комплектами. Таким образом обеспечивается плавное и легкое скольжение муфты по ступицам с минимальным зазором.
В цилиндрическую проточку на верхней поверхности муфты синхронизатора входит вилка включения передач.
Механизм переключения передач состоит из муфт, вилок, подвижных штоков, параллельных друг другу и расположенных в одном ряду. Штоки перемещаются в отверстиях, расточенных в задней и средней стенках картера коробки. Штоки имеют пазы, расположенные в полости задней крышки. В пазы штоков входит ползун переключения, который перемещает один из штоков при включении передачи.
Для четкой фиксации рабочих положений штоков на их поверхности профрезерованы лунки (см. рис. 85), в которые входят шариковые фиксаторы 17, расположенные во втулках и поджимаемые пружинами 16. Втулки запрессованы в отверстия картера и закрыты общей крышкой 14.
Для предотвращения включения сразу двух передач установлено блокирующее устройство, состоящее из верхнего 22 и нижнего 25 замков и толка
Диаметр замков нижнего 25 и верхнего 22 штоков — 7,5-0,013-0,028 мм, длина их соответственно 10,l-0,12 мм и 15,3-0,12 мм, а диаметр толказамков—4-0,01-0,002 мм, длина его—11,5-0,14 мм.
Главная передача состоит из двух конических шестерен со спиральными зубьями; передаточное число 4,125. Ведущая шестерня главной передачи выполнена как одно целое с ведомым валом коробки передач, который вращается на трех опорах.
Ведомая шестерня главной передачи (рис. 87) прикреплена к корпусу 10 дифференциала совместно с крышкой 4 дифференциала болтами 9 с пружинными шайбами. Ведомая шестерня вместе с корпусом дифференциала и крышкой вращается на двух конических подшипниках 5, установленных в отлитых из ковкого чугуна корпусах 8 подшипников. Корпусы подшипников вставлены в боковые отверстия картера коробки в сборе с картером сцепления и прикреплены к нему шестью шпильками 14 каждый. Для уплотнения мест разъема между корпусами подшипников дифференциала и картером установлены уплотнительные резиновые кольца 7.
Конические подшипники ведомой шестерни зажимаются регулировочными гайками 6, которыми устанавливается боковой зазор в зацепления главной пары в пределах 0,08...0,22 мм. Стопорение регулировочных гаек осуществляется стопорами 2, которые внутренними усами входят в пазы гайки 6, а наружными — в пазы, расположенные на торце корпуса 8 подшипников дифференциала.
Для безшумной и надёжной работы главной передачи ведущую и ведомую шестерни подбирают попарно в комплект. После подбора на шестернях пишется эректрографом их порядковый номер и, кроме того, на торце ведущей шестерни – поправка на натяжное расстояние А = 87 мм ± 0,04 мм. Заменяют шестерни главной передачи только комплектно.

Рис. 87. Главная передача: 1 — картер коробки передач; 2 — стопор регулировочной гайки; 3 — шестерня полуоси; 4 — крышка корпуса дифференциала; 5 — конический подшипник; 6 — регулировочная гайка; 7 — уплотнительное кольцо; 8 — корпус подшипника дифференциала; 9 — болт крепления ведомой шестерни; 10 — корпус дифференциала; 11 — ведомая шестерня главной передачи; 12 — сателлит; 13 — опорная шайба шестерни полуоси; 14 — шпильки крепления корпуса дифференциала; 15 — гайки; 16 — стопорное кольцо пальца сателлитов; 17 — палец сателлитов.
РЕМОНТ КОРОБКИ ПЕРЕДАЧ И ГЛАВНОЙ ПЕРЕДАЧИ С ДИФФЕРЕНЦИАЛОМ
Внешними признаками, определяющими потребность в проверке коробки передач, главной передачи и дифференциала, являются повышенный шум при движении автомобиля, плохое включение, а также самовыключение передач. Следует также иметь в виду, что износ колец синхронизатора проявляется постепенно и не приводит к отказу коробки передач в работе, но тем не менее приводит к изнашиванию более ответственных деталей, к каким следует отнести венец синхронизатора шестерен, муфты и др. Поэтому своевременная замена изношенных колец синхронизатора способствует продлению общего срока службы коробки передач и предотвращает проведение впоследствии более трудоемких и дорогостоящих работ.
При определении неисправностей следует по возможности избегать даже частичной разборки. Но если разборка неизбежна, то при сборке коробки передач необходимо следить, чтобы ее основные детали, если их не заменяли, были установлены на их места и в положения, в которых эти детали находились до разборки.
Разборка коробки передач и дифференциала. При разборке и последующей сборке необходимо иметь приспособление для крепления коробки передач, оправку для удержания шестерен, съемник подшипника дифференциала, торцовые ключи с набором головок 10, 12, 13 мм, динамометрический ключ с головкой 17 и 36 мм, комбинированные плоскогубцы, отвертку, выколотку, съемник
оси шлицевого вала заднего хода, контрольные приспособления для подбора толщины регулировочных шайб и проверки зазора в главной паре, приспособление для выпрессовки подшипника главной пары.
Коробку передач и дифференциал автомобиля рекомендуется разбирать в следующей последовательности циrла.
Для бесшумной и надежной работы главной передачи ведущую и ведомую шестерни подбирают попарно в комплект. После подбора на шестернях пишется электрографом их порядковый номер и, кроме того, на торце ведущей шестерни — поправка на монтажное расстояние А = 87 мм ± 0,04 мм. Заменяют шестерни главной передачи только комплектно.

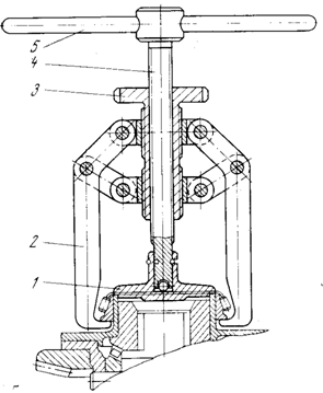
Рис. 88. Приспособление для сборки и разборки коробки передач
установить коробку передач на приспособление (рис. 88), отвернуть (см. рис. 84) гайки и, постукивая по приливам, снять заднюю крышку, а затем верхнюю крышку;
отвернуть (см. рис. 87) гайки 15 крепления корпусов 8 подшипников дифференциала и, пользуясь выколоткой, выпрессовать корпусы подшипников дифференциала (при этом рекомендуется ослабить гайки крепления картера сцепления);
отвернуть гайки крепления картера сцепления, легким постукиванием снять картер сцепления и вынуть дифференциал в сборе. При необходимости снять механизм выключения сцепления:
снять (см. рис. 85) крышку 14 фиксаторов пружины 16 и шарики 17;
отвернуть болт 36 крепления поводка рычага включения заднего хода и, слегка поворачивая, вынуть шток 19 переключения заднего хода из картера;
снять кронштейн 8 механизма выключения заднего хода с поводком и вилкой в сборе, ползун 20 переключения передач со штоком в сборе, после чего — ползун со штока 21, стопорное кольцо 35 с оси кронштейна и поводок рычага с вилкой в сборе:
отогнуть (см. рис. 84) отгибные шайбы 38 на промежуточном 3 и ведомом 15 валах, включить II передачу и вручную ввести в зацепление шестерни заднего хода, отвернуть гайки промежуточного и ведомого валов;
снять крышку /3 заднего подшипника ведущего вала коробки передач. Легким постукиванием мягкой выколоткой через отверстие промежуточного вала выпрессовать ведущий вал II коробки передач с подшипником. При необходимости снять стопорное кольцо 14 с ведущего вала и спрессовать подшипник 12 ведущего вала. Снять упорное кольцо с подшипника;
отвернуть болт крепления вилки III и IV передач, вынуть шток переключения и вилку, затем отвернуть болт крепления вилки 1 и 11 передач, вынуть шток переключения, вилку и замки штоков;
пользуясь съемником (рис. 89), выпрессовать ось шлицевого вала из картера коробки, вынуть шлицевый вал с промежуточными шестернями заднего хода;
снять крышку 31 (см. рис. 84) переднего подшипника и, слегка постукивая мягкой выколоткой в сторону дифференциала, вынуть ведущую шестерню главной передачи шестерни 1 и II передач, ступицу и ведомую шестерню заднего хода из картера коробки передач. Втулки шестерен, игольчатые подшипники и кольца синхронизаторов поместить по шестерням. Перестановка их не рекомендуется;
при необходимости выпрессовать конический упорный подшипник с ведомого вала. Выколоткой из мягкого металла со стороны задней крышки выбить промежуточный вал 3, вынуть шестерни 7 и 4 соответственно III и IV передач, ступицу и муфту 5;
выпрессовать задний подшипник промежуточного вала из картера коробки, снять стопорное кольцо с подшипника, вынуть ведомые шестерни III и IV передач и ведущую шестерню привода редуктора спидометра, снять редуктор привода спидометра и выпрессовать из гнезд картера оставшиеся подшипники. Установить корпус дифференциала в сборе в тиски и, пользуясь съемником (рис. 90),

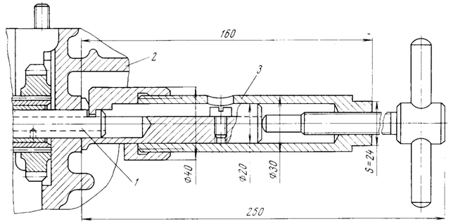
Рис. 89. Съемник оси шлицевого вала: 1 — ось шлицевого вала (вал условно повернут на 90°); 2 — картер коробки передач; 3 — съемник.

Рис. 90. Съемник подшипника дифференциала.
снять внутренние обоймы конических подшипников. Для этого, поворачивая воротком 5 винт 4 против часовой стрелки, поднять упор 1 так, чтобы лапки 2 зашли под корпус подшипника в два углубления. Затем, вращая за маховичок 3 втулки по часовой стрелке, свести лапки 2 и, вращая вороток 5, снять внутреннюю обойму подшипника;
отвернуть (см. рис. 87) болты 9 и легким постукиванием снять ведомую шестерню // главной передачи, крышку 4 дифференциала, шестерню 3 полуоси и регулировочную шайбу;
снять пружинные кольца 16 с пальца сателлитов и выпрессовать палец /7 сателлитов, вынуть шестерни сателлитов 12, вторую шестерню полуоси и опорную шайбу шестерни полуоси;
вывернуть регулировочные гайки 6 из корпусов подшипника дифференциала и выпрессовать наружные обоймы конических подшипников.
Проверка состояния деталей коробки передач и дифференциала.
После разборки коробки передач и дифференциала детали необходимо промыть и проверить их состояние. Износ шлицев муфт включения III и IV передач, торцов внутренних шлиц ведомой шестерни заднего хода, а также торцовый износ шестерни заднего хода не поддаются замеру, поэтому пригодность этих деталей определяют внешним осмотром.
В картере коробки передач проверяют отверстия: под подшипники, корпуса подшипников дифференциала, штоки переключения передач. Уплотняющие поверхности картера не должны иметь забоин, рисок. Проверяют картер коробки на отсутствие трещин. При обнаружении трещин картер необходимо заварить или заменить.
Уплотняющая поверхность задней крышки коробки передач не должна иметь забоин, рисок или трещин. При обнаружении трещин следует заварить или заменить крышку. Зазор между отверстием втулки и штоком ползуна не должен превышать 0,30 мм. При большем зазоре можно отремонтировать крышку запрессовкой новой втулки с последующей разверткой до номинального размера.
Подшипники должны вращаться плавно и бесшумно. На беговых дорожках внутренних и наружных обойм на шариках и роликах не должно быть выкрашиваний металла. При обнаружении выкрашиваний металла на беговых дорожках внутренних или наружных обойм, на шариках или роликах подшипники заменяют. Максимально допустимый радиальный люфт подшипников — 0,05 мм, осевой у подшипника 697306КУ — не допускается.
Блокирующие кольца синхронизаторов . должны плотно садиться на конические поверхности шестерен. Для проверки посадки кольца на конусе венца шестерни наносят мягким карандашом несколько рисок по образующим конуса, расположив их равномерно по окружности. Затем надевают на коническую поверхность блокирующее кольцо и, прижимая его рукой, повертывают несколько раз. Если после этого риски окажутся стертыми не менее чем на 0,6 длины, посадку кольца можно считать достаточно хорошей.
Зазор между торцом каждого блокирующего кольца, надетого на коническую поверхность, и соответствующим венцом синхронизатора шестерни для новых колец должен быть равен 1,4...1,95 мм, а для колец, бывших в употреблении, не менее 0,6 мм. Если зазор меньше, следовательно, коническая поверхность блокирующего кольца изношена. При износе кольца притупляется резьба и кольцо плохо удаляет масло с конической поверхности шестерни.
В результате трение между кольцом и конической поверхностью шестерни будет недостаточно, чтобы эффективно уравнивать угловые скорости валов. У нового блокирующего кольца ширина резьбы на вершине равна 0,408...0,15 мм. Увеличение ширины более 0,3 мм не допускается.
Втулки шестерен 1, II, III и IV передач на рабочих поверхностях не должны иметь кольцевых рисок, забоин и следов бринелирования (вдавливания от роликов). При наличии одного из указанных повреждений втулку заменяют.
Детали дифференциала не должны иметь задиров, прихватов и забоин. Имеющиеся забоины и небольшие прихваты требуется зачистить. При значительном повреждении детали ремонту не подлежат.
Зубья шестерен коробки передач и главной передачи не должны иметь выкрашиваний и наволакиваний металла на поверхности. Шестерни заменяют, если указанные повреждения занимают 15% поверхности зуба хотя бы на двух зубьях шестерен.

Рис. 91. Расположение пятна контакта на зубьях ведомой шестерни главной передачи: а — пятно на стороне зуба, соответствующей движению автомобиля вперед; б — то же назад; в — пятно на внешней половине зуба; г — пятно выходит на внешний торец зуба; д — пятно раздвоено; е — пятно выходит на верхнюю кромку зуба; ж — пятно расположено у основания зуба; недопустимо также бегающее пятно контакта (восьмерка), вызываемое короблением зуба.
Контакты шлицев муфты переключения III и IV передач и внутренних шлицев ведомой шестерни заднего хода с соответствующими зубьями венцов синхронизатора шестерен не должны выходить за кромки зубьев. В противном случае заменяют одну из сопрягаемых или обе детали.
При наличии забоин и сколов на торцах шлицев муфты переключения III и IV передач и ведомой шестерни заднего хода муфту и шестерню следует заменить.
Замки нижнего и верхнего штоков и толкатель замков блокировочного устройства для предотвращения включения сразу двух передач не должны иметь износа по длине более 0,1 мм.
Манжета ведомого вала, чехол ползуна, уплотнительные кольца под привод спидометра и под корпусы подшипников дифференциала при потере эластичности или разрушении необходимо заменить.
Сборка коробки передач и дифференциала.
Работы выполняют в последовательности, обратной разборке. При этом все рабочие поверхности смазывают маслом для двигателя, а уплотняющие поверхности и прокладки уплотняющей пастой УН-25.
При сборке главной передачи ведущую шестерню необходимо установить относительно ведомой с учетом поправки на монтажное расстояние. В этом случае будет достигнуто правильное расположение пятна контакта зубьев и его желательная форма (рис. 91).
Для правильной установки ведущей шестерни главной передачи по контрольному размеру необходимо выполнить следующие операции (рис. 92):
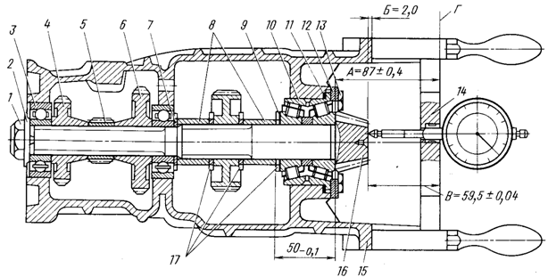
напрессовать на хвостовик ведущей шестерни 16 главной передачи, который является ведомым валом коробки передач, конический упорный подшипник 10-, установить регулировочную прокладку II и прокладку 9 с шайбой i7, выдержав размер 49,9...50 мм;
регулировочные прокладки 9 установить между внутренней обоймой подшипника и упорной шайбой;
установить в картер коробки передач детали, указанные на рис. 92, и запрессовать ведомый вал с подшипником в гнезда картера. Установить крышку 12 упорного подшипника и закрепить четырьмя болтами 13 (момент затяжки 3,2...4,4 кгс- м). Затянуть гайку 1 ведущего вала главной передачи (момент затяжки 20...25 кгс- м);
проверить контрольный размер А. Для измерения фактического размера В при сборке ведущей шестерни главной передачи следует применить контрольное приспособление (рис. 93). С помощью индикатора, настроенного на размер В (см. рис. 92), определить размер от торца ведущей шестерни до оси расточки под корпусы подшипников дифференциала. В соответствии с полученным фактическим размером В подобрать необходимое количество прокладок II.
Пример. Если на торце ведущей шестерни нанесено число «—0,1», это означает, что высота головки шестерни больше ее номинального размера на 0,1 мм и контрольный размер В должен быть меньше на 0,1 мм, т. е. 59,5—0,1—59,4 мм. Если поправка «+0,1», размер должен быть больше, т. е. 59,5+0,1—59,6 мм.
В случае отсутствия контрольного приспособления монтажное расстояние В допускается установить и проверить по размеру Б-=2 мм. Для этого требуется установить картер коробки передач, собранный с деталями, согласно рис. 92 вертикально, в гнезда под корпуса подшипников дифференциала уложить оправку диаметром 40...60 мм длиной 190...200 мм. При помощи набора измерительных плиток или щупа проверить, а при необходимости установить размер Б, выполнив операции, как указано выше.

Рис. 92. Установка ведущей шестерни главной передачи: 1 — гайка ведущего вала главной передачи; 2 — отгибная шайба; 3 — задний подшипник; 4 — ведомая шестерня IV передачи; 5 — ведущая шестерня привода спидометра; 6 — ведомая шестерня III передачи; 7 — упорная шайба ведомой шестерни II передачи; 8— распорные втулки шестерен; 9, 11 — регулировочные прокладки; 10 — передний упорный подшипник; 12 — крышка подшипника; 13 — болт; 14 — контрольное приспособление для подбора толщины регулировочных шайб; 15 — картер коробки передач; 16 — ведущая шестерня главной передачи; 17 — упорные шайбы шестерен передач; Г — ось отверстия диаметром 1150,035 мм.
Проверив контрольный размер А, сборку главной передачи следует продолжать в следующем порядке (см. рис. 92):
отвернуть гайку 1 и болты 13 крышки упорного подшипника и, слегка постукивая мягкой выколоткой, вынуть ведущую шестерню 16 главной передачи:
проверить осевое перемещение шестерен передач переднего хода на втулках, которое должно быть 0,258...0,394 мм;
смазать игольчатые подшипники смазкой № 000 или литол-24 и собрать ведомые шестерни 1 и II ведущей III и IV передач с игольчатыми подшипниками и подобранными втулками; укомплектовать наборы, состоящие (см. рис. 84): из упорной шайбы и ведущей шестерни 7 передачи III с кольцом синхронизатора, ступицы муфты синхронизатора III и IV передач в сборе с муфтой 5, пружинами и сухариками, упорной шайбы и ведущей шестерни 4 передачи IV с кольцом синхронизатора,
из упорной шайбы 9 и ведомой шестерни 27 передачи 1 с кольцом 22 синхронизатора, ступицы муфты синхронизаторов в сборе с ведомой шестерней 25 заднего хода, пружинными кольцами 24 и сухариками 23, упорной шайбы и ведомой шестерни 21 передачи II с кольцом синхронизатора. При установке колец синхронизаторов проследить, чтобы сухарики муфты синхронизаторов зашли в прорези кольца синхронизатора;

Рис. 93. Контрольное приспособление для подбора толщины регулировочных шайб: 1 — корпус; 2 — ручка; 3 — индикатор; 4 — основание.

Рис. 94. Оправка для удержания шестерен: 1 — оправка, 2 — ведомая шестерня IV передачи, 3 — ведущая шестерня привода спидометра; 4 — ведомая шестерня III передачи.
Рис. 95. Установка промежуточного вала
установить ведомые шестерни III и IV передач и ведущую шестерню спидометра в картере коробки на оправку (рис. 94). Напрессовать (см. рис. 84) на промежуточный вал 3 роликовый подшипник 8, установить упорную шайбу, втулку шестерен III передачи и игольчатый подшипник;
ввести в картер набор ведущих шестерен III и IV передач и установить промежуточный вал коробки передач (рис. 95); ввести набор из шестерен 1 и II передач в картер коробки, при этом шестерню 1 передачи вводить последней;
слегка покачивая за ведущую шестерню главной передачи и поправляя набор, совместить шлицы на валу со шлицами в ступице и вставить вал во внутреннюю обойму шарикового подшипника;
выталкивая оправку, совместить шлицы вала со шлицами шестерен: ведомых III и IV передач и ведущей привода спидометра;
запрессовать (см. рис. 84) упорный подшипник 29 с ведущей шестерней 15 в гнездо картера, направив лыску на его упорном буртике к гнезду подшипника 12 ведущего вала II. Установить крышку 3/ и закрепить ее болтами 42,
вручную включить III и II передачи, затянуть гайки 39 промежуточного и ведомого валов. Проверить легкость вращения шестерен валов коробки передач и застопорить отгибными шайбами 38 на две грани каждую гайку 39,
вставить (см. рис. 85) шлицевый вал 30 с промежуточными шестернями 33 и 31 заднего хода в картер, установить шайбу 27, выдержав зазор между внутренней перегородкой картера каробки передач и торцом вала 0,3...0,5 мм, запрессовать ось 28 шлицевого вала, направив паз в сторону ведущего вала;
вставить вилку 1 и II передач в паз ведомой шестерни заднего хода и вилку III и IV передач в паз муфты включения III и IV передач. Поставить штоки 26 и 23 переключения передач переднего хода. При установке штока 23 переключения III и IV передач обратить внимание на установку замка 25 нижнего штока и толказамков;
собрать штоки с вилками и затянуть болты (момент затяжки 3,6...5,0 кгс- м). Установить (см. рис. 84) ведущий вал 11 с подшипником, поставить крышку 13 заднего подшипника и затянуть ее болты (момент затяжки 1,8...2,5 кгс' м);
установить (см. рис. 85) кронштейн 8 в сборе с рычагом 10 и поводком // включения заднего хода и затянуть болты 9,
установить ползун переключения передач со штоком в сборе и завести хвостовик ползуна в паз штока вилки 1 и II передач. Установить замок 22 верхнего штока, шток 19 включения заднего хода в картер и поводок 11 на шток, закрепив его (момент затяжки 3,6...5,0 кгс- м);
установить шарики /7 фиксаторов, пружины 16, смазать прокладку 15 уплотняющей пастой, установить крышку 14 фиксаторов и закрепить ее гайками 13.
Сборку дифференциала рекомендуется выполнять в следующей последовательности:
установить (см. рис. 87) опорную шайбу 13 шестерни полуоси в корпус дифференциала, шестерню 3 полуоси, сателлиты 12 и запрессовать палец /7 сателлитов;
после запрессовки замерить индикатором осевое перемещение шестерни полуоси, которое должно быть от нуля до 0,35 мм. Указанное перемещение регулируют подбором опорной шайбы необходимой толщины: надеть на корпус дифференциала ведомую шестерню // главной
передачи, установить в крышку 4 дифференциала опорную шайбу 13 и вторую шестерню полуоси. Крышку дифференциала закрепить через одно отверстие четырьмя болтами 9 с пружинными шайбами и также замерить осевое перемещение второй полуосевой шестерни;
проверить момент провертывания полуосевых шестерен, который должен быть не более 2 кгс- м. При необходимости разобрать дифференциал и заменить опорные шайбы 13 для достижения указанного разбега и усилия провертывания. Поставить недостающие четыре болта с пружинными шайбами и затянуть окончательно все болты 9 (момент затяжки 7...9 кгс- м);
установить пружинные кольца 16 на палец сателлитов дифференциала, напрессовать внутренние обоймы конических подшипников на корпус и крышку дифференциала, установить дифференциал в сборе с ведомой шестерней главной передачи в картер коробки передач:

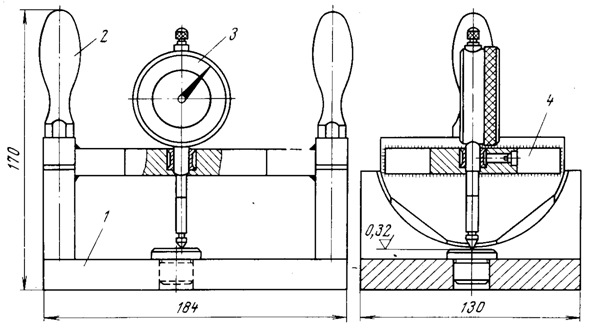
Рис. 96. Приспособление для проверки зазора в шестернях главной передачи
смазать рабочую кромку сальника и шейку ведущего вала маслом, а место разъема — уплотняющей пастой УН-25, соединить картер сцепления с картером коробки передач и затянуть гайки (момент затяжки 4,4...6,2 кгс- м);
установить наружные обоймы конических подшипников в корпусы 8 подшипников дифференциала и завернуть регулировочные гайки 6. Надеть резиновые уплотнительные кольца 7 и установить корпусы подшипников в гнезда картера так, чтобы их косые отверстия находились в верхнем положении;
отрегулировать зазор в шестернях главной передачи, который должен быть 0,08...0,22 мм. Для этого необходимо завернуть регулировочную гайку, расположенную со стороны ведомой шестерни, до обеспечения зазора 0,08...01 мм. При этом противоположную гайку отвернуть на 1...1,5 оборота. Зазор удобно проверять при помощи контрольного приспособления с индикаторной головкой (рис. 96). Приспособление установить корпусом на корпус дифференциала, а его тягой 4 через отверстие в шестерне полуоси захватить палец сателлитов и затянуть гайку 3. Прижать упор 5 к корпусу подшипника так, чтобы ус упора упирался в ножку индикатора 2. Покачивая рукоятку /, определить по движению стрелки индикатора зазор в зубьях главной передачи. Завернуть противоположную регулировочную гайку до получения зазора на том же зубе 0,12...0,17 мм. Вращение дифференциала при этом должно быть свободным, изменение зазора при переходе от одного зуба к другому — плавным, разница в боковом зазоре для двух зубьев, расположенных рядом, не должна быть более 0,05 мм. Общее изменение зазора не должно превышать 0,08 мм;
|
Из за большого объема этот материал размещен на нескольких страницах:
1 2 3 4 5 6 7 8 9 10 11 12 13 14 15 16 17 18 19 20 21 22 |


