Как заработать свои первые деньги?
Слушайте больше на Подкасте Михалыча для молодежи
Глава 8
РАЗМЕЩЕНИЕ И КРЕПЛЕНИЕ МАШИН
НА ГУСЕНИЧНОМ ХОДУ
1 Общие положения
В настоящей главе устанавливаются способы размещения и крепления на платформах машин на гусеничном ходу.
1.1 Машины на гусеничном ходу (далее "машины"), например: тракторы; бульдозеры; кусторезы; трубоукладчики; экскаваторы роторные и цепные траншейные, одноковшовые; грузоподъемные краны размещают и крепят при соблюдения следующих условий (рисунок 1):
— высота центра тяжести hц машины над полом платформы не должна превышать 1,5 м;
— кратчайшее расстояние от крайней точки опирания гусениц машины до направления действия центра силы тяжести машины должно находиться в соотношении L1 ³ 1,25hцт при L2 ³ L1;
— кратчайшее расстояние по ширине платформы от наружных кромок гусениц до направления действия центра силы тяжести машины должно находиться в соотношении В1 ³ 0.8hцт при В2 ³ В1;
Рисунок 1
Допускаемые значения массы машины Q и боковой наветренной поверхности машины Fбок (за исключением случаев, указанных в подпункте 2.3 настоящей главы) приведены в таблице 1.
Таблица 1
Тип машиныс рабочим оборудованием | Параметры машины, не более | |
Q, т | Fбок, м2/т | |
Тракторы | 30,0 | 2,0 |
Бульдозеры, кусторезы | 45,0 | 2,0 |
Трубоукладчики | 24,0 | 1,0 |
Роторные и траншейные экскаваторы | 52,5 | 2,0 |
Одноковшовые экскаваторы | 42,0 | 1,0 |
Грузоподъемные краны | 42,0 | 1,0 |
Размещение и крепление машин, не отвечающих указанным в настоящем пункте условиям, осуществляются в соответствии МТУ или НТУ. При разработке МТУ и НТУ должны учитываться требования настоящей главы.
1.2 Подготовка машин к перевозке осуществляется в соответствии с правилами перевозок автотракторной и сельскохозяйственной техники на железнодорожном транспорте и ГОСТ "Подготовка генеральных грузов к транспортированию".
1.3 При предъявлении к перевозке предусмотренных настоящей главой машин, способы размещения и крепления которых в соответствующих пунктах отмечены звездочкой (*), грузоотправитель обязан представить эскиз их размещения и крепления в соответствии с требованиями главы 1 настоящих ТУ.
1.4 Перед погрузкой, в процессе размещения машины на платформе грузоотправитель обязан выполнить работы, исключающие возможность смещения и разворота навесного оборудования, вращающихся и смещающихся узлов, деталей машины в процессе перевозки путем застопоривания их фиксаторами и крепления их растяжками или упорами.
Крепление навесного оборудования может выполняться, например, винтами-фиксаторами, проволочными растяжками, установкой соответствующих рукояток и выключателей в положение, обеспечивающее неподвижное состояние оборудования; либо закреплением отдельных деталей и узлов навесного оборудования с помощью прокладок, упоров, проволочных увязок и т. п.
1.5 Погрузка и выгрузка машин на гусеничном ходу производится грузоподъемными устройствами или своим ходом с торцовой или боковой погрузочной эстакады, оборудованной пандусом. Не допускается осуществлять заезд на платформу и съезд с нее машин при не полностью открытых вниз бортах платформы.
Для погрузки и выгрузки машин самоходом применяются металлические или деревометаллические инвентарные переездные мостки, а в местах разворота гусениц предварительно укладывают стальные листы толщиной не менее 4мм.
1.6 После размещения машины на платформе все ее механизмы должны быть заторможены. У машин с приводом от двигателя внутреннего сгорания необходимо рычаг коробки передач поставить на первую передачу. Тягач должен быть заторможен ручным тормозом.
Тормозные рычаги машин (тяги и другие устройства управления тормозами) должны быть увязаны мягкой проволокой диаметром 2-3 мм в две нити так, чтобы в пути следования не могло произойти случайное самоотпускание тормозов.
1.7 Машины устанавливают непосредственно на пол платформы симметрично продольной и поперечной плоскости симметрии вагона; несколько машин размещают в один ряд так, чтобы более тяжелая моторная сторона машин была повернута к середине платформы. При этом выступающие детали машин и их навесного оборудования не должны выходить за пределы концевых балок платформы более, чем на 400 мм.
Суммарная масса устанавливаемых на платформу машин и элементов крепления не должна превышать трафаретной грузоподъемности вагона.
1.8* Разрешается размещать на одну платформу машины различных типов при условии выполнения требований главы 1 настоящих ТУ касающихся допускаемых смещений общего центра тяжести грузов относительно продольной и поперечной плоскостям симметрии вагона.
1.9* Разрешается грузить машины в пределах льготного габарита погрузки предусмотренного в главе 1 настоящих ТУ.
2 Требования к креплению машин на платформе
Машины на платформах закрепляют проволочными растяжками и обвязками, упорными и распорными брусками. Бруски изготовляют из древесины хвойных и лиственных пород. Рекомендуемая форма упорных брусков показана на рисунке 2.

Рисунок 2
Запрещается использование березы, осины, ольхи, липы и сухостойной древесины всех пород.
Крепление машин должно иметь одинаковую несущую способность в обе стороны. При разной массе установленных на платформу машин общие для соседних машин элементы крепления (например, упорные и распорные рамы) выбирают, исходя из массы более тяжелой машины.
При передаче продольной нагрузки на торцевой борт платформы, его необходимо подкреплять двумя короткими деревянными стойками.
Количество и длина брусков определяется в зависимости от размеров ходовых частей машины, ее массы, а также наличия на деревянном полу платформы места для их установки. Длина брусков должна обеспечивать возможность забивания необходимого количества гвоздей при соблюдении нормативных расстояний между ними в соответствии с требованиями главы 1 настоящих ТУ.
При установке упорных и распорных деревянных брусков бóльшее количество гвоздей забивают в бруски, расположенные вдоль вагона, задействуя для крепления возможно бóльшее число досок настила пола. Однотипные бруски прибивают одинаковым количеством гвоздей.
Распорные конструкции из брусков в виде рам устанавливают по месту, в распор между машинами или между машиной и торцевыми бортами платформы. При невозможности прибить отдельные бруски на платформах с дерево-металлическим полом, распорную раму собирают с помощью строительных скоб или накладных досок толщиной не менее 25 мм и гвоздей диаметром 4,5 мм ¾ по 2 гвоздя в соединение. Длина продольных распорных брусков, которые невозможно прибить к полу платформы из-за металлического листа, не должна превышать 1500 мм.
Бруски, а также основания подставок под стрелу и противовес крана, одноковшового экскаватора, прибивают к полу платформы гвоздями диаметром не менее 6 мм и длиной, превышающей высоту бруска не менее, чем на 50 мм.
2.1 После размещения машины на вагоне каждую ее гусеницу в продольном направлении закрепляют с двух сторон упорными поперечными брусками, устанавливаемыми вплотную к тракам. Длина бруска должна быть не менее ширины гусеницы (рисунок 3) или ширины машины по тракам (рисунок 4), где это необходимо по условиям размещения гвоздей.

Рисунок 3
а – траки гладкие; б – траки с зацепами (выступами);
1 – брусок поперечный; 2 – брусок продольный; 3 – гвоздь; 4 – скоба строительная

Рисунок 4
а) – ширина машины меньше ширины платформы;
б) – ширина машины больше ширины платформы;
1 – брусок поперечный; 2 – брусок продольный
Бруски 1 должны подгоняться по месту и плотно прилегать к тракам гусениц по всей их ширине, при этом они не должны упираться в острие гребней траков. Каждый короткий брусок закрепляют к полу платформы четырьмя гвоздями 3 диаметром не менее 6 мм, а один длинный брусок— шестью гвоздями.
Напротив каждой гусеницы вплотную к упорному бруску устанавливают продольные бруски 2 сечением не менее 100´100 мм: при ширине гусеницы менее 400 мм устанавливают один-два продольных бруска, при большей ширине—три. Длина брусков определяется возможностью забивки расчетного количества гвоздей (таблица 2), работающих в одном направлении.
Таблица 2
МассаМашины (тягача), т | До 12 вкл. | свыше 12,1 до 18,0 вкл. | свыше 18,1 до 22,0 вкл. | свыше 22,1 до 26,0 вкл. | свыше 26,1 до 30,0 вкл. |
Общее количество гвоздей в одном продольном направлении, шт. | 44 | 86 | 100 | 126 | 160 |
2.2 Машины, имеющие гусеницы с гладкими траками, допускается крепить в продольном направлении не менее чем двумя продольными упорными брусками (рисунок 5) сечением не менее 100´100 мм. Для большей устойчивости их укладывают широкой стороной на пол и затесывают с торца по площади контакта с траком гусеницы на высоту не менее 40 мм. Рекомендуемые формы торцов упорных брусков показаны на рисунке 6.
Рисунок 5 |
|
Рисунок 6 |
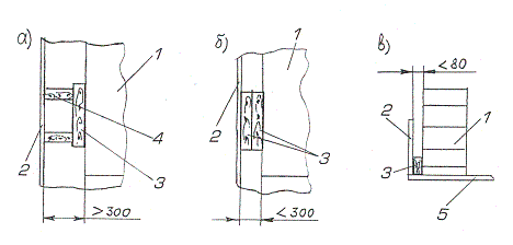
2.3 Для закрепления машин от поперечного смещения на платформе с открытыми бортами вдоль каждой гусеницы, вплотную к ней с внутренней стороны укладывают по одному упорному бруску сечением не менее 100´100 мм и длиной, равной опорной части гусеницы (рисунок 7 а, б). Допускается установка упорного бруска, состоящего из двух частей по длине (рисунок 7 в, г). Длина продольных брусков, укладываемых напротив ведущих и направляющих звездочек вдоль внутренних сторон обеих гусениц, должна быть не менее 600 мм.

Рисунок 7
Между продольными брусками длиной до 2000 мм (рисунок 7 а, б), в распор устанавливают не менее двух, а при большей длине, — не менее трех распорных брусков того же сечения, каждый из которых закрепляют к полу гвоздями диаметром 6 мм. Распорные бруски размещают не ближе 200 мм от концов продольных упорных брусков.
Допускается вместо поперечных распорных брусков устанавливать только продольные упорные бруски того же сечения (рисунок 7 д, е, ж).
Общее количество гвоздей для крепления груза в поперечном направлении определяют в зависимости от массы машины по таблице 3.
Таблица 3
Масса машины (тягача), т | До 12 вкл. | свыше 12,1 до 18,0 вкл. | свыше 18,1 до 22,0 вкл | свыше 22,1 до 26,0 вкл. | свыше 26,1 до 30,0 вкл. |
Общее количество гвоздей в одном поперечном направ-лении, шт. | 12 | 20 | 34 | 48 | 70 |
Для размещения расчетного количества гвоздей число распорных брусков может быть увеличено.
2.4 В случае невозможности забить гвозди в упорные бруски, непосредственно примыкающие к тракам, разрешается забивать их в бруски, укладываемые перпендикулярно к упорным. Примыкающие перпендикулярно друг к другу бруски в этом случае должны иметь одинаковое сечение и надежно скрепляться между собой строительными скобами.
2.5 При размещении машин на платформе с закрытыми боковыми бортами для закрепления от поперечного смещения вдоль каждой гусеницы с внешней стороны, напротив клиновых запоров или стоечных скоб укладывают (рисунок 8) не менее двух упорных брусков 3 сечением 100´100 мм и длиной не менее 500 мм.

Рисунок 8
а, б – вид сверху; в – вид с торца;
1 – гусеница; 2 – боковой борт платформы; 3 – брусок продольный; 4 – брусок поперечный;
5 – пол платформы
В распор между продольным бруском и боковым бортом платформы устанавливают по два распорных бруска 4 высотой не менее 60 мм (рисунок 8 а). При расстоянии между гусеницей машины и боковым бортом платформы менее 300 мм распорные бруски устанавливают вдоль борта враспор между упорным бруском и бортом, выбирая ими зазор (рисунок 8 б, в).
Высота продольных брусков для машин массой до 12 т. с гладкими траками должна быть не менее 50 мм, а в остальных случаях для любых траков—100 мм. Каждый брусок 3,4, по возможности, закрепляют к полу не менее, чем двумя гвоздями диаметром 5 и длиной 150 мм. При массе машины свыше 18,1 т боковые борта платформы обязательно подкрепляют короткими деревянными стойками.
Общее количество гвоздей для крепления брусков между гусеницей и закрытым бортом платформы определяют в зависимости от массы машины по таблице 4.
Таблица 4
Масса машины (тягача), т | свыше 10,1 до 12,0 вкл. | свыше 12,1 до 14,0 вкл. | свыше 14,1 до 16,0 вкл. | свыше 16,1 до 18,0 вкл. | свыше 18,1 до 20,0 вкл. | свыше 20,1до 22,0 вкл. | свыше 22,1 до 24,0 вкл. | свыше 24,1 до 26,0 вкл. | свыше 26,1 до 28,0 вкл. | свыше 28,1 до 30,0 вкл. |
Общее количество гвоз-дей в одном попе-речном направ-лении (стойки / без стоек), шт | -/6 | -/16 | -/22 | -/30 | 14/38 | 18/48 | 26/58 | 34/64 | 42/70 | 48/76 |
2.6 Для крепления машин используются растяжки и обвязки в соответствии с требованиями главы 1 настоящих ТУ. Длина растяжек не должна превышать 2,5 м.
Растяжки закрепляют одним концом за стоечные скобы и опорные кронштейны (при наличии в них отверстий) с торцовой стороны платформы, а другим—с надежной фиксацией за буксировочные крюки, серьги (проушины), отверстия в раме машины, звездочки или траки гусениц, диски ротора и другие детали машин и их рабочего оборудования, прочность которых должна быть не ниже прочности растяжек, а конструкция—не повреждать нити растяжек.
2.7 При размещении машин с демонтированным рабочим оборудованием или при опирании его на пол платформы с противоположной стороны, под корпус машины (например, раму, противовес кранов и одноковшовых экскаваторов) устанавливают высотой по месту, устойчивую от опрокидывания подставку из брусьев сечением 150´150 мм в виде козел (рисунок 9 а) или из брусков сечением не менее 100´100 мм в виде квадратного или прямоугольного колодца со стороной не менее 400 мм (рисунок9 б).
Рисунок 9
а – подставка в виде козел; б – подставка в виде колодца;
1 – брус; 2 – доска; 3 – скоба строительная; 4 – шпилька (болт); 5 – гвоздь.
Бруски брусья 1 в подставке должны быть надежно скреплены между собой шпильками болтами 4 диаметром не менее 16 мм по одной (единице) на один узел соединения или строительными скобами 3 по одной или две на одно соединение двух элементов. Подставку закрепляют к полу вагона восемью гвоздями диаметром 6-8 мм.
В подставках предназначенных под место соединения стрелы экскаватора с рукоятью лопаты верхний опорный брус обшивают кровельной сталью.
2.8 Многооборотное крепление применяют при размещении и креплении на платформе машин на гусеничном ходу, имеющих:
-массу отдельных единиц в сборе без сменного оборудования и запасных частей свыше 24 до 45 т;
-наветренную поверхность машины с боковой стороны не более 1 м2 на одну тонну массы груза;
-высоту центра тяжести от опорной поверхности не более 1,41 м.
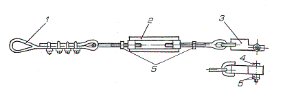
2.8.1.Многооборотное крепление состоит из инвентарных растяжек и струбцин. Инвентарная растяжка (рисунок 10) включает в себя канат 1 с концевой петлей, талреп 2 и стойку 3.

Рисунок 10
1 – канат диаметром 24 мм, ГОСТ 2688, разрывное усилие не менее 19500 кгс; 2 – талреп типа 6,3 УУОС ГОСТ 9690; 3 – стойка; 4 – болт; 5 – гайка (контргайка).
Каждую машину закрепляют не менее чем восемью инвентарными растяжками. Для этого стойки 3 инвентарных растяжек устанавливают в стоечные скобы платформы и фиксируют болтами 4, а свободные концевые петли 1 закрепляют за грузовые и буксировочные приспособления машины. Необходимое натяжение растяжек достигается путем вращения муфты талрепа 2. Для предотвращения ослабления растяжки на талрепе затягивают контргайки 5 (рисунок 10)
При применении инвентарных растяжек грузоотправитель обязан руководствоваться правилами устройства и безопасной эксплуатации грузоподъемных кранов и требованиями главы 1 настоящих ТУ. Растяжки должны быть испытаны на стендах (приборах), имеющих аттестацию, снабжены клеймом или прочно прикрепленной металлической биркой с указанием номера, грузоподъемности и даты испытания.
2.8.2 Кроме крепления растяжками каждую гусеницу машины закрепляют не менее, чем двумя струбцинами (рисунок 11).

Рисунок 11
1 – упор внутренний; 2 – упор внешний; 3 – гайка (контргайка)
Для этого струбцину укладывают средней частью между шипами гусеницы у крайних точек опирания, захватывают гусеницу с внутренней стороны упором 1, а внешний упор 2 прижимают к боковой балке платформы, после чего закручивают гайку и контргайку 3.
2.9 * Запасные гусеницы машин сворачивают, увязывают и размещают на свободной от машины площади пола платформы по возможности симметрично продольной плоскости симметрии вагона и закрепляют с двух сторон упорными брусками сечением 100´100 мм и длиной, равной диаметру рулона, каждый из которых прибивают девятью гвоздями диаметром 6 мм. Рулоны гусениц закрепляют дополнительно четырьмя растяжками из проволоки диаметром 6 мм в четыре нити за стоечные скобы платформы.
2.10 Ящики с запасными частями, инструментом и приспособлениями (далее - ЗИП), размещаемые на свободной площади пола вагона, закрепляют в порядке предусмотренном главой 5 настоящих ТУ.
3 Размещение и крепление тракторов, бульдозеров, кусторезов
Тракторы, бульдозеры, кусторезы размещают на платформе без подкладок симметрично относительно ее продольной плоскости симметрии (рисунок 12).

Рисунок 12
1 – брусок для крепления от продольных смещений; 2 – брусок для крепления от поперечных смещений; 3 – растяжка
3.1 Машины массой менее 30 т закрепляют упорными брусками в продольном и поперечном направлениях в соответствии с требованиями подпунктов 2.1-2.5 настоящей главы. Сечение брусков, непосредственно примыкающих к тракам, принимают в зависимости от массы машин:
До 12 т включительно - | Ширина b³150 мм, высота h³75* мм; |
Свыше 12 до 18 т включительно - | b³180 мм, h³100* мм; |
Свыше 18 т - | b³200 мм, h³180 мм. |
*)Для машин массой менее 18 т траки которых имеют гребни, высота брусков (h) (рисунок 13) должна быть увеличена на 50 мм.

Рисунок 13
1 – брусок для крепления от продольных смещений; 2 – брусок для крепления от поперечных смещений; 3 – растяжка
Каждую машину дополнительно закрепляют растяжками из проволоки диаметром 6 мм. Параметры растяжек в зависимости от массы машины приведены в таблице 5.
Таблица 5
Масса машины (тягача), т | Кол-во растяжек / ни-тей в растяжке, шт. | Масса машины (тягача), т | Кол-во растяжек / ни-тей в растяжке, шт. |
До 6,0 вкл. | 4 / 4 | свыше 18,1 до 24,0 вкл. | 8 / 6 |
Свыше 6,1 до 12,0 вкл | 4 / 6 | свыше 24,1 до 30,0 вкл. | 8 / 8 |
Свыше 12,1 до 18,0 вкл. | 8 / 4 |
3.2 Одиночную машину массой свыше 30 до 45 т закрепляют (рисунок 14) многооборотным креплением в соответствии с требованиями подпункта 2.8 настоящей главы — четырьмя струбцинами 4 за гусеницы и двенадцатью растяжками 2 за грузовые и буксировочные приспособления машины.
Рисунок 14
1 – талреп; 2 – растяжка; 3 – струбцина
Рисунок 15
1 – бульдозер; 2 – ящик с ЗИП; 3 – брусок от продольных смещений; 4 – подставка; 5 – брусок от продольных смещений; 6 – брусок крепления ЗИП; 7 – растяжка
3.3 Несъемное навесное оборудование машин (отвалы кусторезов и бульдозеров и др.) опирают на специальные подставки на полу платформы (рисунок 16) или фиксируют в транспортном положении (рисунок 17).

Рисунок 16
1 – брусок от продольных смещений; 2 – растяжка; 3 – брусок от поперечных смещений;
4 – подставка специальная.

Рисунок 17
1 – брусок от продольных смещений; 2 – брусок от поперечных смещений;
3 – растяжка
Демонтированное навесное оборудование (рисунок 18) при размещении скрепляют между собой проволокой диаметром 6 мм в две нити и закрепляют четырьмя растяжками в четыре нитей за стоечные скобы платформы в соответствии с требованиями подпунктов 2.6 и 2.7 настоящей главы.

Рисунок 18
1 – брусок от продольных смещений; 2 – брусок от поперечных смещений;
3 – растяжка, 4 - увязка
4 Размещение и крепление трубоукладчиков
Тягач (рисунок 19) и демонтированное навесное оборудование трубоукладчика размещают на платформе таким образом, чтобы общий центр тяжести всего груза был расположен в соответствии с требованиями главы 1 настоящих ТУ.

Рисунок 19
1 – брусок от продольных смещений; 2 – растяжка; 3 – брусок от поперечных смещений.
4.1 От продольного и поперечного смещений тягач трубоукладчика закрепляют брусками и растяжками в соответствии с требованиями подпунктов. 2, 2.10 настоящей главы. Сечение брусков, непосредственно примыкающих к гусеницам, должно быть не менее 150´200 мм.
Необходимое число гвоздей для брусков, обеспечивающих противодействие в одном направлении, а также количество растяжек и число нитей проволоки для крепления тягача определяют по таблице 6.
Таблица 6
Масса тягача, т | Число гвоздей для крепления брусков, обеспечивающих противодействие, шт. | Кол-во растяжек, шт. | Число нитей проволоки в | |
в продольном | В поперечном | растяжке, шт. | ||
До 17,0 вкл. | 80 | 26 | 4 | 8 |
Свыше 17,1 до 24,0 вкл. | 64 | 16 | 8 | 8 |
4.2 Грузовую стрелу закрепляют двумя растяжками из проволоки диаметром 6 мм в четыре нити. Стрелу контргруза закрепляют четырьмя, контргруз—шестью брусками. Сечение брусков 100´100 мм, длина—по месту. Бруски, работающие в одном направлении, закрепляют к полу 12-ю гвоздями диаметром 6 мм. Контргруз массой более 17 т дополнительно закрепляют двумя растяжками из проволоки диаметром 6 мм в четыре нити.
5 Размещение и крепление многоковшовых траншейных, роторных и цепных экскаваторов
На платформе многоковшовые траншейные роторные и цепные экскаваторы в зависимости от их конструкции и габаритных размеров размещают:
—с неснимаемым рабочим оборудованием, опущенным на подкладки на полу платформы (рисунок 20);

Рисунок 20
1 – брусок от продольных смещений; 2 – брусок от поперечных смещений; 3 – растяжка;
4 – подкладка деревянная под ротор; 5 – брусок крепления зачистного башмака.
— с частично отсоединенным рабочим органом, размещенным на подкладках на полу платформы (рисунки 21 и 22);

Рисунок 21
1 – брусок от продольных смещений; 2 – брусок от поперечных смещений; 3 – растяжка;
4 – лист стальной под ротор; 5 – брусок крепления опорного колеса.

Рисунок 22
1 – брусок от продольных смещений; 2 – брусок от поперечных смещений; 3 – растяжка;
4 – лист стальной под ротор; 5 – брусок крепления опорного колеса.
—с полностью демонтированным навесным рабочим оборудованием, размещенным вслед за тягачом на подкладках на полу платформы (рисунок 23).

Рисунок 23
1 – брусок от продольных смещений; 2 – брусок от поперечных смещений; 3 – растяжка;
4 – лист стальной под ротор; 5 – брусок крепления опорного колеса; 6 – платформа прикрытия с попутным грузом.
Если рабочее оборудование машины выходит за пределы торцового борта платформы более чем на 400 мм, а также при невозможности размещения машины с демонтированными деталями и узлами на одной платформе, груз размещают на сцепе платформ в соответствии с главой 10.
Тягачи, размещаемые по схемам рисунковот продольных и поперечных смещений закрепляют брусками 1,2. и растяжками 3 в соответствии с требованиями подпунктов 2.1-2.6, 2.10 настоящей главы. Сечение брусков, непосредственно примыкающих к гусеницам, должно быть не менее 150´200 мм.
Количество гвоздей для крепления брусков, действующих в одном направлении, а также количество растяжек и число нитей проволоки в каждой растяжке для крепления машины или тягача, экскаватора определяют по таблицам 3 -5, 7 и 8 настоящей главы.
Таблица 7
Масса тягача, т | Кол-во гвоздей для крепления брусков, работающих в одном направлении, шт. | |
Продольном | Поперечном | |
До 14,0 вкл. | 44 | 10 |
свыше 14,1 до 20,0 вкл. | 86 | 14 |
свыше 20,1 до 22,0 вкл. | 100 | 18 |
свыше 22,1 до 28,0 вкл. | 126 | 54 / 95* |
95* - только для крепления тягача с массой 28 т
Таблица 8
Масса тягача, т | Кол-во растяжек, шт. | Число нитей проволоки в каждой растяжке, шт. |
До 17,0 вкл. | 8 | 4 |
свыше 17,1 до 22,0 вкл. | 8 | 6 |
свыше 22,1 до 28,0 вкл. | 8 | 8 |
Роторный экскаватор, погруженный по схеме рисунка 20 закрепляют от продольного и поперечного смещений 10-ю растяжками 3 из проволоки диаметром 6 мм в восемь нитей и брусками 1, 2, которые закрепляют к полу гвоздями диаметром 6 мм, работающими в одном направлении:
—от продольного перемещения — 100 гвоздями;
—от поперечного перемещения — 30 гвоздями.
Зачистной башмак ротора должен опираться на пол платформы, а ротор — на подкладку 4, собранную из брусков или досок толщиной не менее 40 мм, уложенную на деревянный пол вагона и прибитую к полу тремя гвоздями диаметром 6 мм. На металлический пол подкладку 4 не укладывают.
Зачистной башмак ротора ограждают с трех сторон брусками 5 сечением не менее 100´100 мм, каждый из которых прибивают четырьмя гвоздями диаметром 6 мм. Длина брусков устанавливается по месту в зависимости от размеров зачистного башмака.
Под ротор экскаваторов, погруженных по схемам рисунков 23 – 24, на платформе с деревянным полом подкладывают стальной лист 4 шириной не менее 400 мм, длиной не менее ширины ротора, толщиной 6 мм, который прибивают к полу платформы четырьмя гвоздями диаметром 6 мм.
Вплотную к ротору (рисунки 21 и 22), а также к установленному на пол платформы опорному колесу, укладывают по два поперечных и по два продольных упорных бруска 5 сечением 150´150 мм, длиной по месту, которые прибивают к полу вагона гвоздями диаметром 6 мм. Число гвоздей для крепления одного бруска зависит от массы рабочего органа (таблица 9).
Таблица 9
Масса рабочего органа, т. | Число гвоздей диаметром 6 мм для крепления одного бруска, шт. | |
Ротора | опорного колеса | |
До 4,0 вкл. | 4 | 6 |
свыше 4,1 до 12,0 вкл. | 10 | 8 |
свыше 12,1 до 24,5 вкл. | 17 | 10 |
От продольных смещений ротор по рисунку 23 закрепляют десятью упорными брусками 1 сечением 150´150 мм, длиной по месту, каждый из которых прибивают к полу платформы 14-ю гвоздями диаметром 6 мм.
От продольного и поперечного перемещений ротор, установленный рядом с тягачом и соединенный с ним (рисунки 21 и 22), крепят растяжками 3 из проволоки диаметром 6 мм. Число растяжек и нитей проволоки в каждой из них определяют по таблице 10.
Таблица 10
Масса ротора, т | Кол-во растяжек, шт. | Число нитей проволоки, шт. |
До 6,8 вкл. | 2 | 4 |
свыше 6,9 до 9,0 вкл. | 2 | 4 |
свыше 9,1 до 11,9 вкл. | 8 | 6 |
свыше 12,0 до 15,0 вкл. | 8 | 8 |
Ротор массой до 28 т, установленный на платформу отдельно от тягача (рисунок 23), закрепляют от продольных и поперечных смещений и опрокидывания 18-ю растяжками 3 из проволоки диаметром 6 мм в восемь нитей.
6 Размещение и крепление одноковшовых экскаваторов и кранов
Экскаваторы одноковшовые и краны в зависимости от их конструкции и габаритных размеров размещают (рисункина платформе вместе с неснимаемым или с частично демонтированным рабочим оборудованием.
Базовые части машины в сборе с поворотной платформой и ходовым оборудованием и закрепленными на ней механизмами и системами от продольных и поперечных смещений закрепляют брусками и растяжками в соответствии с требованиями подпунктов 2.1-2.6, 2.10 настоящей главы. Сечение брусков, непосредственно примыкающих к гусеницам, должно быть не менее 150´200 мм.
Количество гвоздей для крепления брусков, работающих в одном направлении, а также параметры растяжек для крепления шасси и поворотной платформы одноковшовых экскаваторов и кранов определяют по таблицам 3 -4 и 11 настоящей главы.
Таблица 11
Масса машины, т | Число гвоздей для крепления брусков, обеспечивающих противодействие, шт. | Кол-во растяжек, шт. | Число нитей проволоки в растяжке, шт. | |
в продольном | в поперечном | |||
До 25,0 вкл. | 40 | 12 | 12 | 8 |
Свыше 25,1 до 30,0 вкл. | 60 | 16 | 16 | 6 |
Свыше 30,1 до 40,0 вкл. | 64 | 20 | 16 | 8 |
Свыше 40,1 до 42,0 вкл. | 104 | 42 | 18 | 8 |
6.1 При поставке машин (например, с заводов-изготовителей на экспорт) в случаях, предусматривающих полное снятие рабочего оборудования, при размещении в вагоне таких машин их поворотную платформу дополнительно закрепляют растяжками из проволоки диаметром 6 мм в восемь нитей: четырьмя — со стороны противовеса и двумя — со стороны снятой стрелы.
Под хвостовую часть поворотной платформы (под противовес, если его не демонтируют) устанавливают подставку 1 в виде кóзел (рисунки 24, 25 и 28) или в виде прямоугольного колодца (рисунки 26 и 27).

Рисунок 24
1 – подставка под платформу поворотную; 2 – брусок от продольных смещений;
3 – брусок от поперечных смещений; 4 – растяжка; 5 – брус-прокладка;
6 – увязка; 7 – стойка стрелы


Рисунок 25
1- подставка под платформу поворотную; 2-брусок от продольных смещений;
2- брусок от поперечных смещений; 4-растяжка; 5- подставка под стрелу;
6-подкладка под ковш; 7-брус-прокладка; 8-обвязка.

Рисунок 26
1 – подставка под платформу поворотную; 2 – брусок от продольных смещений;
3 – брусок от поперечных смещений; 4 – растяжка; 5 – подставка под стрелу с рукоятью;
6 – подкладка под ковш; 7 – брус-прокладка; 8 - обвязка.

Рисунок 27
1 – подставка под платформу поворотную; 2 – брусок от продольных смещений;
3 – брусок от поперечных смещений; 4 – растяжка; 5 – подставка под стрелу;
6 – подкладка под ковш; 7 – брус-прокладка; 8 - обвязка.

Рисунок 28
1 – подставка под платформу поворотную; 2 – брусок от продольных смещений;
3 – брусок от поперечных смещений; 4 – растяжка.
Снятый противовес машины укладывают на пол платформы и закрепляют шестью упорными брусками сечением 100´100 мм. Каждый брусок прибивают к полу восемью гвоздями диаметром 6 мм.
Обратную лопату экскаватора демонтируют, рукоять с лопатой укладывают (рисунок 24) на пол под стрелой и крепят четырьмя растяжками из проволоки диаметром 6 мм в четыре нити. Между стрелой и рукоятью укладывают брус 5 размером 150´150´750 мм, который закрепляют к рукояти увязкой из проволоки диаметром 6 мм в две нити. Стрелу обратной лопаты опускают на брус 5 и закрепляют четырьмя растяжками 4 из проволоки диаметром 6 мм в восемь нитей. При этом торцовый борт должен быть откинут. Стойку стрелы 7 экскаватора опускают и закрепляют к направляющему блоку стрелы увязкой 6 из проволоки диаметром 6 мм в четыре нити.
6.2 Под ковш экскаватора с рабочим оборудованием прямая лопата (рисунок 25) укладывают две деревянные подкладки размерами 150´150´600 мм. Каждую подкладку закрепляют к полу платформы четырьмя гвоздями диаметром 6 и длиной 200 мм.
Чтобы исключить в процессе перевозки смещение рукояти прямой лопаты относительно стрелы, между стрелой и рукоятью, со стороны ковша устанавливают брус 7 (рисунки 25-27) размером не менее 150´150´600 мм, который крепят двумя увязками из проволоки диаметром 6 мм в две нити. Под стрелу устанавливают подставку 5 в виде кóзел в соответствии с требованиями подпункт 2.4.настоящей главы.
Рукоять с прямой лопатой закрепляют за ковш и стоечные скобы платформы двумя растяжками 4 из проволоки диаметром 6 мм в восемь нитей. Стрелу и рукоять прямой лопаты закрепляют обвязкой 8 и, за стрелу, двумя растяжками 4 из проволоки диаметром 6 мм в восемь нитей.
6.3 Решетчатую (крановую) стрелу экскаватора и его рабочее оборудование (драглайн или грейфер) частично демонтируют. Вставку укладывают (см. рис. 28) на пол платформы и закрепляют двумя растяжками 4 из проволоки диаметром 6 мм в четыре нити.
6.4 Снятое рабочее и сменное оборудование (грейфер, ковш драглайна, прямая лопата) укладывают на два бруса размерами 150´150´600 мм и закрепляют четырьмя растяжками из проволоки диаметром 6 мм в четыре нити за торцовые и боковые стоечные скобы платформы (рисунок 30). Каждый брусок закрепляют не менее чем двумя гвоздями диаметром 6 мм, длиной 200 мм.
Верхнюю часть стрелы с блоками укладывают на хвостовик стрелы, или на пол платформы и закрепляют к хвостовику четырьмя растяжками из проволоки диаметром 6 мм в две нити. Стрелу закрепляют (рисунок 30) за хвостовик двумя растяжками 4 из проволоки диаметром 6 мм в восемь нитей к стоечным скобам платформы.
7 Экскаваторы и краны, независимо от вида поставки, должны иметь стопор и отрегулированные тормоза поворотной части, закрепленные в рабочем положении, и навешенное или частично демонтированное рабочее оборудование и стрелу.
Экскаваторы и краны с неисправными тормозами и стопорными устройствами поворотной части размещают в разобранном виде со снятыми поворотной частью и рабочим оборудованием.





