Как заработать свои первые деньги?
Слушайте больше на Подкасте Михалыча для молодежи
Глава 12
РАЗМЕЩЕНИЕ И КРЕПЛЕНИЕ ГРУЗОВ В УНИВЕРСАЛЬНЫХ КОНТЕЙНЕРАХ
1 Общие положения
В Настоящей главе определяются условия и требования к размещению и креплению грузов в универсальных крупнотоннажных контейнерах типоразмеров 1Д номинальной массой брутто 10 т, 1СС и 1С номинальной массой брутто 20 и 24 т, 1АА и 1А номинальной массой брутто 30,5 т, а также в среднетоннажных контейнерах массой брутто 3,0 и 5,0 т.
1.1 Грузы должны предъявляться к перевозке отдельными единицами или в транспортных пакетах, сформированных на поддонах, размерами 800х1200 мм или 1000х1200 мм и высотой при двухъярусном размещении в контейнерах 1А, 1С и 1Д не более 1060 мм и в контейнерах 1АА и 1СС не более 1140 мм.
Транспортные пакеты должны быть прочно скреплены обвязками, термоусадочной пленкой или другими средствами, исключающими смещение единиц груза внутри пакета при перевозке, в том числе и относительно поддонов.
1.2 Размещение грузов в контейнерах необходимо производить таким образом, чтобы удельная нагрузка, приходящаяся на 1 см2 площади пола, не превышала 0,5 кгс для среднетоннажных и 1 кгс для крупнотоннажных контейнеров.
В целях снижения удельной нагрузки на пол контейнера необходимо применять подкладки. При этом подкладки должны быть прочно соединены с грузом, чтобы груз во время перевозки не мог переместиться относительно подкладок.
Если центр тяжести грузового места расположен посередине длины и ширины контейнера, то подкладки должны иметь одинаковые размеры. В случае, когда центр тяжести смещен по длине или ширине грузового места (или по длине и ширине одновременно), подкладка с той стороны, куда смещен центр тяжести, должна иметь соответственно увеличенную ширину. В таких случаях допускается применение одинаковых подкладок увеличенной ширины.
1.3 Нагрузка на пол контейнера от любого колеса погрузчика с грузом не должна превышать 2785 кгс. При этом ширина колеса должна быть не менее 180 мм, расстояние между осями двух колес одного моста (если мост содержит только два колеса) не менее 760 мм и площадь контакта шины каждого колеса с полом контейнера не менее 140 см2.
НЕ ДОПУСКАЕТСЯ перемещение по полу контейнера любых грузов волоком или кантованием.
1.4 Размещение грузов в контейнеры, подлежащих перевозке в прямом смешанном сообщении, должно производиться с учетом правил, действующих на соответствующих видах транспорта.
2 Требования к размещению и креплению грузов в крупнотоннажных контейнерах
2.1 Груз в контейнере должен размещаться симметрично его продольной и поперечной плоскостям симметрии.
Высота общего центра тяжести груза в контейнерах типоразмеров 1А, 1С и 1Д должна быть не более 1100 мм, в контейнерах типоразмеров 1АА и 1СС - не более 1180 мм.
2.2 Масса груза должна распределяться равномерно по всей площади пола контейнера.
Смещение общего центра тяжести груза в продольном направлении в контейнерах типоразмеров 1А и 1АА должно быть не более 1200 мм, в контейнерах типоразмера 1С и 1СС – 600 мм, в контейнерах типоразмера 1Д - не более 300 мм.
Смещение общего центра тяжести груза в поперечном направлении в контейнерах указанных типоразмеров должно быть не более 100 мм.
При необходимости загрузки контейнеров неоднородными грузами более тяжелые из них размещают в средней части контейнера или равномерно по всей площади пола, более легкие - в торцовых частях контейнера или поверх тяжелых грузов, если это возможно по условиям сохранности грузов и вместимости контейнера.
2.3 Во избежание повреждения внутренней обшивки контейнера или других размещенных в контейнере грузов выступающими у груза, особенно металлическими частями, а также острыми кромками или углами необходимы соответствующая упаковка груза либо применение прокладок между грузами и стенками контейнера.
НЕ ДОПУСКАЕТСЯ крепление гвоздями к полу и любым другим частям конструкции контейнеров прокладочных материалов, подкладок и других элементов крепления груза.
2.4 В случаях, когда суммарная величина зазоров по длине или (и) по ширине между отдельными единицами груза и стенками контейнера, а также между единицами груза превышает 200 мм, груз должен быть закреплен соответственно от продольных или (и) поперечных перемещений.
2.5 При размещении в контейнерах металла в слитках, проката сортового металла и металлических труб, листового металла; шифера, гипсокартонных плит; плит ДВП, ДСП, фанеры; цилиндрических грузов (например, барабанов, катушек) с расположением на образующую; грузов, погруженных насыпью и навалом; а также грузов, имеющих выступающие части, могущие повредить стены и двери, торцовая стена и двери контейнера должны быть ограждены щитом на высоту погрузки в случаях, когда суммарная величина зазоров по длине или (и) по ширине контейнера между отдельными единицами груза и между ними и стенками контейнера превышает 200 мм. Щит должен состоять из двух стоек, устанавливаемых по углам контейнера, и горизонтальных досок, располагаемых вплотную друг к другу или с промежутками величиной не более ширины доски. Толщина стоек и горизонтальных досок щита должна быть не менее 40 мм. Доски к стойкам прибивают гвоздями длиной не менее 80 мм количеством не менее 2 штук в каждое соединение. Щит устанавливают перпендикулярно продольной плоскости симметрии контейнера таким образом, чтобы горизонтальные доски щита входили в выемки гофров обеих боковых стен контейнера.
2.6 Крепление груза исключающее возможность его перемещений внутри контейнера осуществляется заградительными щитами, которые выполняться в двух вариантах: с передачей продольных усилий от груза на угловые стойки дверного проема; с передачей продольных усилий на боковые стенки контейнера.
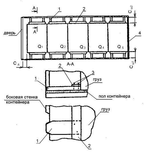
В обоих вариантах основой щита служат три поперечные доски 1 сечением 50х150 мм, расположенные широкой стороной в горизонтальной плоскости приблизительно на одинаковых расстояниях по высоте друг от друга. Нижняя из них укладывается на пол контейнера, вторая располагается посредине высоты штабеля и третья - на уровне середины высоты верхнего яруса груза. Длина этих досок должна быть: в первом варианте исполнения щита от 2310 до 2320 мм включительно, во втором – от 2410 до 2420 мм включительно.
В первом варианте щита (рисунок 1) поперечные доски соединяют с вертикальными, расположенными со стороны груза.
Вертикальные доски 4 должны иметь толщину от 25 до 30 мм включительно, ширину от 120 до 150 мм включительно и длину равную высоте штабеля. Вертикальные доски щита скрепляют с поперечными гвоздями длиной от 60 до 70 мм включительно, забиваемыми по 2 шт. в каждое сопряжение таких досок. Щит следует устанавливать вертикальными досками вплотную к грузу. Между поперечными досками щита и угловыми стойками контейнера вплотную к ним помещаются с обеих продольных сторон контейнера по три распорных бруска сечением 50х100 мм, которые удерживаются четырьмя вертикальными планками сечением не менее 30х70 мм, закрепляемыми по концам брусков гвоздями длиной 70 мм по 2 шт. в каждом сопряжении. Кроме этого, две планки, расположенные со стороны щита закрепляют к поперечным доскам в каждом месте прилегания к ним одним гвоздем.
![]() |
Рисунок 1 (Вид сверху контейнера).
1- поперечные доски; 2- распорный брус;
3- вертикальные соединительные планки; 4-вертикальные доски
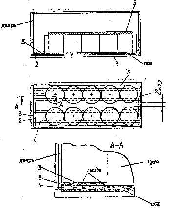
При изготовлении щита по второму варианту (рисунок 2) концы поперечных досок должны быть опилены в соответствии с формой и размерами впадин гофров боковых стенок контейнера.
Все поперечные доски скрепляют с четырьмя вертикальными толщиной от 25 до 30 мм включительно, шириной от 120 до 150 мм включительно и длиной по высоте штабеля, расположенными шириной в вертикальной плоскости по ширине контейнера гвоздями длиной 60 мм, забиваемыми по 2 шт. в каждом сопряжении указанных досок.
![]() |
Рисунок 2
1- поперечные доски, расположенные в горизонтальной плоскости; 2- поперечные доски, расположенные в вертикальной плоскости; 3- вертикальная доска; 4- гвозди длиной 80-90 мм; 5- гвозди длиной 50-60 мм
3 Размещение и крепление тарных, штучных грузов в крупнотоннажных контейнерах
3.1. Тарные, штучные грузы, сформированные в штабели, располагают вплотную к торцовой стене контейнера с установкой в соответствии с требованиями пункта 2.6 настоящей главы заградительного щита. Со стороны двери грузовые места следует располагать длиной вдоль контейнера, за исключением особо указанных случаев.
Допускается при погрузке фанеры, гипсо-картонных плит, ДВП, ДСП и других листовых грузов, вместо щитов ограждать торцовую стенку этими же грузами, установленными вертикально.
Допускается в качестве ограждения использовать связки и пачки из труб, сортового металла, метизов, лесоматериалов, цилиндрических и других грузов достаточной прочности, уложенных длинной стороной поперёк контейнера.
3.2 Крепление грузов в контейнерах необходимо производить с применением деревянных упорных и распорных брусков, соединительных планок и накладок, растяжками из проволоки диаметром не менее 6 мм, в две и более нитей за имеющиеся в контейнерах проушины, скобы и кольца. Растяжки должны располагаться под углом к полу и к боковым стенкам не более 400 (рисунок 3).

Рисунок 3
Устройства для крепления грузов растяжками, расположенных в основании контейнера, допускается нагружать в любом направлении усилием до 2000 кгс включительно, расположенных на боковых стенках - до 500 кгс включительно.
3.3 Грузы, размещаемые в несколько ярусов двумя штабелями вдоль контейнера с расстоянием между ними более 200 мм необходимо крепить по ширине контейнера распорными рамками из досок сечением не менее 25х100 мм (рисунок 4). Каждая рамка должна состоять из двух вертикальных досок, равных по длине высоте штабеля, и двух помещаемых между ними вплотную распорок. Смежно-расположенные рамки соединяются между собой попарно четырьмя продольными планками сечением не менее 22х50 мм, которые по концам прибивают двумя гвоздями длиной 50 мм к вертикально установленным доскам вверху и внизу. Количество рамок и установка их должны исключать возможность поперечных перемещений штабелей.

Рисунок 4
1 - вертикальная доска; 2- распорка; 3- соединительная планка; 4- гвозди; 5 – распорная рамка
4 Размещение и крепление грузов массой до 1,5 т включительно в упаковке в крупнотоннажных контейнерах
Данные грузы необходимо размещать вплотную друг к другу и к торцовой стенке контейнера. Металлические, в том числе ровные без выступов поверхности груза, должны быть отделены прокладками от внутренних поверхностей контейнера.
Грузы, располагаемые в контейнере симметрично относительно продольной плоскости симметрии контейнера в один ряд по ширине и в один ярус по высоте, необходимо крепить от поперечных перемещений упорными брусками 1 сечением не менее 30х100 мм, укладываемыми по 2 шт. с обеих сторон каждого грузового места вплотную к нему и к боковым стенкам контейнера (рисунок 5).

Сд£200 мм; Сш1=Сш2; Сш1+Сш2³200 мм
Рисунок 5 (Вид сверху внутри контейнера)
1- упорный брусок; 2- соединительная планка; 3- гвозди;
4 - прокладка
Концы упорных брусков должны входить во впадины гофров и соприкасаться с обшивкой контейнера всей площадью торцов. С этой целью бруски надлежит опиливать в соответствии с размерами и формой гофров. Со стороны груза упорные бруски необходимо скреплять попарно сверху соединительной планкой 2 сечением не менее 22х100 мм, закрепляемой к каждому бруску двумя гвоздями 3 длиной 40 мм.
5 Размещение грузов длиной до 6000 мм включительно без упаковки в крупнотоннажных контейнерах
5.1 Грузы длиной до 2250 мм включительно, (например металлические прутки, трубы без раструбов, пачки металла) размещают поперек контейнера (рисунок 6).
![]() |
Рисунок 6
1- подкладка; 2- прокладка; 3- вертикальная прокладка
5.2 Грузы длиной от 2250 мм до 6000 мм включительно размещают - вдоль контейнера (рисунок 7).
При механизированной погрузке неупакованных грузов предварительно необходимо на пол контейнера уложить деревянные подкладки 1 толщиной не менее 40 мм и шириной 150 мм.
Для грузов, размещаемых длинной стороной поперек контейнера длина подкладок принимается равной длине контейнера. При этом под грузы длиной до 1100 мм необходимо укладывать две подкладки, длиной свыше 1100 до 2250 мм - три подкладки. Допускается применение подкладок составленных из двух частей по толщине, соединенных двумя гвоздями длиной 50 мм. Выступающие наружу концы гвоздей должны быть загнуты.
![]() |
Рисунок 7
1- подкладка; 2- прокладка; 3- щит
Данные грузы должны быть отделены от боковых стенок контейнера вертикальными прокладками 3 (рисунок 6) из плотного картона, фанеры, обрезков досок и др.
При размещении груза вдоль контейнера длина подкладок принимается равной ширине контейнера. Под грузы длиной свыше 2250 мм до 3000 мм включительно необходимо укладывать три подкладки, длиной свыше 3000 до 4000 мм включительно - четыре подкладки длиной свыше 4000 до 5000 мм включительно - пять подкладок, длиной свыше 5000 до 6000 мм включительно - шесть подкладок.
Торцовая стенка и дверь контейнера должны быть ограждены щитами 3 (рисунок 7) из досок толщиной 30 и более мм. Щиты следует изготовлять сплошными или с зазорами между досками. При этом величина зазоров должна быть не более 50% наименьшего размера перевозимых изделий.
6 Размещение грузов цилиндрической формы в крупнотоннажных контейнерах
6.1 Грузы цилиндрической формы (например, металлические барабаны, бидоны, рулоны металлической ленты) размещают в контейнерах в вертикальном положении в 1-3 яруса по высоте (рисунок 8).
Каждую единицу груза нижнего яруса располагают на двух деревянных подкладках 2 сечением не менее 40х100 мм, уложенных вдоль контейнера. Подкладки могут быть сплошными по всей длине контейнера или состоять из нескольких частей.
![]() |
Рисунок 8
1- щит; 2- подкладка; 3- вертикальная прокладка; 4- прокладка между грузами нижнего и верхнего яруса
Торцовую стенку контейнера ограждают по высоте погрузки щитом 1 в соответствии с пунктом 2.6 настоящей главы.
6.2 Рулоны широкой металлической ленты и других грузов цилиндрической формы в металлической упаковке массой одного "места" до 1 т включительно грузят в один ярус по высоте с установкой каждого "места" на две продольных подкладки 1, указанных выше размеров (рисунок 9).
Вплотную к торцовой стенке сверху на концы подкладок помещают упорный брусок 2 толщиной 50 мм, шириной не менее 150 мм и длиной по ширине контейнера. Допускается использование брусков, составленных из двух частей по толщине, скрепленных между собой четырьмя гвоздями длиной от 60 до 70 мм включительно. Прошедшие насквозь концы гвоздей должны быть загнуты.
![]() |
Рисунок 9
1- подкладка; 2- упорный брусок; 3- распорный брусок; 4- подкладка под распорным бруском; 5- пристенная прокладка (условно заштрихована)
Со стороны двери укладывают таких же размеров упорный брусок 2, через который продольные усилия от груза передаются на угловые стойки контейнера. Вплотную к бруску и к крайним рулонам помещают распорные бруски 3 толщиной от 50 до 100 мм включительно и шириной не менее 150 мм. Длина последних определяется по месту. Под распорные бруски укладывают подкладки 4 такой же толщины, что и подкладки под грузом. Каждый распорный брусок прибивают к подкладке двумя гвоздями длиной от 100 до 150 мм включительно. Упорные бруски закрепляют по концам к подкладкам такими же гвоздями.
Груз во всех случаях должен быть отделен от продольных стенок контейнера прокладками из плотного картона, древесно-слоистого пластика (твердого оргалита), фанеры или досок.
6.3 Бочки с жидкостями и сухими грузами размещают в контейнерах на торец. Бочки с жидкостями устанавливают обязательно пробками вверх. Пробки должны быть плотно загнаны в отверстия и не выступать над поверхностью днища. Способ размещения бочек в контейнерах устанавливается в зависимости от их размеров и количества.
При погрузке в несколько ярусов по высоте в каждом ярусе должны быть установлены однотипные по размерам бочки. Между ярусами устанавливают деревянные прокладки таким образом, чтобы каждая бочка второго и последующих ярусов была установлена с опорой на две прокладки. Размеры прокладок устанавливает грузоотправитель, исходя из размеров бочек, и их массы.
7 Размещение и крепление легковых автомобилей в крупнотоннажных контейнерах
7.1 Легковые автомобили (в том числе повышенной проходимости) полной массой не более 3,5 т размещают: в контейнерах типоразмера 1С, 1СС – 1 автомобиль, . в контейнерах типоразмера 1А, 1АА – 1-2 автомобиля.
Перед погрузкой автомобили должны быть вымыты и вытерты насухо, протекторы колес автомобилей должны быть очищены от грязи. Давление в шинах должно быть отрегулировано таким образом, чтобы площадь контакта шин с полом составляла от 130 до 150 мм2 включительно.
Бензин из бака автомобилей должен быть слит, аккумуляторная батарея отсоединена. Течи масла, тормозной и охлаждающей жидкостей из систем автомобилей не допускаются. В зонах расположения двигателя и мостов на пол контейнера должно быть уложено и закреплено от перемещения защитное покрытие (например, полимерная пленка). Установка автомобилей колесами на покрытие не допускается.
После размещения автомобиля в контейнере он должен быть заторможен ручным тормозом. Рукоятка выбора передач должна быть зафиксирована в положении включения первой передачи (для механической коробки передач) либо в положении «парковка» (для автоматической коробки передач).
7.2 В контейнере типоразмера 1С, 1СС автомобиль закрепляют (рисунок 10) двумя парами растяжек 6 из проволоки диаметром 6 мм в две нити, а также двумя продольными 3 и четырьмя поперечными 4 и четырьмя упорными 5 брусками сечением не менее 100х120 мм.

Рисунок 10
1 – автомобиль; 2 – упорный брусок размером 100х120х2400 мм; 3 – продольный брусок размером 50х120х5867 мм; 4 – поперечный упорный брусок размером 100х120х2400 мм; 5 - брусок размером 100х120х300 мм; 6 – растяжка из проволоки диаметром 6 мм в 2 нити; 7 – скоба строительная.
Растяжки 6 одним концом закрепляют за нижние увязочные устройства контейнера на боковых стенках в его торцовых частях, а другим за силовые элементы автомобиля (например, буксировочные устройства, рессоры, технологические отверстия в дисках колес и т. п.).
Бруски в контейнере размещают следующим образом:
- два упорных бруска 2, длиной равной внутренней ширине контейнера размещают у торцовой стенки и дверей контейнера;
- два продольных бруска 3, длиной равной расстоянию между указанными поперечными брусками 2, укладывают с наружной стороны колес вплотную к ним. Допускается устанавливать между колесами и продольными брусками 3 защитные прокладки для предохранения резины от потертости;
- каждый из двух поперечных упорных брусков 4 укладывают на продольные бруски 3 вплотную к передним и задним колесам с внешней их стороны и закрепляют к каждому продольному бруску двумя гвоздями. На продольный брусок 3 вплотную к поперечному 4 укладывают и закрепляют тремя гвоздями четыре бруска 5 длиной не менее 300 мм. Продольные и поперечные бруски, уложенные у торцовой стенки и двери контейнера, скрепляют между собой строительными скобами 7 по одной в соединении. Поперечные упорные бруски 2 и 4, со стороны торцовой двери укладывают и закрепляют после закатывания автомобиля. Длина гвоздя должна быть равна толщине скрепляемых брусков, но исключать повреждение пола контейнера. Забивание гвоздей и скоб в пол контейнера не допускается.
7.3 В контейнере типоразмера 1А, 1АА автомобили закрепляют (рисунок 11) аналогично креплению в контейнере типоразмера 1С, 1СС.

Рисунок 11
1 – автомобиль; 2 – упорный брусок размером 100х120х2400 мм; 3 – продольный брусок размером 50х120х5867 мм; 4 – поперечный упорный брусок размером 100х120х2400 мм; 5 - брусок размером 100х120х300 мм; 6 – растяжка из проволоки диаметром 6 мм в 2 нити; 7 – скоба строительная
7.4 Бруски, применяемые для закрепления автомобилей, могут быть составными по высоте, а продольные – и по длине не более чем из двух частей. Во избежание повреждения пола контейнера скрепление продольных брусков в единое целое из нескольких частей должно выполняться вне контейнера.
7.5 В случаях обеспечения размещения и крепления автомобилей перевозчиком, грузоотправитель обязан присутствовать при погрузке, для чего он должен быть заблаговременно извещен о дате и времени погрузки.
8 Требования к размещению и креплению грузов в среднетоннажных контейнерах
8.1 Груз в контейнере должен размещаться симметрично его продольной и поперечной плоскостей симметрии.
Высота общего центра тяжести груза не должна превышать половины высоты контейнера, смещение общего центра массы груза в поперечном направлении должно быть не более 100 мм.
8.2 Между внутренней обшивки контейнера и грузом или между грузами с выступающими, особенно металлическими частями, а также острыми кромками или углами необходимы соответствующая упаковка груза либо применение прокладок между грузами и стенками контейнера.
8.3 Грузы в контейнерах должны размещаться равномерно по всей площади пола. Суммарная величина зазоров по длине или ширине контейнера между отдельными единицами (местами) груза и между ними и стенками контейнера не должна превышать 200 мм.
8.4 Крепление грузов в среднетоннажных контейнерах необходимо производить с применением распорных, упорных брусков, растяжек за имеющиеся в контейнере проушины.
Проушины для крепления грузов растяжками, допускается нагружать в любом направлении усилием до 300 кгс.








