Разграфка листов карты масштаба 1:500 000 производится путем деления средним меридианом и средней параллелью листа карты масштаба 1:1 000 000 на четыре части, которые обозначаются прописными буквами русского алфавита. Номенклатура листов карты масштаба 1:500 000 складывается из номенклатуры листа карты масштаба 1:1 000 000, частью которого он является, и соответствующей буквы.
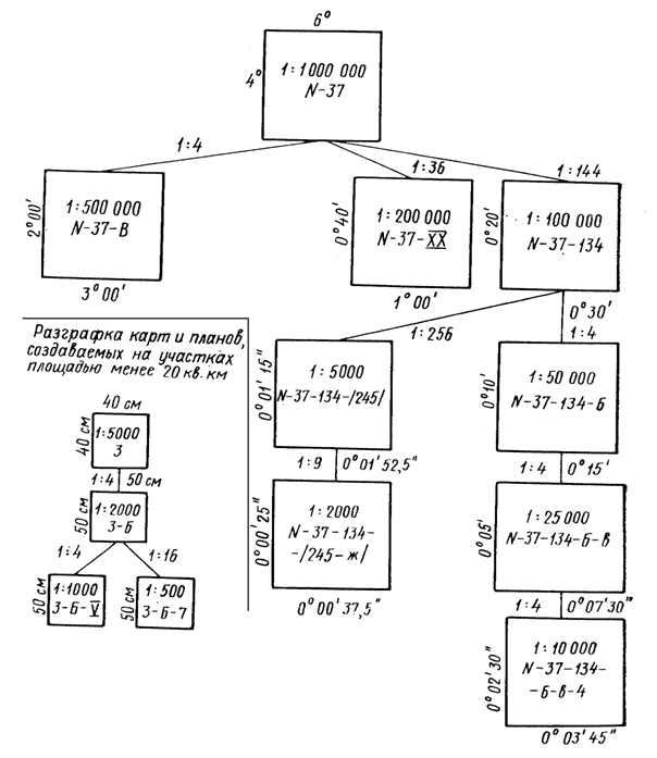
Разграфка листов карт масштабов 1:200 000 и 1:100 000 производится путем деления каждого листа карты масштаба 1:1 000 000 меридианами и параллелями соответственно на 36 и 144 части (рис. 47). Листы карт масштаба 1:200 000 нумеруются римскими цифрами, масштаба 1:100 000 – арабскими цифрами по рядам с запада на восток.
Номенклатура листов карт указанных масштабов состоит из номенклатуры соответствующего миллионного листа и собственного номера, который у листов карт масштабов 1:200 000 и 1:100 000 указывается справа от номенклатуры миллионного листа. Например, листы карт масштабов 1:200 000 и 1:100 000 (заштрихованные на рис. 47), имеют номенклатуры соответственно N-37-VI и N-37-134. Листы карты масштаба 1:50 000 получают путем деления листов карты масштаба 1:100 000 на четыре части (см. рис. 47), обозначаемые прописными буквами русского алфавита. Размеры листа по широте составляют 10¢, по долготе – 15¢. Номенклатура этих листов образуется путем присоединения к номенклатуре листа масштаба 1:100 000 соответствующей буквы, например NБ.

Рис. 47
Листы карты масштаба 1:25 000 получают делением листов карты масштаба 1:50 000 на четыре части (рис. 48), каждая из которых обозначается строчными буквами русского алфавита. Размеры этих листов по широте составляют 5¢, по долготе – 7¢30², а номенклатура дополняется соответствующей буквой: NБ-в.
Лист карты масштаба 1:25 000 делится на четыре листа карты масштаба 1:10 000, каждый из которых имеет размеры по широте 2¢30², по долготе 3¢45². Они обозначаются арабскими цифрами, которые указываются после номенклатуры листа карты масштаба 1:25 000, частью которого они являются, например NБ-в-2.
Разграфка листов карты масштаба 1:5000 производится путем деления листов карты масштаба 1:100 000 на 256 частей (16 рядов по широте и долготе). Листы нумеруют арабскими цифрами по рядам с запада на восток. Размер каждого листа по широте 1¢15², по долготе 1¢53,5². Номенклатура этих листов образуется путем присоединения к номенклатуре листа карты масштаба 1:100 000 соответствующего номера в скобках, например: N(16).
Листы карты масштаба 1:2000 получают путем деления листов карты масштаба 1:5000 на девять частей и обозначают строчными буквами русского алфавита, например N(16-ж). Размер каждого листа по широте 25², по долготе 37,5².


Рис. 48
Рис. 49
Топографические съемки в крупных масштабах на участках площадью менее 20 км2 выполняются в частных системах прямоугольных координат, не связанных с географической системой. Разграфка листов планов в этих случаях производится не меридианами и параллелями, а линиями координатной сетки. Листы имеют форму квадратов с размерами 40 ´ 40 см для планов масштаба 1:5000 и 50 ´ 50 см для планов масштабов 1:2000 – 1:500. За основу разграфки принимается лист плана масштаба 1:5000, обозначаемый арабскими цифрами.
Листу плана масштаба 1:5000 соответствуют 4 листа в масштабе 1:2000, обозначаемые прописными буквами русского алфавита. Лист плана в масштабе 1:2000 делится на 4 листа планов масштаба 1:1000, обозначаемых римскими цифрами (рис. 49, а), и 16 листов планов масштаба 1:500, обозначаемых арабскими цифрами (рис. 49, б). Так, заштрихованный на рис. 49, а лист Г масштаба 1:2000 будет иметь номер 1-Г. Там же – лист масштаба 1:1000, заштрихованный двойной штриховкой и обозначенный римской цифрой I, имеет номер 1-Г-I. Номер листа карты масштаба 1:500, заштрихованного на рис. 49, б, – 1-Г-6.

Рис. 50
На рис. 50 представлена общая схема разграфки и номенклатур топографических карт, принятая в РФ. Возможны также другие системы обозначения планов крупного масштаба при выполнении съемок объектов строительства. В этих случаях за рамками листов планов указываются принятые схемы их разграфки и нумерации.
11.2. Определение номенклатуры топографической карты
Подготовка к проектным работам обычно начинается с подбора топографических карт для района будущего строительства. По мелкомасштабной карте определяются географические координаты центральной точки объекта стройки и, исходя из рассмотренной схемы разграфки, устанавливается номенклатура листа (или листов) карты определенного масштаба.
Допустим, требуется установить номенклатуру листа карты масштаба 1:10 000, на котором расположена точка М с координатами
j = 54°41¢; l = 18°05¢. Согласно схеме разграфки топографических карт (см. рис. 50), задача заключается в последовательном определении номенклатуры листов карт масштабов 1:1 000 000, 1:100 000, 1:50 000, 1:25 000 и, наконец, 1:10 000. По схеме на рис. 45 определяем, что данная точка расположена в ряду, обозначенном буквой N (между параллелями с широтами 52 и 56°), и в колонне с номером 34 (между меридианами с долготами 18 и 24°). Следовательно, лист карты масштаба 1:1 000 000 имеет номенклатуру N-34. Затем вычертим схему этого листа, аналогичную изображенной на рис. 51,а. Выпишем широту и долготу рамок этого листа с рис. 46 (по широте 52 и 56°, по долготе 18 и 24°). Разделим схему листа карты масштаба 1:1 000 000 на 144 части и пронумеруем их. Обозначим широты параллелей, которые будут возрастать, через 20¢, и долготы меридианов которые будут возрастать – через 30¢. Очевидно, что точка M с заданными координатами будет расположена в пределах листа с номером 37. Следовательно, лист карты масштаба 1:100 000, на котором находится данная точка, имеет номенклатуру N-34-37.
Составим схему этого листа (произвольных размеров) в соответствии с координатами его рамок и разделим средними меридианом и параллелью на четыре части (рис. 51, б). Обозначим каждую часть прописными буквами русского алфавита и найдем координаты средних линий. Точка с заданными координатами, согласно составленной схеме, находится в пределах листа карты масштаба 1:50 000, обозначаемого буквой B; номенклатура этого листа N-34-37-B.
Затем последовательно вычертим схемы листов карты масштаба 1:25 000 (рис. 51, в) и искомой карты масштаба 1:10 000 (рис. 51, г), по которым определим номенклатуры N-34-37-B-в и N-34-37-В-в-4.

Рис. 51
Упражнение. Определите номенклатуру листов карт масштабов 1:100 000 и 1:2000, на которых расположена одна из точек, заданных географическими координатами:
j = 44°21¢; j = 53°02¢;
j = 54°41¢; j = 61°31¢;
l = 110°01¢; l = 31°23¢;
l = 18°04¢; l = 76°51¢.
12. План по материалам теодолитной съемки
Исходными полевыми материалами для составления плана (рис. 52) являются следующие.
1. Съемочная сеть сомкнутый теодолитный ход с шестью углами поворота, без привязки к государственной плановой сети. Условные координаты вершины угла № 1 и дирекционный угол исходной линии 12 приведены в табл. 3 (по вариантам).
Полевые геодезические измерения, выполненные при прокладке теодолитного хода, приведены в журнале теодолитного хода (табл. 4). При выполнении работы следует журнал воспроизвести на отдельном листе бумаги и вычислить средние значения углов поворота и длин линий теодолитного хода.
2. Абрисы по линиям 1 – 2 (рис. 53), 2 – 3 (рис. 54), 3 – 4 (рис. 55),
4 – 5 (рис. 56), 5 – 6 (рис. 57), 6 – 1 (рис. 58), на которых ситуация отображена тремя основными способами съемки: полярных и прямоугольных координат, угловых засечек.
Выполнение работы следует начинать с обработки журнала теодолитного хода (см. табл. 4). Вычисление средних значений горизонтальных углов полигона заканчивается определением угловой невязки
и сравнением ее с невязкой допустимой
.
Т а б л и ц а 3
Варианты исходных данных
Номер варианта
1
2
3
4
5
6
7
![]()
34621
2718
6442
11231
19217
7418
31245
X
637,58
421,26
513,25
673,18
326,48
463,72
576,83
Y
417,62
541,68
619,23
779,17
613,42
554,38
411,23
8
9
10
11
12
13
14
15
7814
1327
11726
19823
31426
7618
6423
21317
425,76
567,13
735,48
629,57
548,67
432,48
396,57
423,96
562,17
693,18
551,23
427,12
517,48
611,23
521,28
611,32
При вычислении средних значений длин линий теодолитного хода вводится поправка за наклон линии при
> 130 (линии 34 и 45). Горизонтальное проложение линии вычисляют по расчетной формуле
или определяют поправку за наклон линии
по табл. 5.

M 1:2000
Координата X
Координата Y

1
600,00
600,00
2
635,61
712,30
3
641,65
829,08
4
519,24
829,12
5
450,14
695,44
6
469,79
599,51
ШТАМП
Рис. 52
Т а б л и ц а 4
Журнал теодолитного хода
Номер точки
стояния
Положение вертикального круга
Номер точки визирования
Отсчеты по горизонтальному кругу
Угол первого
и второго полуприемов
Среднее из углов
Угол наклона линии
Длина, м
°
¢
²
°
¢
²
Между точками
Первое
и второе измерения
Среднее из двух измерений
1
КЛ
6
340°30¢
1-2
117,82
2
232°42¢
117,78
КП
6
163°14¢
2
55°27¢
2
КЛ
1
1°17¢
2-3
116,90
3
196°03¢
116,93
КП
1
183°37¢
3
18°21¢
3
КЛ
2
117°39¢
3-4
122,65
4
30°29¢
3-4
122,70
КП
2
295°28¢
+4°50¢
4
208°16¢
4
КЛ
3
16°38¢
4-5
150,75
5
259°19¢
4-5
150,81
КП
3
199°43¢
+3°30¢
5
82°24¢
5
КЛ
4
311°17¢
5-6
97,90
6
176°12¢
97,95
КП
4
135°26¢
6
354°20¢
6
КЛ
5
236°47¢
6-1
130,14
1
135°27¢
130,22
КП
5
55°38¢
1
314°17¢
Т а б л и ц а 5
Поправки за наклон линий
Угол
наклона
Длины линий, м
10
20
30
40
50
60
70
80
90
100
Поправки, мм
200
6
12
18
24
30
37
43
49
55
61
230
10
19
29
38
48
57
67
76
86
95
300
14
27
41
55
69
82
96
110
123
137
330
19
37
56
75
93
112
131
149
168
187
400
24
49
73
97
122
146
171
195
219
244
430
31
62
92
123
154
185
216
247
277
308
500
38
76
114
152
190
229
266
304
342
381
По завершении вычислений в журнале теодолитного хода вычерчивается схема этого хода (рис. 59), на которой приводятся средние значения горизонтальных углов, проложений линий, заданный дирекционный угол линии 1 2.
Для определения координат вершин теодолитного хода разрабатывается ведомость координат (табл. 6). Эти координаты получают путем последовательного решения прямой геодезической задачи, исходя из известных (заданных по табл. 3) координат X1 и Y2 вершины угла 1, дирекционного угла линии 1 2 и полученных после обработки журнала теодолитного хода средних значений горизонтальных углов и длин линий хода. При этом должен обеспечиваться контроль вычислений во всех необходимых случаях.
Последовательность разработки ведомости координат следующая.
1. Вписать в графу 1 ведомости со схемы теодолитного хода номера углов, начиная и заканчивая номером 1 (теодолитный ход сомкнутый).
2. Вписать из журнала теодолитного хода в графу 2 средние значения горизонтальных углов, в нижней части ведомости указать полученную угловую невязку
. Распределить эту навязку (с обратным знаком), зафиксировать это распределение в графе 3.
3. Вычислить исправленные значения горизонтальных углов (графа 4). В графы 2 и 4 величину угла 1 вписывать один раз, только в первой строке.
Вычислить сумму исправленных углов
она должна быть равна теоретической сумме внутренних углов полигона, в данном случае
= 180(n 2) = 18= 720.
Т а б л и ц а 6
Ведомость
вычисления координат вершин теодолитного хода
Номер углов
Измеренные углы
Поправки к углам
Исправленные углы
Дирекционные углы
Румбы
Длина линии d
Приращения вычисленные
Поправки к приращениям
Приращения исправленные
Координаты
Название
Величина
±
Dx
±
Dy
±
dx
±
dy
±
Dx
±
Dy
±
X
±
Y
1
2
3
4
5
6
7
8
9
10
11
12
13
14
15
16
17
18
19
20
21
22
23
24
1
2
3
4
5
6
1
![]()
![]()
![]()
![]()
![]()
![]()
![]()
![]()
![]()
![]()
![]()
![]()
Угловая невязка ![]()
![]()
Невязка хода ![]()
Допустимая невязка ![]()
![]()
Относительная невязка ![]()


Рис. 53
Рис. 54


Рис. 55
Рис. 56


Рис. 57
Рис. 58
4. В графу 5 вписать заданный дирекционный угол линии 1 2. Так как дирекционный угол относится к линии между соответствующими вершинами хода, то и вписывать его следует в строку, расположенную между этими вершинами.
По заданному дирекционному углу исходной линии 1 2 и исправленному внутреннему углу полигона
вычислить дирекционный угол линии 2 3:
. (12.1)
Вычислить последовательно дирекционные углы всех линий полигона (в необходимых случаях прибавляя или вычитая 36000). Контролем правильности вычисления дирекционных углов сторон сомкнутого хода является вторичное получение дирекционного угла исходной стороны.
По известным дирекционным углам определить румбы (графы 6, 7), знаки приращений координат (графы 9, 11).
5. Вписать в графу 8 длины линий и вычислить приращения координат:
,
.
При вычислении приращений используют таблицы натуральных значений тригонометрических функций или таблицы приращений координат.
Вычисленные приращения координат, округленные до сотых долей метра, заносят в графы 10 и 12, определяют невязки
и
, абсолютную невязку в периметре
, относительную невязку
, которая не должна превосходить допустимую невязку (в данной работе 1:2000).
Невязки
и
распределяют пропорционально длинам сторон, поправки фиксируют в графах 13, 14, 15, 16, вычисляют исправленные приращения координат. Контролем служит равенство сумм исправленных приращений со знаком «плюс» и «минус».
6. Вписать в графы 21 24 заданные координаты вершины угла 1, вычислить координаты всех других вершин полигона:
;
. (12.2)
Контролем правильности вычислений является получение в конце расчета заданных координат угла 1. При выполнении данного условия разработка ведомости координат заканчивается.
Для вычерчивания плана на листе чертежной бумаги размерами А4 (см. рис. 52) обозначаются рамка, штамп, таблица координат вершин углов полигона, строится сетка координат с размерами квадратов 50 50 мм. Графическая точность построения сетки контролируется по сторонам квадратов, по сумме четырех сторон, по диагоналям основного квадрата.
Под сеткой квадратов выписать масштаб плана (1:2000).
После построения сетки квадратов наносят по координатам вершины углов полигона. Для этого необходимо выбрать начало координат так, чтобы участок местности, подлежащий отображению на плане, разместился в пределах сетки квадратов. Для этого из таблицы координат выбирают наибольшие и наименьшие значения координат (
,
,
,
) и, ориентируясь по схеме полигона (см. рис. 59), назначают целесообразные координаты начальной точки сетки координат с округлением координат до десятков метров. Сетка координат оцифровывается применительно к масштабу плана (1:2000).


Рис. 59
Рис. 60
Для нанесения вершин теодолитного хода определяют квадрат сетки, в котором эта вершина находится, при помощи циркуля-измерителя и поперечного масштаба откладывают по сторонам квадрата (рис. 60) значения разностей координат данной вершины угла и соответствующей линии координатной сетки (точки 1 и 2, 3 и 4). Соединив точки 1 и 2, 3 и 4 получают в пересечении отрезков искомую вершину полигона (например, вершину угла 5). В этой точке иглой циркуля делают накол и вычерчивают условный знак точки плановой съемочной сети. Для каждой пары точек определяют расстояние между ними и сравнивают его с приведенным на схеме полигона (рис. 59) расхождение не должно превышать 0,3 мм (в масштабе плана).
Построение контуров местности на плане производят по абрисам (см. рис. 53 58). Способ вычерчивания контуров определяется способом съемки, при этом применяют геодезический транспортир, поперечный масштаб линейку и выверенный прямоугольный треугольник.
Все построения выполняют предельно тонкими линиями, так как часть этих линий при последующей разработке плана будет заменяться на точечный пунктир, линии вспомогательных построений должны быть убраны. Значения углов и длин линий, приведенные в абрисах, на план не выписывают.
После вычерчивания контуров оформление плана производится в точном соответствии с обязательными условными знаками, т. е. на план наносят в карандаше условные знаки с соблюдением их размеров и начертания согласно действующим «Условным знакам для планов масштаба 1:5000; 1:2000; 1:1000; 1:500».
13. Проект вертикальной планировки
(проектирование горизонтальной площадки)
Одна из основных частей генерального плана - проект вертикальной планировки застраиваемой территории. Ее целью является преобразование естественных форм рельефа и создание условий для эксплуатации возводимых зданий и сооружений.
Естественный рельеф при строительстве обычно преобразуется путем выполнения земляных работ по специальному проекту вертикальной планировки.
Проектный рельеф может быть задан в виде профилей, проектными горизонталями в сочетании с проектными отметками либо только проектными отметками. Метод профилей трудоемок и поэтому применяется редко. При выполнении данной расчетно-графической работы применяется метод отметок. Строительная площадка должна представлять собой горизонтальную поверхность.
Проектирование горизонтальной площадки обычно производится с соблюдением условия нулевого баланса земляных работ. Под этим условием понимается сведение земляных работ к минимуму и обеспечение равенства объемов выемки и подсыпки.
Основой для проектирования вертикальной планировки служат топографические планы масштабов 1:5001:5000, составленные по результатам нивелирования стройплощадки по квадратам. Планируемую территорию разбивают на квадраты со сторонами 10, 20, 40 или 50 м в зависимости от сложности рельефа. Фактические высоты вершин квадратов определяют по горизонталям или при помощи геометрического нивелирования. Предполагается, что каждая квадратная призма ограничена вертикальными плоскостями, проходящими через стороны квадратов, плоским основанием и наклонной верхней плоскостью. Высоту призмы принимают равной среднему арифметическому из отметок угловых точек поверхности. Тогда объем одной призмы равен (см. рис. 52):
V
, (13.1)
где
площадь основания призмы;
и
отметки угловых точек.
Среднюю отметку всего участка с известными отметками углов сетки вычисляют на основании следующих соображений. Отметки углов
квадратов, лежащих внутри наружного контура, при вычислениях повторятся четыре раза, и их сумма равна
(рис. 61).
Далее суммируют отметки
вершин квадратов, расположенных по контуру участка, за исключением отметок
вершин углов участка, и полученную сумму
удваивают, так как эти отметки входят в два смежных квадрата. Наконец, суммируют отметки
угловых точек участка.

Рис. 61
Средняя отметка
участка вычисляется по формуле:
. (13.2)
Если участок включает произвольное, в том числе и нечетное, количество квадратов (рис. 62), а рельеф участка должен быть спланирован горизонтальной площадкой при условии нулевого баланса земляных работ, проектная отметка такой площадки вычисляется по формуле
, (13.3)
где n общее число квадратов;
сумма черных отметок вершин, входящих только в один квадрат;
соответственно суммы отметок вершин, общих для двух, трех и четырех квадратов.

Рис. 62
При горизонтальной площадке
является постоянной величиной для всего участка.
Рабочие отметки всех вершин квадратов получаются как разности проектной отметки
и черных отметок вершин квадратов:
, (13.4)
при этом
со знаком плюс будет определять подсыпку, минус выемку.
Объем земляных работ вычисляется по рабочим отметкам
вершин каждого квадрата. Если все четыре отметки имеют один и тот же знак, объем земляных работ в пределах данного квадрата вычисляют по формуле
V
, (13.5)
где а сторона квадрата.
Если в квадрате рабочие отметки имеют разные знаки, то в этом квадрате проходит линия нулевых работ линия с рабочей отметкой, равной нулю. Линии нулевых работ являются границей между участками подсыпки и выемки грунта, т. е. определяют объемы земляных работ в пределах каждого квадрата. Для построения линии нулевых работ на сторонах квадратов находят положение точек нулевых работ по формулам (рис. 63)
;
, (13.6)
где
и
расстояния от вершин квадрата до точки нулевых работ; а сторона квадрата;
и
рабочие отметки на концах стороны квадрата. Очевидно, что
.

Рис. 63
Найдя точки нулевых работ на разных сторонах квадрата и соединив их отрезками прямых пунктирных линий, получают линию нулевых работ (границу выемки и подсыпки). Объем земляных работ определяют отдельно для выемки и подсыпки.
В различных условиях пользуются различными методами: при относительно спокойном рельефе методом квадратов; при более пересеченной местности методом треугольных призм; при сильно пересеченной местности методом поперечников. Подсчет объемов земляных работ по методу квадратов производится для каждого квадрата или его части как объем призмы
V
, (13.7)
где
среднее значение рабочих отметок; S площадь квадрата (его части).
Объем грунта в полном квадрате находится по формуле
V
, (13.8)
где
сумма рабочих отметок для углов квадрата;
площадь квадрата.
При подсчете объемов земляных работ по неполным квадратам (квадратам, через которые проходит линия нулевых работ) их разбивают на треугольники и нумеруют каждую фигуру.
Находят площадь каждого треугольника
и вычисляют объем грунта в пределах треугольных призм по формуле
V
. (13.9)
Вычисляют суммарные объемы выемки и подсыпки и проверяют баланс земляных работ по формуле
. (13.10)
Эта величина не должна превышать 3 %.
При необходимости решение корректируется, т. е. уточняется проектная отметка горизонтальной плоскости.
Пример 1. Разработать проект вертикальной планировки площадки при следующих исходных условиях (рис. 64):
отметки участка получены при нивелировании по квадратам;
проектируется горизонтальная площадка с приблизительным обеспечением баланса земляных работ (рис. 65);
проектирование заканчивается составлением картограммы земляных масс.
Размеры квадратов принимаются 20 20 м (при масштабе плана 1:1000).

Рис. 64

Рис. 65
Последовательность выполнения работы следующая:
1. На листе чертежной бумаги формата А4 (20 30 см) изобразить штамп и дважды вычертить сетку квадратов (рис. 64 и 65).
2. В вершинах квадратов (рис. 64) выписать отметки по своему варианту. Например, в вершине А1 это 148,23, в вершине А2 147,64, А3 147,23 и т. д.
|
Из за большого объема этот материал размещен на нескольких страницах:
1 2 3 4 5 |



