Авторы: , , .
Автомобиль ВАЗ 2115. 0ригинальные узлы. Технология технического обслуживания и ремонта. Тольятти, АО АВТОВАЗ, 1997 г.
Издание первое.
В сборник вошли технологические инструкции по диагностике системы распределенного впрыска топлива переднеприводных автомобилей ВАЗ под нормы токсичности России, снятию и установке электростеклоподъемников автомобилей ВАЗ-21093, 2115, ремонту и замене оригинальных кузовных деталей автомобиля ВАЗ-2115.
При ТО и ремонте унифицированных узлов и деталей применять технологии томов 1-3.
Книга предназначена для рабочих и инженерно-технических работников предприятий, занятых ремонтом автомобилей ВАЗ, позволяет обучить и аттестовать персонал, обеспечить качественное выполнение работ.
Ваши отзывы и пожелания направляйте по адресу Россия, Самарская область, г. Тольятти, а/я 1756, АО "ИТЦ АвтоВАЗтехобслуживание".
Настоящее издание не может быть полностью или частично воспроизведено, тиражировано и распространено без разрешения АО "ИТЦ АвтоВАЗтехобслуживание".
(с) АО "Инженерно-технический центр "АвтоВАЗтехобслуживание", 1997 г
Содержание
стр. | ||
Технические параметры автомобиля ВАЗ-2115 | 3 | |
ТИ 3100.25100.1201З* | Система распределенного впрыска топлива автомобилей ВАЗ-21083, 21093, 21099, 2115, 21102 под нормы токсичности России - устройство, поиск и устранение неисправностей | 4 |
.20285 | Электростеклоподъемник передней двери - с/у. | 83 |
.66091 | Панель задка в сборе 0 - ремонт и замена. | 87 |
.66093 | Крыло заднее правое/левое 0/011l ремонт и замена. | 93 |
.66094 | Поперечина рамы заднего окна нижняя 0 - ремонт и замена. | 100 |
.86063 | Нанесение герметизирующей мастики типа Д-5А на сварные швы при ремонте кузова ВАЗ-2115. | 104 |
Приложение Перечень электрических элементов и схема монтажного блока 0. | 107 |
* - в обозначениях ТИ цифры 3100 (код разработчика) и 25100 (код характеристики документа) повторяются, поэтому номера инструкций, а также их названия даны в сокращенном виде.
Технические параметры автомобиля ВАЗ-2115.

Характеристика | ВАЗ | ВАЗ |
Модель автомобиля | ВАЗ | ВАЗ |
Снаряженная масса, кг | 970 | 985 |
Полезная масса, кг | 425 | |
Разрешенная максимальная масса, кг | 1395 | 1410 |
Модель двигателя | ВАЗ-21083 | ВАЗ-2111 |
Номинальная мощность, не менее | 49,8 (67,5) | 52,3 (70,9) |
по ГОСТ 14846 (нетто), кВт (л с) | ||
Частота вращения коленчатого вала двигателя при номинальной мощности, мин-1. | 5600 | 4800 |
Топливо | бензин с ОЧ 91-95 | |
Система зажигания | Бесконтактная (БСЗ) | злектронная система управления двигателем (ЭСУД) |
Максимальная скорость, км/час, не менее | 155 | |
Время разгона с места с переключением передач до скорости 100 км/ч, с | 14,2 | |
Расход топлива на 100 км пути на выс шей передаче, не более, л | ||
при скорости 90 км/ч | 5,7 | |
при скорости 120 км/ч | 7,8 | |
при городском цикле движения | 8,9 | |
Коробка передач | пятиступенчатая | |
Рулевое управление | с регулируемой по углу наклона рулевой колонкой |
Остальные технические параметры соответствуют параметрам автомобилей семейства ВАЗ-2108, см. том 3 технологии ТО и ремонта автомобилей ВАЗ.
СИСТЕМА РАСПРЕДЕЛЕННОГО ВПРЫСКА ТОПЛИВА АВТОМОБИЛЕЙ ВАЗ 21083, 21093, 21099, 21102, 2115 ПОД НОРМЫ ТОКСИЧНОСТИ РОССИИ.
УСТРОЙСТВО, ПОИСК И УСТРАНЕНИЕ НЕИСПРАВНОСТЕЙ
1. ОБЩИЕ ТРЕБОВАНИЯ
1.1.Работы производить в соответствии с требованиями "Правил по охране труда на автомобильном транспорте" Минавтотранс, 1979 г. и инструкции по охране трудадля слесарей.
1.2. При демонтаже элементов системы впрыска отключать клемму "минус" аккумуляторной батареи (АКБ).
1.3. Перед запуском двигателя проверить надежность соединений клемм АКБ и разъемов жгутов проводов.
1.4. Не допускается отключать АКБ от бортовой сети или разъединять колодки электронного блока при работающем двигателе.
1.5. Не допускается подвергать электронный блок управления воздействию температуры более 80 °С.
1.6. Все измерения напряжения выполнять вольтметром с номинальным внутренним сопротивлением не менее 10 МОм/В.
1.7. При проверке электрических цепей автомобиля использовать пробник с лампой на ток потребления не выше 0,25 А, рис.1.

Рис.1. Схема проверки электрического пробника:
1 - аккумуляторная батарея, 2 - пробник с лампой типа А 12-1,2 (00), 3 - амперметр типа М - 2001 ГОСТ 8711-78: 4 - тумблер типа ТВ - 1 ГОСТ .
2. УСТРОЙСТВО ЭЛЕКТРОННОЙ СИСТЕМЫ ВПРЫСКА ТОПЛИВА
2.1. Двигатель, установленный на данных автомобилях, оборудован электронной системой впрыска топлива с электронным блоком управления (ЭБУ), обеспечивающим выполнение российских норм токсичных выбросов с отработавшими газами (ОГ) при сохранении высоких ездовых качеств и низкого расхода топлива. Помимо управления топливоподачей ЭБУ управляет временем накопления энергии (tH) и моментом зажигания, частотой вращения коленчатого вала на режиме холостого хода, электробензонасосом, тахометром, контрольной лампой диагностики двигателя "CHECK ENGINE" (ПРОВЕРЬ ДВИГАТЕЛЬ), расположенной на панели приборов, вентилятором системы охлаждения двигателя и муфтой компрессора кондиционера (при его наличии), а также формирует на маршрутный компьютер сигналы скорости автомобиля и расхода топлива. Рабочие параметры, определяемые ЭБУ, приведены на рис.2.

Рис.2. Определяемые ЭБУ параметры и управляемые им системы.
ЭБУ определяет наличие неисправностей, оповещает о них водителя лампой "CHECK ENGINE" и сохраняет в памяти коды, обозначающие характер неисправности и помогающие механику осуществить ремонт.
2.2. Система управления включает в себя ряд датчиков: датчик температуры охлаждающей жидкости, датчик детонации, датчик массового расхода воздуха, датчик положения коленчатого вала, датчик скорости автомобиля, датчик положения дроссельной заслонки, а также СО-потенциометр для регулировки топливно-воздушной смеси.
2.2.1. Датчик температуры охлаждающей жидкости (термисторный) устанавливается в потоке охлаждающей жидкости двигателя. Термистор, находящийся внутри датчика, является термистором с "отрицательным температурным коэффициентом" - при нагреве его сопротивление уменьшается. Высокая температура охлаждающей жидкости вызывает низкое сопротивление (70 Ом при 130 °С), а низкая температура даст высокое сопротивление (1007000м при-40°С).
ЭБУ подает на датчик температуры охлаждающей жидкости напряжение 5 В через резистор с постоянным сопротивлением, находящийся внутри ЭБУ Температуру охлаждающей жидкости ЭБУ рассчитывает по падению напряжения на датчике, имеющем переменное сопротивление. Падение напряжения высокое на холодном двигателе и низкое на прогретом.
2.2.2. Датчик детонации (ДД) (пьезоэлектрического типа) устанавливается на блоке двигателя. Во время возникновения детонации двигателя датчик генерирует сигнал переменного тока, совпадающий с частотой детонации.
ЭБУ подает на ДД опорное напряжение 5 В. Резистор, расположенный внутри датчика понижает напряжение до 2,5 В Сопротивление резистора от 330 до 450 Ом. Во время нормальной (без детонации) работы двигателя напряжение на выходе датчика остается постоянным на уровне 2,5 В. При появлении детонации ДД генерирует сигнал переменного тока. который поступает в ЭБУ по той же цепи, по которой подается опорный сигнал 5 В. Это возможно потому, что опорный сигнал 5 В является напряжением постоянного тока, а обратный сигнал детонации - напряжением переменного тока. Амплитуда и частота сигнала переменного тока ДД зависят от уровня детонации. ЭБУ считывает этот сигнал и корректирует угол опережения зажигания для гашения детонации.
2.2.3. Датчик массового расхода воздуха (ДМРВ) (термоанемометрического типа) устанавливается между воздушным фильтром и дроссельным патрубком. ДМРВ имеет три чувствительных элемента, установленных в потоке всасываемого воздуха. Один из элементов определяет температуру окружающего воздуха, а два остальных нагреваются до заранее установленной температуры, превышающей температуру окружающего воздуха.
Во время работы двигателя проходящий воздух охлаждает нагревательные элементы. Массовый расход воздуха определяется путем измерения электрической мощности, необходимой для поддержания заданного превышения температуры на нагревательных элементах относительно температуры окружающего воздуха.
ЭБУ подает на ДМРВ опорный сигнал 5 В через резистор с постоянным сопротивлением, находящийся внутри ЭБУ. Выходной сигнал с ДМРВ представляет собой сигнал напряжения величиной от 4 до 6 В с изменяющейся частотой. Большой расход воздуха через датчик дает выходной сигнал высокой частоты (скоростной режим). Малый расход воздуха через ДМРВ дает выходной сигнал низкой частоты (холостой ход).
ЭБУ получая частотные сигналы с ДМРВ и сравнивая их с данными в памяти определяет длительность управляющих импульсов на открытие форсунок.
2.2.4. Датчик 3, рис 3, положения коленчатого вала (электромагнитный) устанавливается на кронштейне в районе передней крышки блока двигателя с зазором около 1 мм от шкива коленчатого вала. Шкив представляет собой специальный диск 4, установленный на носке коленчатого вала. Шкив имеет 58 зубцов по окружности, зубцы равноудалены и расположены через 6°. Для генерирования "импульса синхронизации" два зуба на шкиве отсутствуют. При вращении коленчатого вала зубцы диска изменяют магнитное поле датчика создавая наведенные импульсы напряжения, рис. 4.
На базе импульсов датчика положения коленчатого вала ЭБУ определяет положение и частоту вращения коленчатого вала, включает топливные форсунки 1/4 цилиндров по импульсу синхронизации (и через 180° поворота коленвала форсунки 2/3 цилиндров) ЭБУ определяет импульс синхронизации сравнивая время между импульсами и подает сигнал напряжения постоянного тока на модуль зажигания. Модуль зажигания возбуждает устройства согласования катушек, которые в свою очередь запускают пары свечей зажигания 1/4 и далее 2/3 цилиндров.
2.2.5. Датчик скорости автомобиля (на эффекте Холла) устанавливается на выходном валу привода спидометра ЭБУ посылает на датчик скорости опорное напряжение 12 В. Датчик скорости выдает на ЭБУ импульсный сигнал частота которого соответствует скорости движения автомобиля. Датчик скорости участвует в управлении работой системы впрыска.
2.2.6. Датчик положения дроссельной заслонки установлен сбоку на корпусе дроссельного патрубка на оси дроссельной заслонки. Датчик представляет собой резистор потенциометрического типа, на один из выводов которого с ЭБУ подается опорное напряжение 5 В, а второй вывод соединен с массой. Третий вывод соединяет подвижный контакт датчика с ЭБУ, что позволяет электронному блоку на основе выходного сигнала с датчика определять положение дроссельной заслонки и с учетом данных других датчиков рассчитывать длительность импульсов на форсунку.

Рис.3. Диск и датчик положения коленчатого вала Вид сзади:
1 - жгут проводов, 2 - колодка, 3 - датчик положения коленчатого вала, 4 - диск

Рис.4. Сигналы системы электронного зажигания:
А - импульсы напряжения с датчика положения коленчатого вала, В - дискретный входной сигнал на ЭБУ, С - сигнал "Момент зажигания" на 1 и 4 цилиндры, D - сигнал "Момент зажигания" на 2 и 3 цилиндры,
Е - положение коленчатого вала относительно ВМТ первого цилиндра.
При закрытом положении дроссельной заслонки выходной сигнал датчика ниже 0,7 В. При открытии дроссельной заслонки выходной сигнал возрастает, и при полностью открытом дросселе выходное напряжение должно быть выше 4,05 В.
При резком нажатии на рычаг управления дроссельной заслонкой ЭБУ воспринимает быстро возрастающее напряжение сигнала с датчика положения дроссельной заслонки и резко увеличивает количество импульсов на форсунки. Этот режим аналогичен режиму работы ускорительного насоса для двигателей с карбюратором.
2.2.7. СО-потенциометр расположен в моторном отсеке на щитке передка с левой стороны по ходу движения автомобиля. Он представляет собой резистор потенциометрического типа.
СО-потенциометр подает в ЭБУ сигнал напряжения, который используется для регулировки состава топливно-воздушной смеси с целью получения нормированного уровня концентрации окиси углерода (СО) в отработавших газах на холостом ходу. ЭБУ подает на СО-потенциометр напряжение 5 В. При повороте винта СО-потенциометра это напряжение изменяется от 1 В до 4,6 В. ЭБУ считывает этот сигнал от СО-потенциометра и использует его для регулировки соотношения воздух/топливо для обеспечения содержания СО в отработавших газах в пределах норм токсичности России (в пределе 1%).
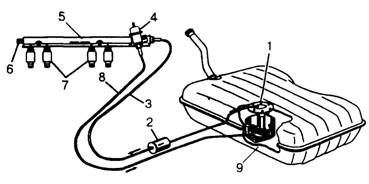
2.3. ЭБУ управляет системой подачи топлива, рис.5, которая включает в себя реле электробензонасоса и электробензонасос 1, топливный фильтр 2, топливопроводы 3 и 8, топливную рампу 5 со штуцером 6 для контроля давления топлива, форсунками 7 и регулятором 4 давления топлива.
2.3.1. Электробензонасос 1 турбинного типа, погружиой, устанавливается в топливном баке 9 и запитывается напряжением 12 В через реле электробензонасоса, управляемое ЭБУ. При установке ключа зажигания в положение "зажигание" или "стартер" ЭБУ подаст питание на реле электробензонасоса, и насос обеспечивает подачу топлива на форсунки под давлением от 284 до 325 кПа (от 2,84 до 3,25 кгс/см2).

Рис 5 Система подачи топлива:
1 - электробензонасос, 2 - топливный фильтр, 3 - трубопровод подачи топлива, 4 - регулятор давления топлива, 5 - топливная рампа 6 - штуцер для контроля давления топлива, 7 - форсунки, 8 - трубопровод обратного слива топлива, 9 - бак топливный

Рис. 6. Агрегат дроссельного патрубка:
1 - корпус дроссельного патрубка, 2, 5 - штуцер отбора разрежения, 3 - регулятор холостого хода, 4 - датчик положения дроссельной заслонки, 6 - штуцеры для подвода и отвода охлаждающей жидкости насоса, и насос 1 обеспечивает подачу топлива на форсунки под давлением от 284 до 325 кПа (от 2,84 до 3,25 кгс/см2).
Избыток топлива, сверх количества требующегося форсунке, возвращается в бензобак по трубопроводу 8 обратного слива. Если в течение двух секунд прокрутка стартером двигателя не начинается, ЭБУ выключает реле электробензонасоса и ожидает начала прокрутки двигателя. При начале прокрутки двигателя ЭБУ распознает вращение по опорному сигналу датчика положения коленчатого вала и вновь включает реле электробензонасоса.
2.3.2. Топливный фильтр 2 установлен под днищем кузова около бензобака Фильтр встроен в линию подачи топлива между электробензонасосом 1 и топливной рампой 5. Корпус фильтра изготовлен из стали и имеет резьбовые штуцеры для присоединения трубопроводов. Фильтрующий элемент изготовлен из бумаги и предназначен для улавливания содержащихся в топливе частиц, которые могут привести к повреждению системы впрыска.
2.3.3. Форсунка 5, рис 7, (каждая из четырех) установлена одним концом в топливной рампе 1 другим в отверстии впускной трубы 3, герметичность соединений обеспечивается с помощью уплотнительных колец 2.
Форсунка, рис 8, представляет собой устройство с электромагнитным клапаном который при получении электрического импульса с ЭБУ втягивает сердечник 7, в результате чего подпружиненный шариковый клапан 4 отходит от своего седла и позволяв топливу пройти через сетчатый фильтр 10 из тонкой сетки и направляющую пластину 2 в распылительную насадку 5. Топливо под давлением направляется коническим факелом на впускной клапан 4, рис 7. По истечении электрического импульса электромагнит отключается, и подпружиненный шариковый клапан 4, рис.8, запирается, перекрывая подачу топлива ЭБУ включает топливные форсунки попарно (1/4 или 2/3 цилиндров).
Пары форсунок включаются попеременно через каждые 180° поворота коленвала. Эта схема называется попеременным синхронным двойным впрыском.
Номинальное сопротивление обмотки форсунки от 11 до 13,4 Ом, при 20 °С.
2.3.4. Регулятор 4, рис.5, давления топлива установлен на топливной рампе 5. При падении давления топлива ниже установленного предела (284 кПа) пружина регулятора давления прижимает диафрагму и клапан к седлу клапана После закрытия регулятора 4 слив топлива в бензобак 9 прекращается и создаются условия для нарастания давления на входе. Когда давление топлива превысит усилие пружины регулятора давления, клапан открывается для сброса избытка топлива в линию слива (трубопровод 8).
Рампа форсунок 5 представляет собой полую планку, с установленными на ней форсунками и регулятором давления топлива. Топливная рампа закреплена на впускной трубе двигателя. На рампе форсунок расположен штуцер для контроля давления топлива, закрытый резьбовой пробкой.
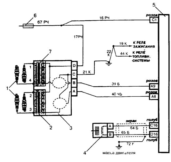
2.4. В состав электронной системы впрыска топлива входит система непосредственного зажигания, рис.9.
Система зажигания состоит из свечей 1, модуля зажигания 3 в сборе с двумя катушками зажигания 2 и 7, датчика 4 положения коленчатого вала и ЭБУ 5.
В электронной системе зажигания применен метод "холостой искры". Каждая катушка генерирует высоковольтные импульсы на соответствующую пару свечей (1/4 или 2/3 цилиндров) зажигания. Искрообразование происходит одновременно в цилиндре, находящемся на такте сжатия (рабочая искра), и в цилиндре, находящемся на такте выпуска ("холостая искра"). На искро-образование в цилиндре, находящемся на такте сжатия, требуется большое количество энергии. Остаток энергии используется в цилиндре, находящемся на такте выпуска. Аналогичный процесс повторяется, когда цилиндры меняются ролями.
|
Рис.7 Установка топливной форсунки |
- топливная рампа, |
- уплотнительные кольца, |
- впускная труба, |
- впускной клапан, |
- форсунка, |
- разъем, |
- стопорная скоба |
|
Рис 8 Топливная форсунка |
- корпус форсунки; |
- направляющая пластина |
- с проставкой, |
- седло клапана, |
- шариковый клапан, |
- распылительная насадка, |
- корпус распылителя, |
- сердечник с пружиной, |
- катушка, |
- разъем, |
- фильтр |

Рис.9. Схема электрическая системы непосредственного зажигания:
1 - свечи зажигания, 2 - катушка зажигания 2 и 3 цилиндров, 3 - модуль системы непосредственного зажигания; 4 - датчик положения коленчатого вала; 5 - электронный блок управления (ЭБУ), 6 - предохранитель "Y" (зеленый); 7 - катушка зажигания 1 и 4 цилиндров Обозначение цвета проводов. Б - белый, Ч - черный, Р - розовый, К - коричневый.
Назначение клемм ЭБУ: С1 - входной сигнал напряжения от реле зажигания; А8 - выходной сигнал управления зажиганием на катушку 2 и 3 цилиндров; А9 - выходной сигнал управления зажиганием на катушку 1 и 4 цилиндров, С16 - входной сигнал (высокого уровня) с датчика положения коленчатого вала, D16 - входной сигнал (низкого уровня) с датчика положения коленчатого вала.
Электронное управление зажиганием включает четыре цепи между модулем 3 зажигания и электронным блоком 5 управления.
2.4.1. Цепь напряжения питания - провод 17 РЧ. По цепи питания обеспечивается подача напряжения +12 В с предохранителя "Y" (15 А) на клемму "D" модуля 3 зажигания.
2.4.2. Цепь заземления - провод 21 К. Цепь заземления идет от торца крышки головки блока цилиндров на клемму "С" модуля 3 зажигания.
2.4.3. Цепь управляющего сигнала зажигания на 1/4 цилиндры - провод 39 Б При вращении коленчатого вала ЭБУ подает управляющий сигнал зажигания на клемму "В" модуля 3 зажигания. Этот сигнал дает команду модулю на включение первичного тока катушки 7 и выдачи вторичного напряжения на 1/4 цилиндры.
2.4.4. Цепь управляющего сигнала зажигания на 2/3 цилиндры - провод 4U ЧБ. При вращении коленчатого вала ЭБУ подает управляющий сигнал на клемму "А" модуля 3 зажигания. Этот сигнал дает команду модулю на включение первичного тока катушки 2 и выдачи вторичного напряжения на 2/3 цилиндры.
ЭБУ на базе сигналов с датчика 4 положения коленчатого вала управляет углом опережения зажигания и временем накопления энергии на всех ездовых режимах.
Во время запуска двигателя ЭБУ запускает последовательность срабатывания свечей зажигания по импульсу синхронизации. При частоте вращения коленчатого вала ниже 500 мин -1. ЭБУ регулирует угол опережения зажигания только на базе данных с датчика положения коленвала. При возрастании частоты вращения за 500 мин-1 ЭБУ переходит в режим электронного управления двигателем используя дополнительно сигналы с других датчиков.
2.5. В состав электронной системы впрыска топлива входит система впуска воздуха рис. 10.
|
Рис.10 Система впуска воздуха (воздушный фильтр приподнят):
1 - ресивер, 2 - дроссельный патрубок, 3 - шланг впускной трубы, 4 - датчик массового расхода воздуха, 5 - воздушный фильтр
Система впуска воздуха состоит из ресивера 1, дроссельного патрубка 2, шланга впускной трубы 3, датчика массового расхода воздуха 4, воздушного фильтра 5.
2.5.1. Воздушный фильтр 5 установлен в передней части подкапотного пространства и закреплен на резиновых опорах. Фильтрующий элемент воздушного фильтра - бумажный с большой площадью фильтрующей поверхности.
2.5.2. Дроссельный патрубок системы распределенного впрыска топлива закреплен на ресивере 1. Он дозирует количество воздуха, поступающего во впускную трубу. Поступлением воздуха в двигатель управляет дроссельная заслонка, соединенная с приводом педали акселератора. Дроссельный патрубок в сборе имеет в своем составе датчик положения дроссельной заслонки и регулятор холостого хода.
Регулятор холостого хода 3, рис.6, установлен на корпусе 1 дроссельного патрубка. Регулятор состоит из двухполюсного шагового двигателя с двумя обмотками и соединенного с ним конусного клапана. Клапан регулятора холостого хода установлен в канале подачи воздуха для обеспечения режима холостого хода двигателя. Клапан регулятора выдвигается или убирается, реагируя на управляющие сигналы ЭБУ.
Регулятор холостого хода регулирует частоту вращения коленчатого вала на режиме холостого хода, управляя количеством воздуха, подаваемым в обход закрытой дроссельной заслонки.
В полностью выдвинутом положении (выдвинутое до упора положение соответствует "О" шагов), клапан перекрывает подачу воздуха в обход дроссельной заслонки. При открывании клапан обеспечивает расход воздуха, пропорциональный количеству шагов клапана от своего седла. Полностью открытое положение соответствует 255 шагам.
Частоты вращения коленвала на холостом ходу (при закрытой дроссельной заслонке) запрограммированы в ЭБУ и поддерживаются постоянными независимо от изменения нагрузки двигателя (включение электровентилятора, компрессора кондиционера и т. д.).
При каждом выключении зажигания ЭБУ устанавливает клапан регулятора в закрытое положение ("0" шагов). Затем ЭБУ открывает клапан на расчетное количество шагов (порядка 60 шагов) для обеспечения достаточной подачи воздуха при последующем пуске двигателя.
3. СЧИТЫВАНИЕ КОДОВ НЕИСПРАВНОСТЕЙ
Коды неисправностей хранящиеся в памяти ЭБУ, можно считывать с помощью прибора DST2 (ручной диагностический прибор, подключаемый к колодке диагностики) или по количеству включений лампы "CHECK ENGINE".
|
Из за большого объема этот материал размещен на нескольких страницах:
1 2 3 4 5 |






