
Пеллетная горелка pv 30a
Инструкция по эксплуатации
Содержание |
Содержание……………………………………………………………………………………………………………………...2 |
Техника безопасности……………………………………………………………………………………………….….3 |
Комплектация………………………………………………………………………………………………………….……4 |
Описание……………………………………………………………………………………………………………..………….4 |
Топливо............................................................................................................................7 |
Установка..........................................................................................................................7 |
Требования к котлу...........................................................................................................8 |
Горелка..........................................................................................................................10 |
Контейнер для пеллет.................................................................................................12 |
Внешний шнек...............................................................................................................12 |
Электрические соединения..........................................................................................13 |
Эксплуатация...................................................................................................................15 |
Запуск............................................................................................................................15 |
Регистрация действий................................................................................................16 |
Настройка....................................................................................................................17 |
Меню информации………………………………………………………………………………….……….………..17 |
Языки……………………………………………………………………………………………………………….…..……..18 |
Заправка топливом……………………………………………………………………….…………………………..19 |
Техническое обслуживание………………………………………………………………………………………..19 |
Принцип работы…………………………………………………………………………………………………….……...21 |
Тестирование…………………………………………………………………………………………………….……….21 |
Загрузка…………………………………………………………………………………………………………..…..……..21 |
Розжиг……………………………………………………………………………………………………………..….……..22 |
Воспламенение………………………………………………………………………………………………..….……..22 |
Горение………………………………………………………………………………………………………………………..22 |
Контроль шнека……………………………………………………………………………………………………..22 |
Определение уровня топлива………………………………………………………………..……………..22 |
Уровни выходной мощности…………………………………………………………………………..……..22 |
Поддержание пламени……………………………………………………………………………….…………..23 |
Выключение пламени……………………………………………………………………………….………..…..23 |
Остановка подачи воздуха……………………………………………………….…………………………...23 |
Описание пульта управления ……………………………………………………………………………………...24 |
Возможные неполадки и способы их устранения ………………………………………………….…..25 |
Гарантии………………………………………………………………………………………………………………………..27 |
Техника безопасности |
Прежде чем включить горелку, проверьте соединение горелки с котлом и соединение котла с дымовой трубой. |
При обращении с пеллетами рекомендуется надеть респиратор. |
Котельная, где установлена горелка, должна соответствовать всем действующим нормам и правилам РФ. |
Все электрические соединения должны выполняться только квалифицированными специалистами. |
Нельзя хранить легковоспламеняющиеся материалы рядом с горелкой. |
Предупреждения |
> Запрещено производить любые конструктивные изменения горелки без письменного разрешения производителя. > Во избежание повреждения горелки и аварии в результате данного повреждения используйте только те запасные части, которые предоставлены производителем или которые им одобрены. > Сварные работы разрешается производить только после отключения электричества от горелки. Монтажная плата должна быть удалена из горелки. > Нельзя открывать дверцу котла во время горения. |
Горелка соответствует следующим инструкциям и стандартам: |
Инструкция 2004/108/EC Инструкция 2006/95/EC Инструкция 2001/95/EC Инструкция 2006/42/EC |
EN 15ЕВРОПЕЙСКОЕ ЗАКОНОДАТЕЛЬСТВО) EN EN 60370- |
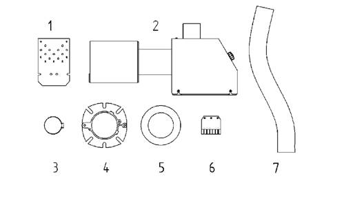
Стандартная комплектация | |
Горелка поставляется в следующей комплектации: | |
1. | Решетка |
2. | Горелка |
3. | Хомуты для шланга (2шт.) |
4. | Фланец |
5. | Керамическое уплотнение |
6. | 7-полюсный разъем котла |
7. | Шланг |
8. | Инструкция по эксплуатации |

Описание
Пеллетная горелка PV 30a предназначена для использования древесных пеллет диаметром 6 - 8 мм. Нельзя использовать любое другое топливо при эксплуатации данной горелки.
Уникальная конструкция PV30a позволяет использовать ее с различным наддувными, твердотопливными и универсальными котлами. Горелка PV 30a крепится к котлу с помощью 90 мм фланца (как газовые или жидкотопливные горелки).
Благодаря уникальному электрическому розжигу и автоматическому выбору уровня выходной мощности данную горелку можно использовать многие годы. Процесс горения не использует запальное пламя.
Горелка оборудована предохранительным термостатом, датчиком температуры, расплавляющимся шлангом для защиты от обратного пламени,\ и резервной батареей для защиты при отключения электропитания.
Основные компоненты горелки показаны на рисунке 1
1. Топка 9.Двигатель винтового шнека
2. Винтовой шнек 10. Вентилятор
3. Предохранительное термореле 11. Датчик уровня топлива
4. Сетевой трансформатор 12. Монтажная гайка
5. Кнопки управления 13. Датчик пламени
6. ЖК-дисплей 14. Запальник (ТЭН)
7. Резервная батарея 15. Решетка
8. Соединительные разъемы

Рисунок 1 Основные компоненты горелки

Рисунок 2 Размеры
Таблица 1 Технические характеристики
L общая длина | мм | 550 |
L1 длина корпуса горелки | мм | 230 |
L2 длина топки | мм | 203 |
D диаметр топки | мм | 163 |
D1 диаметр горловины топки | мм | 88.9 |
D2 диаметр корпуса внутреннего шнека | мм | 60 |
H общая высота | Мм | 250 |
H1 высота корпуса горелки | Мм | 200 |
W общая ширина | Мм | 220 |
W1 ширина корпуса горелки | мм | 204 |
Вес | кг | 12.5 |
Напряжение питания | Напряжение переменного тока | 220-240 |
Максимальная мощность | Вт | 570 |
Средняя мощность | Вт | 25-40 |
Мощность в режиме ожидания | Вт | 7 |
Шумность | дБ | 52 |
Экологический класс (эмиссия)1 | - | - 5 |
Рабочая температура | Co | 0-60 |
Номинальная тепловая мощность | кВт | 30 |
Мин. тепловая мощность | кВт | 15 |
1. В соответствии с EN 15270
Топливо
В качестве топлива в горелке PV 30a используются древесные пеллеты хорошего качества. Древесные пеллеты - это спрессованные гранулы из опилок и стружки. Пеллеты прессуются при высокой температуре. Гранулы скрепляются с помощью природного компонента, который есть в дереве – лигнин - без добавления каких-либо дополнительных материалов. Пеллеты - это экологически чистый, возобновляемый источник топлива. Гранулы должны храниться в сухом и проветриваемом помещении. При обращении с пеллетами рекомендуется надеть респиратор.
Только пеллеты надлежащего качества могут быть использованы в горелках PV 30a. Дозаправка должна быть проведена до того, как закончатся пелеты в расходном бункере. Если дозаправка не была произведена своевременно, в Главном меню необходимо переключить режим Горелки : ON-OFF-ON. В таком случае внешний шнек сможет работать бесперебойно до 20 мин. Этого времени будет достаточно для его наполнения гранулами.
Таблица 2 Характеристики пеллет
Сырье | Древесные опилки и стружки |
Удельная теплота сгорания | кВт-ч / т |
Насыпная плотность | CA 650-670 кг / м 3 |
Объем на 1 т | 1.5-1.6 m3 |
Диаметр | 6-10 мм |
Длина | 3-5 х диаметр |
Содержание воды | 8-10% |
Содержание золы | Ca 0,5% |
Замена 1000 л дизельного топлива | около 2 тонн, или 3 м3 |
Установка
Вам понадобятся следующие инструменты для установки горелки:
• Ключ на 13 для крепления фланца горелки к котлу
• Ключ на 10 для присоединения корпуса горелки к топке
• Крестовая отвертка для крепления крышки горелки
• 4 мм шестигранник для фиксации горловины топки к фланцу
Для установки горелки котел должен соответствовать следующим требованиям:
• Дверь котла должна иметь отверстие диаметром 90 мм (отверстие под топливную форсунку).
• Толщина двери котла должна быть не более 100 мм
• Конструкция котла должна обеспечивать открытие двери котла с горелкой для удаления золы и чистки. Если дверь котла слишком узка для ее открытия вместе с горелкой, то должны быть установлены дополнительные петли.
• Если в котле нет достаточного разрежения (менее 5Pa), то необходимо установить вытяжной вентилятор для выхлопных газов.
• Котельная, где установлена горелка, должна соответствовать всем действующим нормам и правилам РФ.
• Котел должен быть расположен таким образом, чтобы было достаточно места для чистки горелки и удаления золы из котла и дымовой трубы.
Если температура дымовых газов в верхней части дымохода меньше 80ОС, существует риск конденсации водяных паров в дымоходе. В таком случае в дымовой трубе необходимо установить вставку из нержавеющей стали.
Примечание: Для настройки горелки рекомендуется использовать дымовой газоанализатор. Горелка должна быть заново настроена при помощи дымового газоанализатора при изменении размера или качества пеллет.
Требования к котлу
Пеллетные горелки необходимо регулярно чистить, поэтому конструкция котла должна позволять открывать дверцу, не снимая горелки. Минимальный размер отверстия в котле зависит от положения дверных петель и наоборот. Рисунок 3 ниже иллюстрирует данную ситуацию. Точка С является критической.
|
Из за большого объема этот материал размещен на нескольких страницах:
1 2 3 |


