ЧЕТЫРЕХСТОЕЧНЫЙ ЭЛЕКТРОГИДРАВЛИЧЕСКИЙ АВТОМОБИЛЬНЫЙ ПОДЪЁМНИК
WERTHER 450АТ
Содержание
Упаковка, транспортировка и хранение Страница 4
Введение Страница 5
Глава 1 Описание машины Страница 5
Глава 2 Технические спецификации Страница 9
Глава 3 Безопасность Страница 15
Глава 4 Установка Страница 24
Глава 5 Работа Страница 36
Глава 6 Обслуживание Страница 37
Глава 7 Поиск неисправностей Страница 40
Приложение А: Специальные примечания Страница 41
Приложение B: Запасные части Страница 41
УПАКОВКА, ТРАНСПОРТИРОВКА И ХРАНЕНИЕ
УПАКОВКА, ПОДЪЕМ, ПЕРЕМЕЩЕНИЕ, ТРАНСПОРТИРОВКА И РАСПАКОВКА ДОЛЖНЫ ВЫПОЛНЕНЯТЬСЯ ИСКЛЮЧИТЕЛЬНО ОБУЧЕННЫМ ПЕРСОНАЛОМ СО ЗНАНИЕМ ПОДЪЕМНИКА И СОДЕРЖАНИЯ ЭТОГО РУКОВОДСТВА
УПАКОВКА
Комплект поставки включает:
Вес
4 стойки 44
2 траверсы 95
2 подъемных рампы 25
2 тормоза 2.6
2 платформы: командная часть 325
противоположная часть 240
1 насосная станция 30
1 комплект защиты ног 15
Подъемник поставляется в единой упаковке (Рис. 1), стянутой двумя стальными стропами, вес упаковки приблизительно 1050 кг.
ПОДЪЕМ И ПЕРЕМЕЩЕНИЕ
Упаковку можно поднимать и перемещать только при помощи автокара - подъемника с шириной подъемных лап не менее 90 см.( рис.1).
Перемещать за один раз можно только по одной упаковке.

Рис. 1 Рис. 2
Никогда не поднимайте подъемник посредством крана (рис.2).
ХРАНЕНИЕ
Упакованный подъемник должен хранится в сухом помещении при температуре от -10° до + 40°С без воздействия прямого солнечного света..
ШТАБЕЛИРОВАНИЕ
Разрешается укладывать в штабель до 2 упаковок подъемников в высоту.
При перевозке автомобилем разрешается ставить друг на друга до двух упаковок с надлежащим раскреплением.
РАСПАКОВКА
При распаковке следует визуально проверить целостность и комплектность оборудования.
Распаковку следует производить с надлежащими мерами предосторожности во избежание повреждения оборудования или травмирования работников.
ВВЕДЕНИЕ
ВНИМАНИЕ
Это руководство разработано для персонала непосредственно работающего на подъемнике (оператор), и лиц, осуществляющих его техническое обслуживание (монтер обслуживания). Внимательно прочитайте руководство перед выполнением любой операции с подъемником. Это руководство содержит важную информацию относительно:
· ЛИЧНОЙ БЕЗОПАСНОСТИ операторов и рабочих обслуживания,
· БЕЗОПАСНОСТИ ПОДЪЕМНИКА,
· БЕЗОПАСНОСТИ ТРАНСПОРТНЫХ СРЕДСТВ
СОХРАНЕНИЕ РУКОВОДСТВА
Руководство - неотъемлемая часть подъемника, которая должна всегда сопровождать оборудование.
Руководство должно храниться около подъемника в легко доступном месте.
Оператор и штат обслуживания должны быть в состоянии консультироваться с руководством быстро и в любое время.
Подъем, транспортировка, распаковка, сборка, установка, запуск, первичная регулировка и испытание, ЭКСТРАОРДИНАРНОЕ обслуживание, ремонт, утилизация и демонтирование подъемника должны быть выполнены специализированным персоналом от ИЗГОТОВИТЕЛЯ или ЦЕНТРА ОБСЛУЖИВАНИЯ, уполномоченного изготовителем.
Изготовитель отклоняет любую ответственность за рану людям или повреждения транспортным средствам или объектам, когда любая из вышеупомянутых операций была выполнена неуполномоченным персоналом или когда оборудование использовалось не по прямому назначению.
Это руководство указывает действующие аспекты безопасности, которые могут оказаться полезными для оператора и рабочего обслуживания и конструктивные особенности подъемника.
Чтобы понимать терминологию, используемую в этом руководстве, оператор должен иметь определенный опыт в работы с аналогичным оборудованием, способность интерпретировать правильно рисунки и описания, содержавшиеся в руководстве и быть ознакомлен с правилами техники безопасности, принятыми в регионе, где установлена машина. То же самое относится к монтеру обслуживания, который должен также обладать определенными и специализированными знаниями по ремонту оборудования.
ГЛАВА 1 ОПИСАНИЕ МАШИНЫ
Подъемники 4-х стоечные устанавливаются посредством жесткой фиксации к полу. Они используются для подъема автомобилей. Подъемник состоит из одной части, которая жестко зафиксирована к полу ( стойки) , и второй – подвижной части ( траверсы и платформы). Тип функционирования – электрогидравлический.
Данный подъемник состоит из следующих четырех частей:
- группа жестко установленной структуры
- группа мобильной структуры;
- группа подъемная;
- устройства безопасности.
На рис.3 показаны части, из которых состоит подъемник и рабочие зоны, расположенные вокруг подъемника.
Операторская сторона: передняя часть, включающая в себя место оператора с командным пультом.
Задняя сторона: Зона, противоположная операторной зоне, где находится подъемные рампы.
Правая и левая стороны: расположены соответственно по отношению к командному пульту.
Опасная сторона: Зона, где запрещено находиться людям во время работы подъемника.
![]() |
Рис. 3
1- стойка с командным пультом
2- стойка передняя левая
3- стойка задняя левая
4- стойка задняя правая
5- траверса передняя
6- траверса задняя
7- платформа правая, зафиксированная
8- платформа левая, подвижная
ГРУППА ЖЕСТКО УСТАНОВЛЕННОЙ СТРУКТУРЫ
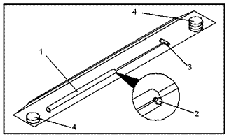
Группа 4-х вертикальны колонн, которые при помощи анкерных болтов крепятся жестко к полу ( рис. 4).
Каждая стойка содержит (рис.4):
§ Линейка безопасности с прорезями (1) для опоры замков безопасности.
§ Стальной трос для подъема (2).
§ Направляющая для вертикального скольжения траверс (3).

Рис. 4 Рис. 5
На вершине каждой стойки прикреплены (рис.5):
§ Наконечник линейки безопасности (4)(при помощи гайки и контргайки М20).
§
|

Рис. 6
ГРУППА МОБИЛЬНОЙ СТРУКТУРЫ
Состоит из двух траверс и двух платформ.
Каждая траверса двигается вертикально между двумя сиойками.
На рис. 7 видно, что на концах каждой траверсы прикреплены:
§ Шкивы (1) троса подъема.
§ Замки безопасности (3).
Замок безопасности (рис.7 поз.3) действует автоматически во время всей фазы подъема и остановки. Отключается во время фазы спуска.
В случае разрыва троса, датчик обрыва троса (рис.8 поз.4) останавливает электрические части подъемника и приводит в действие замки безопасности, таким образом, останавливая мобильную часть подъемника.

Рис. 7 Рис. 8
Две платформы для подъема машин (рис.9, поз. 1) опираются на траверсы. Левая платформа жестко прикреплена к траверсам, тогда как правая платформа подвижна и может скользить в горизонтальной плоскости, для возможности адаптировать подъемник под подъем автомобилей различной ширины. Обе платформы дополнены тормозами (2) для того, чтобы колеса автомобиля могли быть зафиксированы, чтобы предупредить возможное смещение автомобиля за край подъемника.
Въездные мостки (3) навешаны на платформы и принимают вертикальную позицию при подъеме автомобиля, блокируя колеса с задней стороны.

Рис. 9
Внутри фиксируемой платформы находятся элементы привода (рис.10) доступные только с нижней стороны:
§ Гидравлический цилиндр подъема (1)
§ Блокировочный клапан (2)
§ Элемент крепления (3) стальных тросов
§ Две группы шкивов (4) тросов.
![]() |
Рис. 10
ГЛАВА. 2 ТЕХНИЧЕСКИЕ СПЕЦИФИКАЦИИ
Грузоподъемность 4000 кг
Макс. высота подъема 1750 мм
Мин. высота подъемника 190 мм
Межосевое расстояние между стойками 4800 мм
Межосевое поперечное расстояние между стойками 3030 мм
Просвет между стойками 2850 мм
Ширина платформ 625 мм
Длина платформ 5000 мм
Время подъема 50 сек.
Время спуска 45 сек.
Стальной трос со следующими характеристиками:
Диаметр 11 мм
Количество жил 227
Сопротивление жил 1960 N
Диаметр шкива 220 мм
Шумность 70dB(A)/1м
Общий вес подъемника около 1030 кг
Рабочая температура - 10°С / + 50°С
Рабочее давление 150 бар
Рабочее помещение : закрытое
ЭЛЕКТРОДВИГАТЕЛЬ
Тип С90
Мощность 2.2 кВт
Напряжение 230-400 В +/- 5%
Частота 50 Гц
Полюса 4
Скорость 1400 об./мин
Констр. форма В14
Изоляц. класс F
Потребление 400В: 6,4A
При подключении мотора следуйте диаграммам подключения.
Вращение двигателя – левое (против часовой стрелки), как показано на табличке на корпусе.

Рис. 11
НАСОС
Тип 18
Модель 10А5Х348N
Производительность 5 см3/гр.
Постоянное рабочее давление 210 бар
Прерывистое рабочее давление 230 бар
Пиковое давление 250 бар
ГИДРАВЛИКА
В соответствии с типом подъемника может быть поставлено два типа гидравлических узлов. На рис.12 показана мод. К3 (OIL SISTEM).
1 | Обратный клапан |
2 | Электроклапан опускания |
3 | Ручное окрытие клапана опускания |
4 | Подача масла |
5 | Обратный шланг |
6 | Дроссель |
7 | Предохранительный клапан |
МАСЛО
Емкость для масла содержит гидравлическое масло на минеральной основе в соответствии с нормативами ISO/DIN 6743/4 категории не выше класса 18/15 в соответствии с нормативами ISO 4406 , как IP HYDRO OIL 32 или SHELLTELLUS T37, или эквивалентное.

Рис. 12
ЭЛЕКТРОСХЕМА
![]() |
Обозначение. | Наименование | Марка | Артикул | К-во |
C1-C2 | Электромагнит | WARNER | TT10 24VAC 50Hz | |
C3 | Электроклапан | OIL SISTEM | 24VAC50/60HZ ED100% | |
FU1-FU4 | Держатель предохранителя | WEBER | PCH10x38+CH 10x38 | |
PTC | Тепловая защита | Встроена в электродвигатель | ||
QM5 | Микровыключатель подъема | PIZZATO | FR654 | |
QS | Главный выключатель | SPRECHER | LA+LFS2-N-6-175+LA2-12 - C4+LA2-G2853+LA2-G3194 | |
KM1 | Контактор | TELEMECANIQUE | LC1K0910B7 24V50/60HZ | |
KA2 | Контактор спуска | TELEMECANIQUE | LC1D12+LA1DN11 | |
M | Электродвигатель | 230/400 V 50 Hz | ||
SB1 | Кнопка «Вверх» | TELEMECANIQUE | HB7EA21P(1NO) | |
SB2 | Кнопка «Вниз» | TELEMECANIQUE | HB7EA21P(1NO) | |
SB3 | Кнопка «Останов» | TELEMECANIQUE | ZB5AA8+ZB5AZ009+ZBE101 (WO) | |
FR2 | Магнитный выключатель | 20A TYPE С | ||
QM1/QM4 | Микровыключатель троса | PIZZATO | FR1454 | |
TM | Трансформаторr | C. E. | 230-400/24V300VA 50/60 Hz | |
Линейные клеммы | CABUR | CBD2 2.5mmq | ||
Клеммы | CABUR | TE4/D-TE4/0 4mma |
МОНТАЖНАЯ СХЕМА
ВНИМАНИЕ
Цвет проводов «желтый» может быть заменен на «серый».


![]() |
|
Из за большого объема этот материал размещен на нескольких страницах:
1 2 3 |






