На правах рукописи
![]() |
повышение эффективности предпосевной обработки семян яровой пшеницы с использованием низкочастотного электрического поля
Специальность 05.20.02 – Электротехнологии
и электрооборудование в сельском хозяйстве
Автореферат диссертации
на соискание ученой степени кандидата
технических наук
Барнаул - 2012
Работа выполнена в ФГБОУ ВПО «Алтайский государственный
технический университет им. »
Научный руководитель:
Официальные оппоненты:
Ведущая организация:
доктор технических наук, профес-сор (ФГБОУ ВПО «Алтайский государственный технический университет им. »)
доктор технических наук, старший научный сотрудник (ГНУ «Сибирский научно-исследовательский институт механизации и электрификации сельского хозяйства» Россельхозакадемии);
кандидат технических наук, доцент (ФГБОУ ВПО «Красноярский государственный аграрный университет»)
ФГБОУ ВПО «Новосибирский государственный аграрный университет»
Защита диссертации состоится 22 мая 2012 года в 13 часов на заседании диссертационного совета Д 212.004.02 при Алтайском государственном техническом университете им.
г. Барна, , http://www. *****,
e-mail: *****@
С диссертацией можно ознакомиться в библиотеке Алтайского государственного технического университета им. .
Отзывы на автореферат в двух экземплярах, заверенные печатью Вашего учреждения, просим направлять по указанному адресу на имя ученого секретаря диссертационного совета.
Автореферат разослан «21» апреля 2012 г.
Ученый секретарь
диссертационного совета
д. т.н., профессор
ОБЩАЯ ХАРАКТЕРИСТИКА РАБОТЫ
Актуальность темы. Разработка и широкое внедрение в различных областях современных электротехнологий на сегодняшний день является неотъемлемой и важной составляющей стратегического развития государства. К основным направлениям развития агропромышленного комплекса (АПК) регионов, и в частности Сибири, относятся: обеспечение сельскохозяйственной отрасли современными средствами производства; внедрение новых, наукоемких технологий в аграрное производство на всех его этапах: от предпосевной обработки семян до глубокой переработки зерна. Одно из важнейших мест в комплексе мероприятий по повышению эффективности сельскохозяйственного производства, в частности урожайности возделываемых культур, занимает работа с семенами, поскольку они являются носителями биологических и хозяйственных качеств растений и в значительной мере определяют качество и количество собираемого в итоге урожая.
Все большее распространение получают воздействия на семена физическими факторами с целью их стимуляции для ускорения роста, увеличения урожайности и повышения качества получаемой продукции. Особое место в ряду исследуемых физических воздействий занимают электрофизические факторы. Многочисленными исследованиями (, , , , и др.) в данной области доказано положительное влияние электромагнитных полей на посевные качества семян. Так в г. Красноярске в течение длительного времени успешно ведутся исследования учеными научной школы, созданной доктором технических наук, профессором . Ими найдены эффективные способы применения энергии электромагнитных полей высокой и сверхвысокой частоты. В ЧГАА ,
c учениками в качестве фактора для обработки семян успешно применили электрическое поле постоянного тока.
В настоящее время разработано достаточно большое количество разнообразных способов электрофизического воздействия на семена с целью увеличения урожайности и повышения эффективности сельскохозяйственного производства. Тем не менее, повсеместное их внедрение ограничено. Основными причинами, тормозящими широкое распространение электрофизических методов предпосевной обработки, являются высокая стоимость установок для стимуляции семян, а также значительное изменение сложившейся технологии предпосевной обработки.
Основной целью названных видов предпосевной обработки является обеззараживание зерна. Тем не менее, на сегодняшний день в хозяйствах по-прежнему прибегают к протравливанию. Отчасти это объясняется тем, что руководители хозяйств не желают нарушать сложившиеся комплексы удобрений и обработки посевов, а также устоявшиеся правила севооборота. Как известно, протравливание негативно отражается на жизнеспособности семян. Поэтому сохраняется необходимость в стимуляции семян, улучшении их посевных свойств и компенсации угнетающего действия протравителей.
Известно, что при различных значениях характеристик электромагнитных полей, используемых для обработки посевного материала, меняются и эффекты его воздействия. При этом влияние оказывают силовые и энергетические характеристики полей, частота, характер изменения и время воздействия, кроме того, влияние могут оказывать также некоторые сопутствующие факторы.
Но если обработке постоянными, высокочастотными и сверхвысокочастотными полями посвящено достаточно большое количество работ, то сведения об эффектах воздействия на семена низкочастотных (НЧ) электромагнитных полей практически отсутствуют, хотя и встречаются свидетельства того, что такого рода воздействие на посевной материал может давать существенный положительный эффект. Кроме того, имеющиеся на данном этапе исследований данные говорят о том, что обоснованное совмещение предпосевного протравливания и стимуляции семян воздействием вращающимися НЧ электрическими полями может значительно улучшить урожайные качества зерна. Таким образом, возникает необходимость дальнейшего исследования воздействия низкочастотного электромагнитного поля на посевные качества семян и совершенствования методов их предпосевной обработки.
Цель и задачи исследования. Целью диссертационной работы является создание технологии предпосевной обработки семян яровой пшеницы во вращающемся эллиптически поляризованном электрическом поле низкой частоты.
Для достижения поставленной цели в диссертации решались следующие задачи:
- выбрать и обосновать характеристику семян в качестве критерия, позволяющего оценить эффективность предпосевной обработки;
- разработать модель водопоглощения зерна пшеницы на основе диффузионных процессов под действием внешнего электрического поля и получить закономерности протекания исследуемых процессов в установке для предпосевной обработки семян электрическим полем НЧ;
- разработать методику расчета электротехнических и конструктивных параметров установки для предпосевной обработки семян электрическим полем и на ее основе определить рациональные режимы работы и параметры установки для предпосевной обработки с точки зрения выбранного критерия;
- экспериментально проверить влияние напряжённости и типа поляризации НЧ электрического поля на водопоглощение и посевные характеристики семян яровой пшеницы;
- разработать электротехнологию для предпосевной обработки семян и определить технико-экономическую эффективность ее использования в условиях сельскохозяйственного производства.
Объект исследования. Объектом исследования являются процессы, протекающие в посевном материале под воздействием низкочастотного электрического поля.
Предмет исследования. Предметом исследования является получение зависимостей относительного водопоглощения, всхожести, энергии прорастания зерна яровой пшеницы от параметров воздействующего вращающегося эллиптически поляризованного электрического поля низкой частоты.
Методы исследования. Теоретические исследования проводились с использованием методов математического моделирования, математической статистики, математического анализа. Экспериментальная часть исследования выполнена с помощью компьютерного моделирования и натурных экспериментов.
Научная новизна. Научная новизна исследования состоит в следующем:
- выбрана и обоснована характеристика семян, величина которой позволяет оценить эффективность предпосевной обработки;
- разработана модель водопоглощения зерна пшеницы на основе диффузионных процессов, протекающих в зерне под действием внешнего электрического поля НЧ;
- разработана электротехнология предпосевной обработки семян яровой пшеницы, в которой для стимуляции жизнеспособности семян впервые использовано эллиптическое электрическое поле низкой частоты;
- создана методика расчета параметров установки для предпосевной обработки семян электрическим полем.
На защиту выносятся:
- критерий, позволяющий характеризовать эффективность обработки семян яровой пшеницы на предпосевном этапе;
- математическая модель, связывающая относительное водопоглощение и напряженность воздействующего электрического поля низкой частоты;
- методика расчета электротехнических и конструктивных параметров установки для предпосевной обработки семян электрическим полем;
- технология предпосевной обработки семян в эллиптически поляризованном электрическом поле;
- зависимости относительного водопоглощения, всхожести, энергии прорастания семян яровой пшеницы от параметров воздействующего электрического поля.
Практическая значимость и реализация работы.
1. Получены наиболее эффективные значения напряженности НЧ электрического поля для рассматриваемых сортов, приближающиеся к
1100 В/м.
2. Получены теоретические и экспериментальные зависимости, позволяющие обоснованно подойти к проектированию установок для предпосевной обработки семян электрическим полем НЧ с различной конструкцией электродов.
3. Разработанная установка для предпосевной обработки семян электрическим полем, конструкция которой защищена патентом РФ на полезную модель (№ опубликовано 20.02.2011 Бюл. №5), позволяет обрабатывать зерно с производительностью до 2 т/ч, при этом повышение урожайности достигает 17 %.
4. Технология предпосевной обработки семян яровой пшеницы электрическим полем НЧ внедрена в сельскохозяйственных предприятиях Алтайского края, а именно: Чистюньский» Топчихинского района, "Крестьянско-фермерское хозяйство " с. Косиха, "Крестьянско-фермерское хозяйство " с. Контошино Косихинского района, СХПК «Союз» с. Шадринцево Тальменского района, р. п. Тальменка. Внедрение данной технологии позволило увеличить всхожесть и энергию прорастания пшеницы на 8-14 %. Методические рекомендации по использованию разработанной технологии переданы в управления по сельскому хозяйству Тогульского, Тальменского, Косихинского районов Алтайского края.
Апробация работы. Результаты исследований докладывались, обсуждались и получили одобрение: на ежегодной городской научно-практической конференции молодых ученых («Молодежь-Барнаулу» в период с 2006 по 2010 гг.), Всероссийской научно-технической конференции "Наука и молодежь" (г. Барнаул, в период с 2006 по 2010 гг.), Всероссийской научно-практической конференции «Инновации в России: успехи, проблемы и перспективы» (г. Пенза, ноябрь 2008 г.), на международных научных конференциях «Оптимальные методы решения научных и практических задач» (г. Таганрог, июнь 2005 г.), «Измерение контроль информатизация» (г. Барнаул, июнь 2009 г.), международных научно-практических конференциях «Экология и ресурсо - и энергосберегающие технологии на предприятиях народного хозяйства» (г. Пенза, август 2010 г.), «Экология и ресурсо - и энергосберегающие технологии на предприятиях народного хозяйства» (г. Пенза, октябрь 2010 г.), «Электроэнергетика в сельском хозяйстве» (г. Новосибирск – г. Барнаул, июнь 2011 г.).
Публикации. По материалам диссертационных исследований опубликовано 12 печатных работ, 4 из которых опубликованы в изданиях, рекомендованных ВАК. Получен патент на полезную модель.
Структура и объем диссертации. Диссертация состоит из введения, пяти глав, основных выводов, списка литературы (из 115 наименований) и содержит 171 страницу основного текста, в том числе 14 рисунков и 18 таблиц, также включает 2 приложения.
СОДЕРЖАНИЕ РАБОТЫ
Во введении обоснована актуальность темы исследования; сформулированы цель и задачи работы; изложены основные положения диссертации, выносимые на защиту; приведены сведения об апробации основных результатов работы.
Первый раздел посвящен анализу состояния вопроса, обзору эффектов и гипотез о механизмах влияния электромагнитных полей на семена, определению критерия оценки жизнеспособности семян на предпосевном этапе, поиску возможных путей повышения эффективности предпосевной обработки, исследованию и анализу общего технологического процесса подготовки семян к посеву.
В настоящее время электротехнологии находят все более широкое применение в сельском хозяйстве, являясь действенным средством повышения эффективности производства сельскохозяйственной продукции.
Существенный вклад в развитие исследований, связанных с применением электроэнергии в сельскохозяйственном производстве, внесли российские ученые , , , A. M. Мусин, , P. M. Славин, , и многие другие.
Сегодня разрабатываются и совершенствуются различные электрофизические методы стимуляции посевного материала. Анализ литературных источников показал, что воздействие на семена электрическим полем является одним из перспективных электрофизических методов предпосевной обработки семян. Однако широкого распространения такой метод стимуляции не получил. Это связывается с высокой стоимостью и сложностью оборудования, высокими эксплуатационными издержками, а также необходимостью привлечения дополнительных трудовых и материальных ресурсов, затрат времени. Кроме этого, отсутствие математической модели взаимодействия зерна с электрическим низкочастотным полем, делает подход к определению параметров воздействующего электрического поля на жизнеспособность семян чисто эмпирическим.
Повышение всхожести, энергии прорастания и, как следствие, урожайности после стимуляции семян в электрическом поле зависит от многих факторов. Среди основных можно назвать сорт и качество обрабатываемых семян, длительность обработки и напряженность электрического поля, частоту и степень его поляризации. Эмпирический подход к выявлению повышения урожайности после воздействия поля на семена предполагает большой объем исследований. Кроме того, полевой эксперимент, для непосредственного определения урожайности, продолжителен и обычно составляет не менее трех лет. Поэтому целесообразно ориентироваться на характеристики семян на предпосевном этапе.
Многими исследователями интенсивность водопоглощения напрямую связывается с посевными качествами семян – с их полевой всхожестью, а как следствие, и с урожайностью. Водопоглощение семян является важным свойством, характеризующим их жизнеспособность, а оно, как известно, протекает в два этапа. На первом этапе создаются предпосылки для выхода семени из состояния покоя и активации жизненных процессов. В этот период интенсивность протекающих процессов во многом определяет дальнейшее развитие и прорастание семени. На втором этапе происходит активное поглощение семенем солей, содержащихся в воде. Поэтому именно водопоглощение было выбрано в качестве критерия, определяющего потенциальную урожайность.
На основании проведенного анализа был сделан вывод о необходимости разработки модели водопоглощения зерна пшеницы на основе диффузионных процессов под действием внешнего НЧ электрического поля и разработки на ее основе установки и технологии для предпосевной обработки семян электрическим полем, позволяющих производить обработку без внесения существенных изменений в существующие технологические процессы при производстве зерна.
Во втором разделе, с использованием основных положений теории электромагнитного поля в диэлектриках и теории диффузионных процессов, создана модель процессов, происходящих в зерне, находящемся во внешнем электрическом поле.
Поскольку форма зерновых частиц близка к трехосному эллипсоиду, то построение модели на основе поляризации диэлектрического эллипсоида было произведено в эллипсоидальной системе координат, на основе уравнений Максвелла, записанных в дифференциальной форме. В результате были получены выражения для изменения объема диэлектрика, справедливые для переменного электрического поля низкой частоты. Приведем первое из них без доказательства:
(1)
где V0 – начальный объем диэлектрика; V – объем диэлектрика при внесении его в электрическое поле;
– относительная диэлектрическая проницаемость диэлектрика;
=8,85∙10-12 Ф/м – электрическая постоянная;
коэффициент сжимаемости тела; Е – напряженность электрического поля; n – коэффициент деполяризации;
– коэффициент, характеризующий изменение относительной диэлектрической проницаемости диэлектрика при изменении давления Р, при постоянной температуре Т.
Также при помещении зерна в НЧ электрическое поле, возникает электрокалорический эффект (теплота выделяющаяся в диэлектрике), описываемый выражением:
(2)
где
коэффициент теплового расширения;
– коэффициент, характеризующий изменение относительной диэлектрической проницаемости диэлектрика при изменении температуры Т, при постоянном давлении Р.
При рассмотрении водопоглощения как диффузионного процесса, происходящего через оболочку семени по первому закону Фика, была получена связь величины относительного водопоглощения и напряженности электрического поля в виде:
, (3)
где J – водопоглощение зерна, помещенного в электрическое поле, J0 – водопоглощение зерна, не подвергшегося воздействию электрического поля.
Анализируя полученную функцию, можно определить значение напряженности электрического поля, при котором предпосевная обработка будет наиболее эффективна.
В диссертации приведена методика для экспериментального определения коэффициентов теоретической зависимости водопоглощения от напряженности электрического поля, а также экспериментальные зависимости для трех различных, распространенных в Алтайском крае, сортов яровой пшеницы при различных начальных параметрах зерна. Метод определения диэлектрической проницаемости
основан на сравнении электрической емкости плоского конденсатора, внутрь которого помещается исследуемая проба зерна, с емкостью эталонного конденсатора.
Ниже приведены зависимости, по которым определялись параметры выражения (3). Коэффициент объемного расширения
определяется как
. (4)
Коэффициент сжимаемости
определяется по выражению:
, (5)
где
– изменение линейного размера зерна вдоль его большей полуоси при температурах Т1 и Т2, соответственно (Т1<Т2); а – длина зерна вдоль его большей полуоси; Р – внешнее давление на зерно.
Диэлектрическая проницаемость зерна:
. (6)
Коэффициент
определяется как
, (7)
а значение
как
, (8)
где
мм – радиус верхнего электрода;
– относительная диэлектрическая проницаемость материала перегородки (гетинакс); h = 2 мм – толщина перегородки; С0 – емкость эталонного конденсатора; d – расстояние между обкладками;
– угол отклонения стрелки гальванометра при измерении диэлектрической проницаемости зерна;
– угол отклонения стрелки гальванометра при измерении емкости эталонного конденсатора.
Для определения n пользовались электрокалорическим эффектом, наблюдаемым при помещении диэлектриков во внешнее электрическое поле (2), из которого, с учетом количества теплоты поглощаемого зерном при нагревании:
, (9)
где
– начальная температура зерна, К;
– конечная температура зерна, К; с = 1,51 кДж/(кг∙К) – удельная теплоемкость зерна пшеницы; М – масса зерна; V – объем зерна.
По результатам проведенных экспериментов были рассчитаны параметры выражения (3) по формулам и получено теоретическое значение напряженности электрического поля равное В/м, при котором водопоглощение максимально.
Третий раздел посвящен проектированию и созданию установки для предпосевной обработки семян электрическим полем.
Ввиду распространенности ленточных конвейеров, используемых для транспортирования зерна при загрузке и разгрузке сельскохозяйственных агрегатов, установку для предпосевной обработки целесообразно также выполнить на основе ленточного транспортера. Такое решение позволяет сократить количество используемых в технологическом процессе устройств и избежать включения дополнительных производственных этапов.
Для эффективного функционирования установки необходимо определение точного значения напряженности электрического поля в области обработки посевного материала. Поскольку на распределение напряженности электрического поля в пространстве оказывает влияние пространственная конфигурация установки, возникает необходимость воспользоваться соответствующей математической моделью.
Конструктивно установку для предпосевной обработки семян электрическим полем можно представить как систему цилиндрических проводников круглого сечения. В общем случае установку можно заменить совокупностью из N цилиндрических проводников с длиной Lk с радиусами rэk, где k Î N. Заряд, наведенный на проводниках, не является постоянным по всей длине проводника и зависит от конкретной его точки. Общее число проводов обозначим Nпр. Линейный заряд на проводе не является постоянным по всей длине, и его обозначаем tпр, а радиус провода – r0пр. Влияние заземленного металлического элемента заменим фиктивными зарядами, как для проводников t¢k, так и для проводов t¢пр.
Помещая точку наблюдения поочередно сначала на поверхность всех цилиндрических проводников и, учитывая, что потенциал всех проводников равен нулю, а затем, последовательно на поверхность всех проводов, получим систему интегральных уравнений:
(10)
где tk(lk) – линейный заряд k-го проводника на его элементарном участке dlk; RkM – расстояние от элементарного участка dl k-го проводника до точки М; R¢kM – расстояние от элементарного участка dl зеркального изображения k-го проводника до точки М;
– расстояние от v-го элементарного участка dl провода до точки М;
– расстояние от элементарного участка dl зеркального изображения v-го провода до точки М;
– длина проводника.
Решая систему (10) методом квадратурных формул, заменим ее системой линейных алгебраических уравнений (СЛАУ), которая в матричной форме вида имеет вид:
(11)
где i – номер истока участка проводника с линейной плотностью ti, j – номер узловой точки расчета,
– приведенное значение потенциала (рисунок 1).
Поскольку СЛАУ получается высокой размерности, то для ее решения используется метод Холецкого с фазовой обработкой. После нахождения зарядов на каждом элементарном участке проводников напряженность в любой точке поля может быть найдена по принципу наложения. Предлагаемая система цилиндрических потенциальных электродов – источник поля для установки предпосевной обработки семян, показана на рисунке 2.

1 – изоляторы; 2 – рама устройства; 3 – система потенциальных электродов
Рисунок 2 – Расположение электродов в установке для предпосевной обработки
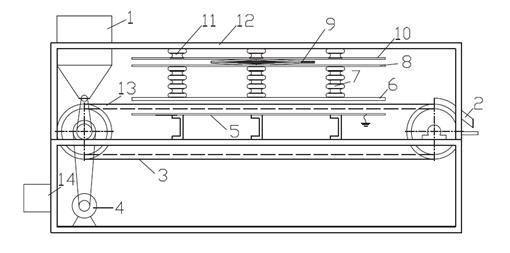
Установка (рисунок 3) состоит из загрузочного бункера 1 и выпускного лотка 2, ленточного подающего транспортера 3 с приводом 4. Верхняя ветвь ленты 3 транспортера расположена между заземленным плоским электродом 5 и источником поля, выполненным в виде системы 3-х цилиндрических потенциальных электродов 6, жестко закрепленных через изолирующие стойки 7 с нижней рамой 8 ромбового домкрата 9, верхняя рама 10 которого через изоляторы 11 жестко закреплена на раме 12 устройства. В свою очередь, нижняя рама 8 жестко связана с нижней плоскостью ромбового домкрата, а верхняя рама 10 – с верхней его плоскостью. Лента 3 транспортера имеет борта 13. Установка снабжена блоком управления 14, включающим частотный регулятор скорости привода 4, частотный преобразователь для питания системы потенциальных электродов 6 и регулятор напряжения.

Рисунок 3 – Установка для предпосевной обработки семян
Таким образом, разработанное устройство позволяет производить предпосевную обработку электрическим полем с необходимыми параметрами, без внесения существенных изменений в процесс подготовки семян яровой пшеницы к посеву.
В четвертом разделе получены экспериментальные зависимости относительного водопоглощения, всхожести, энергии прорастания зерен различных сортов яровой пшеницы от параметров электрического поля.
Биологическое действие электрического поля на зерно зависит от таких параметров, как напряженность поля Е, коэффициент поляризации Ф, времени воздействия τ; так что эффект Э является сложной функцией перечисленных факторов:
(12)
Для получения уравнения регрессии и изучения отдельных факторов, влияющих на влагопоглощение, и определения значений этих факторов, при которых влагопоглощение достигает максимального значения, использовался план второго порядка, поскольку теоретическую зависимость можно приблизительно описать параболой. Кроме этого, он позволяет определить оптимальные условия эксперимента. Известно, что если целью эксперимента является поиск оптимальных условий, то наиболее часто применяются ротатабельные планы, с помощью которых коэффициенты уравнения регрессии определяются с одинаковой дисперсией. Таким образом, использовалось ротатабельное центральное композиционное планирование (РКЦП). Условия проведения опытов сведены в таблице 1.
Таблица 1 – Условия проведения эксперимента
Обозначение факторов | Стандартный масштаб | Натуральный масштаб | ||
Напряженность X1, В/м | Коэф. поляризации Х2 | Время воздействия Х3, с | ||
Основной уровень | 0 | 1200 | 0,5 | 45 |
Верхний уровень | +1 | 1900 | 0,75 | 25 |
Нижний уровень | -1 | 500 | 0,25 | 65 |
Интервал варьирования | - | 700 | 0,25 | 20 |
Звездные точки | +1,682 -1,682 | 2377 23 | 0,92 0,08 | 11,4 78,6 |
После определения оценок коэффициентов математической модели и проверки их на значимость, получена регрессионная модель водопоглощения, вида
.
Адекватность полученной математической модели была проверена с помощью критерия Фишера. Теоретическое значение, которого при
, с числом степеней свободы для числии знамена–
, расчетный –
, таким образом, модель адекватна.
В результате исследования полученного выражения на экстремум получены значения факторов, при которых водопоглощение достигает максимума, их нормированные и фактические значения приведены в
таблице 2.
Таблица 2 – Значения факторов, при которых водопоглощение максимально
Обозначение факторов | Стандартный масштаб | Натуральный масштаб |
Модуль напряженности X1, В/м | -0,199 | 1060 |
Коэффициент поляризации Х2 | 1,754 | 0,94 |
Время воздействия Х3, с | 0,424 | 53,5 |
С целью исследования влияния напряженности электрического поля на относительное водопоглощение, всхожесть и энергию прорастания различных сортов пшеницы был проведен однофакторный эксперимент.
Группа семян была обработана в электрическом поле при различных напряженностях электрического поля, с коэффициентом поляризации 0,95 в течение 55 секунд. Опыты были проведены три раза в 4-кратной повторности в каждом опыте. Всхожесть и энергия прорастания определялись по ГОСТ . Результаты эксперимента приведены на рисунках 4-6.

– сорт «Алтайская 325»,
– сорт «Ирень»,
– сорт «Алтайская 530»,
– аппроксимированные значения
Рисунок 4 – Зависимость энергии прорастания семян
пшеницы от напряженности электрического поля

– сорт «Алтайская 325»,
– сорт «Ирень»,
– сорт «Алтайская 530»,
– аппроксимированные значения
Рисунок 5 – Зависимость всхожести семян пшеницы

– сорт «Алтайская 325»,
– сорт «Ирень»,
– сорт «Алтайская 530»,
– аппроксимированные значения
Рисунок 6 – Зависимость удельного водопоглощения семян пшеницы
Анализ графиков показывает, что энергия прорастания и всхожесть семян увеличиваются при обработке их в электрическом поле напряженностью около 1100 В/м. Во всех трех сериях опытов наблюдается увеличение этих показателей при указанной напряженности электрического поля, что совпадает с областью максимального увеличения относительного водопоглощения семян при их обработке в электрическом поле.
Для подтверждения гипотезы о связи энергии прорастания, всхожести и скорости удельного водопоглощения была определена корреляция между этими характеристиками для различных сортов пшеницы. Результаты для зерна пшеницы сорта «Алтайская 530» представлены в таблицах 3, 4.
Таблица 3 – Связь между характеристиками обработанного зерна пшеницы сорта «Алтайская 530»
Характеристика зерна, уравнение аппроксимации, | Коэффициент корреляции | Экспериментальное значение Еэкс, В/м | Теоретическое значение Етеор, В/м | Погрешность, % | ||
Водопоглощение | Энергия прорастания | Всхожесть | ||||
1 | 2 | 3 | 4 | 5 | 6 | 7 |
Скорость водопоглощения y = 0,298x4 - 7,690x3 + + 61,09x,2x + + 225,0 | 1 | 0,934 | 0,954 | 1057 | 1100 | 4,1 |
Продолжение таблицы 3
Энергия прорастания y = 0,014x4 - 0,361x3 + 2,701x2 - 5,611x + 84,04 | 0,934 | 1 | 0,985 | 1041 | 5,7 | |
Всхожесть y = 0,013x4 - 0,346x3 + 2,572x2 - 4,924x + 85,83 | 0,954 | 0,985 | 1 | 1039 | 5,9 |
Таблица 4 – Сравнение характеристик обработанного зерна пшеницы сорта «Алтайская 530» с контрольной группой
Характеристика зерна | Контроль | Опыт (обработка в электрическом поле), Е=1100 В/м | Прибавка, % | ||
|
|
|
| ||
Энергия прорастания | 82,25 | 5,56 | 88,25 | 1,70 | 7,3 |
Всхожесть | 82 | 4,24 | 92,25 | 3,94 | 12,5 |
Таким образом, полученные теоретические зависимости удовлетворительно согласуются с результатами опыта.
В результате разработана технология предпосевной обработки семян с целью увеличения их жизнеспособности, включающая в себя метод и место обработки в процессе подготовки зерна к посеву путем воздействия эллиптическим электрическим полем НЧ (а именно, непосредственно перед протравливанием, поскольку эффект стимуляции постепенно ослабевает с течением времени); установку для реализации разработанного метода, методику расчета оптимальных параметров установки (высота электродов, расстояние между электродами, скорость транспортерной ленты и др.) в зависимости от требуемой производительности установки.
В пятой главе произведена оценка технико-экономического эффекта, который можно ожидать, при использовании разработанной установки для предпосевной обработки семян электрическим полем.
Для сравнения инвестиционных проектов разработаны различные показатели, характеризующие конкретный проект с определенной стороны. Основными показателями, используемыми для расчетов эффективности инвестиционных проектов, являются: чистый доход; чистый дисконтированный доход; внутренняя норма доходности; индексы доходности затрат и инвестиций; срок окупаемости.
Окончательная стоимость оборудования определялась как
, (13)
где C – стоимость комплектующих, руб.; Рм – стоимость монтажа и наладки, руб.; Рн – величина накладных расходов, руб.; Нп – величина плановых накоплений, руб.
Величина затрат определялась в виде
(14)
где З – заработная плата обслуживающего персонала с начислениями, руб.; А – годовые амортизационные отчисления, руб.; Тр – отчисления на техническое обслуживание и ремонт, руб.; Сэ – годовые затраты за потребленную электроэнергию, руб.; П – прочие прямые затраты, руб.
Экономический эффект будет равен:
, (15)
где Рt, – стоимостная оценка результатов за расчетный период t, руб.;
Зt, – стоимостная оценка затрат на мероприятия по разработке, внедрению и освоению новой техники и технологии за расчетный период t, руб.
Годовой экономический эффект новой техники и технологии определялся как:
![]()
(16)
где Збаз – приведенные затраты на производство единицы продукции с помощью базового варианта техники и технологии, руб.; Знов – приведенные затраты на производство продукции с помощью новой техники и технологии, руб.; ВПнов – годовой объем производства продукции с помощью новой техники и технологии, ед.; Сбаз – себестоимость продукции базового варианта, руб.; Снов – себестоимость продукции на основе новой техники и технологии, руб.; Кбаз – капиталовложения на ед. продукции базового варианта, руб.; Кнов – капиталовложения на единицу продукции на основе новой техники и технологии, руб.; Ен – нормативный коэффициент эффективности.
Для определения экономической эффективности внедрения разработанной установки предпосевной обработки семян были рассмотрены несколько вариантов: базовый, разработанный и аналог.
В качестве базового рассматривался вариант, предполагающий протравливание семян перед посевом с помощью протравителя семян ПС-10, при этом предпосевная стимуляция семян не предполагается. Проектируемый вариант предполагает предпосевную обработку посредством предлагаемой установки с последующим протравливанием фунгицидом в протравителе ПС-10.
В качестве варианта для сравнения (аналога) выбрана установка для предпосевной обработки семян в электростатическом поле, разработанная на базе Азово-Черноморской государственной агроинженерной академии, которая после воздействия физического фактора предполагает протравливание семян.
Результаты технико-экономического сопоставления рассматриваемых вариантов представлены в таблице 5.
Таблица 5 – Сводная таблица показателей экономической эффективности предпосевной обработки семян
Наименование показателя | Сравниваемые варианты | ||
Рассматриваемый вариант | Базовый | Разработанный | Аналог |
Годовой выход продукции, ц | 7380 | 7875 | 7695 |
Дополнительные капиталовложения, руб. | - | 89 | 15150,92 |
Эксплуатационные издержки, руб. | 74261,09 | 7 | 89376,79 |
в т. ч. оплата труда, руб. | 2886,184 | 6821,889 | 8833,472 |
амортизационные отчисления, руб. | 25300 | 41393,11 | 26966,6 |
отчисления на ремонт, руб. | 36800 | 57399,18 | 39224,15 |
затраты на электроэнергию, руб. | 2523,9 | 4729,18 | 6227,41 |
Удельные эксплуатационные затраты, руб./ц | 10,06 | 15,41 | 11,61 |
Доход от повышения урожая, руб. | - | 3 | 68123,21 |
Чистый доход, руб. | - | ,11 | ,08 |
Чистый дисконтированный | - | 2 | 1 |
Срок окупаемости дополнительных капитальных вложений, лет | - | 0,96 | 2,10 |
Индекс доходности дополнительных капитальных вложений | - | 2,5 | 8,085 |
Внутренняя норма доходности, % | - | 35,2 | 27,8 |
Анализ показателей, представленных в таблице 5, позволил заключить, что предлагаемый вариант требует увеличения производственных и удельных затрат, по сравнению с базовым и сопоставляемым вариантами. Тем не менее, данный вариант имеет большую величину чистого дисконтированного дохода, а также меньший срок окупаемости. Кроме того, он имеет большую норму доходности и, следовательно, является более предпочтительным.
Основные выводы и результаты исследований
1. Произведенный и обоснованный выбор в качестве характеристики семян относительного водопоглощения дал возможность оценить эффективность предпосевной обработки яровой пшеницы и использовать водопоглощение в качестве критерия оценки эффективности предпосевной обработки зерна (коэффициенты корреляции между водопоглощением и энергией прорастания принимали значения до 0,9343, а также, между скоростью водопоглощения и всхожестью – до 0,9540).
2. На основании анализа полученной математической модели водопоглощения зерна пшеницы определено наиболее эффективное значение напряженности электрического поля, равное 1100 В/м. Расхождение результатов эксперимента В/м для рассмотренных случаев с данными, полученными на основе математической модели, не превышает 10 %.
3. Полученные экспериментальные и теоретические зависимости позволили заключить, что функция водопоглощения зерна от напряженности электрического поля имеет выраженный максимум. При обработке семян низкочастотным электрическим полем с напряженностью, близкой к наиболее эффективному значению, наблюдается увеличение всхожести до
16,7 % и энергии прорастания семян до 25 % по отношению к контролю.
4. Разработанная технология предпосевной обработки семян яровой пшеницы электрическим полем НЧ, включающая методику расчета электротехнических и конструктивных параметров устройства и установку, дающую возможность реализовать предложенную технологию, обеспечивает предпосевную стимуляцию посевного материала без существенного изменения сложившегося процесса подготовки зерна к посеву.
5. На основании полученных теоретических и экспериментальных зависимостей для опытной установки предпосевной обработки семян электрическим полем определены рациональные для максимального водопоглощения параметры: время воздействия 54 с; коэффициент поляризации электрического поля 0,94; модуль напряженности электрического поля 1060 В/м, что позволяет существенно увеличить водопоглощение до 2,5 раз.
6. Технико-экономический расчет показал, что экономический эффект от внедрения предложенной электротехнологии предпосевной обработки семян составил 445 руб. (в ценах 2010 года) на 1 га площадей посева.
ОСНОВНЫЕ ПОЛОЖЕНИЯ ДИССЕРТАЦИИ
ОПУБЛИКОВАНЫ В СЛЕДУЮЩИХ РАБОТАХ:
Публикации в изданиях по перечню ВАК
1. Старухин, Р. С. Повышение эффективности электротехнологии предпосевной обработки семян [Текст] / // Ползуновский вестник. – 2010. – №4-2. – с. 77–85.
2. Старухин, Р. С. Влияние электрического поля на интенсивность водопоглощения семян [Текст] / // Ползуновский вестник. – 2011. – №2-1. – с. 160–165.
3. Старухин, Р. С. Метод предпосевной обработки семян с использованием эллиптического электромагнитного поля [Текст] / , , // Ползуновский вестник. – 2009. – № 4. –
с. 97–103.
4. Старухин, Р. С. Эллиптическое электрическое и магнитное поле электроустановок и метод их расчета [Текст] / , , // Естественные и технические науки. – 2006. – № 6. – с. 189–192.
Публикации в других изданиях
5. Старухин, Р. С. Расчет линейных плотностей зарядов системы цилиндрических проводников [Текст] / , ,
// Измерения, автоматизация и моделирование в промышленности и научных исследованиях: Межвузовский сборник. – Бийск, 2005. – с. 48 –51.
6. Старухин, Р. С. Перспективные методы расчета и моделирования, электромагнитных полей установок высокого напряжения [Текст] /
, , // Проблемы энергосбережения и экологии в промышленном и жилищно-коммунальном комплексах: сборник статей VII Международной научно-практической конференции. – Пенза, 2006. – с. 221–223.
7. Старухин, Р. С. Аналитический метод расчета полуосей напряженности эллиптического плоскопараллельного электрического поля, создаваемого ВЛЭП [Текст] / , / Молодежь –Барнаулу: Материалы IX городской научно-практической конференции молодых ученых. – Барнаул : Изд-во АлтГТУ, 2007. – с. 71–73.
8. Разработка установки для обработки зерна электрическим полем [Электронный ресурс] / , // 7-я Всероссийская научно-техническая конференция "Наука и молодежь 2010" / Алтайский государственный технический университет имени
. – Электрон, дан. – Барнаул : АлтГТУ им. , 2000 – . – Режим доступа: http://edu. *****/media/f/epp. zip. – Загл. с экрана.
9. Старухин, Р. С. Анализ факторов влияющих на урожайность зерновых культур [Текст] / , , // Экология и ресурсо и энергосберегающие технологии на предприятиях народного хозяйства: X Международная научно-практическая конференция. – Пенза, 2010. – с. 160–164.
10. Старухин, Р. С. Поведение зерна пшеницы в электромагнитном поле [Текст] / , , // Экология и ресурсо и энергосберегающие технологии на предприятиях народного хозяйства: X Международная научно-практическая конференция. – Пенза, 2010. – с. 164–168.
11. Старухин, Р. С. Установка и метод обработки зерна в электрическом поле [Текст] / , , // Инновации в России: успехи, проблемы и перспективы: III Всероссийская научно-практическая конференция. – Пенза, 2010. – с. 80–84.
12. Старухин, Р. С. Результаты применения технологии обработки посевного материала в электрическом поле [Текст] / ,
, // Инновации в России: успехи, проблемы и перспективы: III Всероссийская научно-практическая конференция. – Пенза, 2010. – С. 84–88.
13. Пат. 102172 Российская Федерация, МПК А01С 1/00. Устройство для предпосевной обработки семян в электрическом поле [Текст] / [и др.]. – №/21; заявл. 31.08.2010; опубл. 20.02.2011, Бюл. №5.
Подписано в печать 18.04.2012. Формат 60х84 1/16.
Печать – цифровая. Усл. п.л. 1,23.
Тираж 100 экз. Заказ 2
Отпечатано с оригинал-макета заказчика
в типографии АлтГТУ,
г. Барна
тел.: (8–3852) 29–09–48
Лицензия на полиграфическую деятельность
ПЛД №28–35 от 15.07.97 г.
![]() |





