ТЕХНИЧЕСКИЕ ИЗМЕРЕНИЯ
Глава 15. ОСНОВЫ ТЕХНИЧЕСКИХ ИЗМЕРЕНИЙ
15.1. ПОНЯТИЕ ОБ ИЗМЕРЕНИЯХ. ЕДИНИЦЫ ИЗМЕРЕНИЙ
Измерение — нахождение физической величины опытным путем с помощью научных знаний. Они служат для обеспечения качества изделий, взаимозаменяемости деталей и узлов, совершенствования технологии производства, его автоматизации и стандартизации.
С развитием науки и техники измерения все усложняются, повышается их точность, возрастает количество. Потребность в обширной информации, в определении новых параметров ускоряет создание новых измерительных средств и увеличение их выпуска.
Можно выделить три главные функции измерений в народном хозяйстве: учет продукции народного хозяйства; научные исследования, испытания и контроль продукции; контроль и регулирование технологических процессов.
Измерения по способу получения числового значения делятся на прямые, косвенные, совокупные, совместные, абсолютные и относительные.
Прямое — это измерение, при котором искомое значение величины находят непосредственно из опытных данных (измерение длины линейкой, температуры термометром).
Косвенное измерение характеризуется тем, что искомое значение величины находят на основании известной зависимости между этой величиной и величинами, подвергаемыми прямым измерениям (нахождение объема цилиндра по результатам измерения его диаметра и высоты).
Совокупные измерения представляют собой одновременные измерения нескольких одноименных величин, при которых искомые их значения находят решением системы уравнений, получаемых при прямых измерениях различных сочетаний этих величин (определение Массы отдельных гирь набора по известной одной из Них и по результатам прямых сравнений масс различных сочетаний гирь).
Совместные — это проводимые одновременно измерения двух или нескольких одноименных величин для нахождения зависимости между ними (определение зависимости длины тела от изменения температуры).
Абсолютное измерение основано на прямых измерениях одной или нескольких основных величин и (или) использовании значений физических констант.
Относительное — это измерение отношения величины к одноименной величине, играющей роль единицы, или изменения величины по отношению к одноименной величине, принимаемой за исходную.
Контроль — это процесс получения и обработки информации об объекте с целью определения его годности.
Для измерения физических величин очень важно выбрать единицы их измерения.
Единица измерения физической величины представляет собой величину, принятую по соглашению за основание для количественной оценки величин, качественно однородных с нею.
Основное уравнение измерения имеет вид

где Q — измеряемая величина; q — числовое значение измеряемой величины в принятых единицах; И — единица измерения.
Часто вместо определения числового значения величины проверяют, находится ли значение этой величины : в установленных пределах.
Раньше единицы измерения физических величин выбирали произвольно и независимо одну от другой. Позже было установлено, что разумнее выбирать некоторые единицы независимо, а остальные устанавливать на основании определенных закономерных связей между физическими телами.
Основными называются единицы измерения, которые принимают независимо одну от другой.
Производными называют единицы, которые определяют с помощью уравнений.
Система единиц измерения — это совокупность основных и производных единиц.
Одной из первоначальных систем была система МКС с основными единицами: метр, килограмм, секунда. Кроме этой системы, существовали МКСА (добавлена единица силы тока — ампер), МКСГ (добавлена единица температуры — градус). Неудобства возникали из-за пересчетов при переходе от одной системы к другой. В 1960 г. на XI Генеральной конференции по мерам и весам была принята Международная система единиц измерения SI (система интернациональная); русское обозначение СИ.
Система СИ содержит семь основных и множество производных единиц. Основные единицы: длины — метр (латинское обозначение m, русское—м); массы — килограмм (kg, кг); времени — секунда (s, с); силы электрического тока — ампер (A, А); термодинамической температуры — градус Кельвина (К, К); силы света— кандела (cd, кд); количества вещества — моль (mol, моль).
Метрология представляет собой науку об измерениях, методах и средствах обеспечения их единства и способах достижения требуемой точности. Слово «метрология» в переводе с греческого языка означает учение о мерах. К задачам современной метрологии относятся следующие: установление и воспроизведение в виде эталонов единиц измерений; создание средств измерений; разработка методов измерений и повышение их точности; усовершенствование способов передачи единицы измерений от эталона к изделию.
Научно-технический прогресс в метрологии проявляется в освоении измерения новых величин и расширении диапазонов измерения всех величин.
15.2. КЛАССИФИКАЦИЯ МЕТОДОВ И СРЕДСТВ ИЗМЕРЕНИЙ
Метод измерений — это совокупность приемов использования принципов и средств измерений. Методы и средства измерений выбирают с учетом множества факторов: является ли измеряемая величина постоянной или переменной, случайной или неслучайной, зависимой или независимой, движущейся или неподвижной. Существуют следующие методы измерения:
непосредственной оценки, сравнения с мерой, противопоставления, дифференциальный, нулевой, замещения и совпадений (ГОСТ 16263—70).
Метод непосредственной оценки — метод, при котором значение величины определяют непосредственно по отчетному устройству измерительного прибора прямого действия.
Метод сравнения с мерой заключается в том, измеряемую величину сравнивают с величиной, воспроизводимой мерой.
Метод противопоставления — сравнение с мерой, при котором измеряемая величина и величина, воспроизводимая мерой, одновременно воздействуют на прибор сравнения. С помощью прибора устанавливают соотношение между этими величинами.
Дифференциальный метод основан на сравнении с мерой, при котором на измерительный прибор воздействует разность измеряемой величины и известной величины, воспроизводимой мерой.
Нулевой метод — сравнение с мерой, при котором результирующий эффект воздействия величин на прибор сравнения доводят до нуля.
Метод замещения — это метод сравнения с мерой, при котором измеряемую величину замещают известной величиной, воспроизводимой мерой.
Метод совпадения представляет собой сравнение с мерой, при котором разность между измеряемой величиной и величиной, воспроизводимой мерой измеряют, используя совпадение отметок шкал или периодических сигналов.
Средства измерений в соответствии с Государственной системой измерений (ГСИ) делятся на следующие группы.
Эталоны — меры и приборы, предназначенные для воспроизведения и хранения какой-либо величины. К ним относятся государственный эталон метра, этапные приборы концевых мер длины.
Образцовые меры и приборы предназначены для проверки и градуировки лабораторных и заводских мер.
Производственные меры и приборы служат для проверки изделий в производственных условиях.
По характеру использования в производственном процессе средства измерений делятся на меры, измерительные приборы (инструменты) и калибры.
15.3. МЕТРОЛОГИЧЕСКИЕ ПОКАЗАТЕЛИ СРЕДСТВ ИЗМЕРЕНИЙ
Диапазон показаний — это область значений шкалы, ограниченная конечным и начальным значениями школы.
Диапазон измерений — область значений измеряемой величины, для которой нормированы допускаемые погрешности средства измерений.
Цена деления шкалы — разность значений величины, соответствующих двум соседним отметкам шкалы,
Точность измерений — качество измерений, отражающее близость их результатов к истинному значению измеряемой величины.
Чувствительность — отношение изменения сигнала на выходе измерительного прибора к вызывающему его изменению измеряемой величины.
Погрешность измерения — отклонение результата измерения от истинного значения измеряемой величины.
При конструировании средств измерений стремятся к тому, чтобы погрешность измерения была наименьшей, а другие метрологические показатели средств измерений находились в заданных пределах. Этого достигают сочетанием больших передаточных отношений с простотой и технологичностью конструкции. Необходимо также, чтобы по возможности ось шкалы прибора и контролируемый размер проверяемой детали располагались на одной прямой. Если это условие не выдерживается, то перекос и непараллельность направляющих измерительного прибора обусловливают значительные погрешности измерения.
15.4. ПОГРЕШНОСТИ ИЗМЕРЕНИЙ
Если истинное значение величины обозначить через Q, погрешность через D, то результат измерения у будет равен
![]()
Погрешность измерения выражается либо в единицах измеряемой величины (абсолютная погрешность), либо в долях или процентах от значения измеряемой величины (относительная погрешность). В зависимости характера проявления погрешности делятся на систематические и случайные.
Систематическая погрешность — это составляющая погрешности измерения, остающаяся постоянной или закономерно изменяющаяся при повторных измерениях одной и той же величины. К основным причинам возникновения систематических погрешностей относятся погрешности инструмента или метода измерений, индивидуальные особенности зкспериментатора.
Случайная погрешность — составляющая погрешности измерения, изменяющаяся случайным образом при повторных измерениях одной и той же величины. Случайные погрешности не могут быть исключены из результата измерения. Однако их влияние может быть уменьшено при обработке результатов измерений. Значения случайных погрешностей зависят от точности прибора и опытности экспериментатора. В механических приборах появление случайных погрешностей вызвано зазорами в звеньях кинематической цепи механизма прибора и другими подобными причинами. Значения случайных погрешностей заранее установить нельзя, но можно определить вероятность их появления. Для этого надо знать закон распределения случайных погрешностей.
Числовые характеристики погрешностей измерения принято выражать средним арифметическим
, средним квадратическим
, предельным Dlim значениями случайных погрешностей.
Среднее арифметическое значение результатов ряда наблюдений определяется уравнением

где xi — значения отдельных случайных величин; пik — число появлений случайной величины в данном интервале; N — общее число случайных величин; k — число интервалов группирования.
Средняя квадратическая погрешность ряда измерений равна

Предельная погрешность составляет

Погрешности более ±3s не учитывают и считают грубыми ошибками.
15.5. ГОСУДАРСТВЕННАЯ СИСТЕМА ОБЕСПЕЧЕНИЯ ЕДИНСТВА ИЗМЕРЕНИЙ
Для обеспечения принципа взаимозаменяемости деталей необходимо, чтобы все предприятия страны имели единые средства измерений. С этой целью в СССР введена Государственная система обеспечения единства измерений.
Согласно ГОСТ 8.020—75, за международный метр принята длина, равная 1 ,73 длины волны в вакууме излучения, соответствующего переходу между уровнями 2р10 и 5о5 атома криптона-86. Точность воспроизведения единицы длины составляет 0,002 мкм.
Передача основной единицы от эталона к детали осуществляется в соответствии с поверочной схемой (рис. 50). Согласно этой схеме, размер Государственного эталона метра передается на рабочие эталоны, представляющие собой концевые меры длины, выполненные из кварца. Их хранят в центральных метрологических институтах и используют для проверки образцовых мер 1-го разряда. Образцовые меры 2-го разряда проверяются по мерам 1-го разряда, меры 3-го разряда — по мерам 2-го разряда и т. д. От образцовых концевых мер размер единицы длины передается на рабочие измерительные инструменты и приборы.
![]()
Государственный эталон метра
![]()
![]()
Рабочий эталон
![]()
![]()
Образцовые концевые меры 1-го разряда

![]()
Образцовые концевые меры 2-го разряда
![]()
Образцовые концевые меры 3-го разряда


Образцовые концевые меры 4-го разряда
![]()

Образцовые концевые меры 5-го разряда

![]()
Измерительные инструменты и приборы
Рис. 50. Схемы передачи размера от эталона к изделию.
Стандартом установлен порядок проведения поверки измерительных средств. Поверке подлежат все измерительные средства предприятий. Периодичность поверки определяется соответствующими инструкциями. Так, поверка штангенинструментов, микрометрических и индикаторных инструментов и приборов проводится один раз в год. Сроки поверки заносят в специальные графики, которые утверждаются руководителем предприятия.
Поверку средств измерений проводят в центральных измерительных лабораториях предприятий и специальных метрологических лабораториях. Результаты поверки записывают в специальные паспорта или аттестаты инструментов и приборов.
15.6. МЕРЫ ЛИНЕЙНЫХ И УГЛОВЫХ ВЕЛИЧИН
Мера представляет собой средство измерений, предназначенное для воспроизведения величины одного или нескольких размеров с необходимой точностью. Различают однозначные, многозначные меры и набор мер.
Однозначные меры воспроизводят физическую величину одного размера.
Многозначные меры воспроизводят несколько одноименных величин различного размера (масштабные линейки).
Набор мер — это специально подобранный комплект мер, применяемых не только отдельно, но и в различных сочетаниях с целью воспроизведения ряда одноименных величин различного размера.
По конструктивным признакам меры делятся на штриховые и концевые.
Штриховые меры представляют собой пластины или диски, на плоскостях которых нанесены штрихи. Размер в штриховых мерах определяется расстоянием между серединами штрихов. К штриховым мерам длины относятся измерительные линейки, складные метры, рулетки.
Измерительная линейка выполнена в виде стальной ленты, на поверхности которой нанесены одна или две шкалы с ценой деления 0,5 или 1,0 мм.
Рулетка — представляет собой стальную ленту, намотанную на ось цилиндрического футляра. На поверхности ленты нанесена штриховая шкала. Рулетки изготавливают длиной 1, 2, 5, 10, 20, 30 и 50 м. Их применяют в различных отраслях народного хозяйства, где не требуется высокой точности измерения.
Плоскопараллельные концевые меры длины выпускают в виде цилиндрических стержней или прямоугольных параллелепипедов-плиток, длина которых определяется кратчайшим расстоянием между измерительными поверхностями. Плавное их свойство — притираемость. Притираемость мер объясняется сцеплением молекул покрывающей меры смазки. Сила сцепления имеет наибольшее значение при толщине пленки смазки не более 0,02 мм. Абсолютно обезжиренные меры или с толстым слоем смазки не притираются.
За основной размер концевой меры принята ее срединная длина, т. е. длина перпендикуляра, опущенного из середины верхней измерительной поверхности на плоскость, к которой мера притерта нижней измерительной поверхностью.
Наборы мер комплектуют из концевых мер. Основное требование к наборам: любое значение длины в заданных пределах должно воспроизводиться с помощью не более четырех-пяти мер, ибо с увеличением числа мер увеличивается погрешность блока. Так, набор № 1 из 87 концевых мер длиной от 1,005 до 100 мм позволяет воспроизводить длину от 1,005 до 340 мм с помощью не более чем четырех плиток. Применяют также микронный набор из 9 мер размерами 1,001; 1,002; ...; 1,009 мм. Выпускают долемикронные концевые меры от 2 до 2,001 мм через 0,0001 мм для поверки особо точных измерительных приборов. На каждой концевой мере гравируют ее номинальный размер. Номинальный размер мер до 5,5 мм наносят на одну из измерительных поверхностей, свыше 5,5 мм — на боковую нерабочую поверхность.
Блок концевых мер составляют в такой последовательности. Сначала подбирают меньшую плитку, размер которой содержит последний десятичный знак составляемого размера; затем плитку, размер которой содержит следующий десятичный знак, и т. д.
Например, требуется собрать блок (рис. 51) концевых мер размером 34,895 мм: 1-я плитка — 1,005, остаток 33,89 мм; 2-я плитка — 1,39, остаток 32,5 мм; 3-я плитка — 2,5, остаток 30 мм; 4-я плитка — 30. Таким образом, блок будет состоять из четырех концевых мер размерами 1,005+1,39 + 2,5 + 30 = 34,895 мм.

После определения размеров концевые меры притирают, а затем притирают плитки в блок. Сначала к самой большей мере притирают вторую по размеру плитку, потом третью и т. д. Меньшую плитку накладывают на край большей (примерно на 1/3 длины) и с небольшим нажимом зигзагообразным движением вдоль длинного ребра надвигают верхнюю плитку на нижнюю до совпадения измерительных поверхностей.
Концевые меры выпускают четырех классов точности: 0, 1, 2 и 3 (в порядке убывания точности). Для мер, находящихся в эксплуатации, дополнительно установлены 4-й и 5-й классы точности. Плоскопараллельные концевые меры длины применяют обычно тогда, когда требуется получить высокую точность измерений. Область применения концевых мер может быть расширена при помощи различных приспособлений (державки, центры и т. п.).
Угловые меры служат для хранения и передачи единицы плоского угла, проверки и градуировки угловых приборов, для контроля угловых изделий. Их обычно изготавливают из стали в виде трех - и четырехгранных плиток. Измерительные поверхности плиток доводят, что позволяет составлять блоки из нескольких мер.
В соответствии со стандартом угловые меры выпускают в виде нескольких наборов 0, 1 и 2-го классов точности в зависимости от допускаемых отклонений рабочих углов. Так, для 0-го класса отклонения рабочих углов находятся в пределах ±3...5", первого ±10" и второго ±30".
Для контроля взаимной перпендикулярности применяют угольники с рабочим углом 90°. Угольники изготавливают пяти типов и четырех классов точности (0, 1, 2 и 3).
Измерение углов при помощи угловых мер основано на методе сравнения. Для отсчета разности углов используют световой просвет между сторонами измеряемого угла и меры (рис. 52).
Отклонение угла изделия от угла меры определяется по отношению просвета D к длине стороны Н. Если просвет не более 30 мкм, то используют образцы просвета, если более 30 мкм — специальные щупы.


Рис. 52. Измерение углов угольником.
15.7. КАЛИБРЫ
Калибрами называются средства контроля, служащие для проверки соответствия техническим условиям размеров, формы и взаимного расположения осей и поверхностей. Калибры изготавливают из хромистой стали.
В зависимости от условий оценки годности деталей калибры бывают нормальные и предельные.
Нормальные копируют действительные размеры изделий и его форму. Годность изделий в этом случае оценивают по вхождению и степени прилегания калибров к изделиям. Так как степень прилегания исполнитель устанавливает по ощущению, то результаты поверки субъективны. Поэтому такие калибры применяют редко.
Предельные калибры служат для того, чтобы определить, находится ли действительный размер контролируемого изделия в пределах допуска.
Калибры для валов называются скобами (кольцами) (рис. 53), а для отверстий — пробками (рис. 54). Комплект состоит из проходного и непроходного калибров. Проходным калибром контролируют начало поля допуска, а непроходным — конец поля допуска детали. Деталь считается годной, если под действием собственной массы проходной калибр проходит, а непроходной не проходит.

Рис. 53. Калибры для контроля валов — скобы:
а — двусторонняя; б — односторонняя; в — односторонняя с ручкой; г — со вставками

Рис. 54. Калибры для контроля отверстий — пробки:
а — двусторонняя; б — неполная; в — односторонние проходная (1) и непроходная (2);
г — односторонняя проходная и непроходная, д — листовая двусторонняя;
е — штихмас-нутромер.
На рабочих местах применяются рабочие калибры (Р-ПР и Р-НЕ). Контролеры и заказчики применяют приемные калибры (П-ПР и П-НЕ). Для проверки самих калибров в процессе изготовления и эксплуатации применяют контрольные калибры (К-ПР и К - НЕ).
Проходная пробка служит для контроля наименьшего размера отверстия, а непроходная — наибольшего. Брак по проходному калибру исправим, по непроходному — неисправим. Калибры-пробки по конструктивному исполнению бывают полными и неполными, двусторонними и односторонними, регулируемыми и нерегулируемыми. Полными пробками, как правило, проверяют изделия диаметром не более 100 мм, а неполными — более 100 мм.
Непроходной скобой контролируют наименьший размер вала, а проходной — наибольший. Регулируемые скобы обычно применяют в условиях серийного производства; это позволяет расширить диапазон контролируемых изделий. Однако точность контроля ими ниже, чем у нерегулируемых скоб.
Различают собственный и рабочий размеры скоб. Собственный размер получают по результатам измерений; рабочий — это размер скобы под нагрузкой. При контроле диаметров валов от 50 до 100 мм разность между собственным и рабочим размерами скоб составляет 1,5 мкм, при контроле диаметров 100мм — 4,5 мкм.
В процессе контроля калибры изнашиваются. В 6ольшей мере подвергаются износу проходные калибры.
15.8. ДОПУСКИ КАЛИБРОВ
Поля допусков калибров расположены относительно номинальных размеров. Номинальными размерами калибров считаются предельные размеры деталей. Схема расположения no-лей допусков рабочих калибров показана на рисунке 55. В соответствии ГОСТ 24853—81 (СТ СЭВ 157—75) установлена система допусков на гладкие калибры для контроля отверстий и валов, с размерами до 500 мм.
При изготовлении калибров предусмотрены следующие допуски: Н — на рабочие калибры-пробки; Н8 — то же, но со сферическими измерительными поверхностями; H1 — на калибры-скобы; НР — на контрольные калибры для валов.
Для проходных калибров установлена граница износа. Износ их с допуском до IT 8 включительно может выходить за границу поля допуска детали на личину Y для пробок и Y1 для скоб. Для проходных калибров квалитетов от IT 9 до IT 17 износ ограничивается проходным пределом, т. е. Y=Y1 = 0. Поля допусков Н и H1 всех проходных калибров сдвинуты внутрь поля допуска изделия для калибров-пробок на величину Z, для калибров-скоб — на Z1 При номинальных размерах более 180 мм поле допуска непроходного калибра также сдвинуто внутрь поля допуска детали для пробок на величину a и для скоб — на a1. Эта так называемая зона безопасности служит для компенсации погрешности контроля. Для непроходных калибров размером до 180 мм a = a1 = 0. При сдвиге полей допусков калибров и границ износа их проходных сторон внутрь поля допуска детали устраняется возможность искажения посадок и гарантируется получение размеров деталей в пределах полей допусков.
Размер калибра, проставленный на его чертеже таким образом, чтобы допуск на его изготовление был направлен в «тело» детали, называется исполнительным. За исполнительный размер пробки принят наибольший предельный размер с отрицательным отклонением; за исполнительный размер скобы — ее наименьший предельный размер с положительным отклонением.

Рис. 55. Расположение полей допусков калибров
УНИВЕРСАЛЬНЫЕ И СПЕЦИАЛЬНЫЕ СРЕДСТВА ИЗМЕРЕНИЙ
16.1. УНИВЕРСАЛЬНЫЕ ИНСТРУМЕНТЫ И ПРИБОРЫ ДЛЯ АБСОЛЮТНЫХ ИЗМЕРЕНИЙ
Инструменты и приборы служат для определения величины. К наиболее распространенным измерительным инструментам относятся штангенинструменты и микрометрические измерительные инструменты.
Штангенинструменты подразделяются на штангенциркули для измерения наружных и внутренних размеров; штангенглубиномеры для измерения глубины отверстий, пазов; штангенрейсмусы для разметки и измерения высоты изделий (рис. 56).

Рис. 56. Штангенинструменты:
а — штангенциркули; б — штангенглубиномер; в — штангенрейсмус
Штангенинструменты всех видов снабжены штангой и специальным устройством — нониусом, по которому отсчитывают дробные доли делений основной шкалы. Нониусы изготавливают с точностью отсчета 0,1 и 0,05 мм. Отсчет по нониусу основан на способности человеческого глаза достаточно точно определять степень совпадения штрихов двух сомкнутых шкал. Для расчета нониуса необходимо знать длину деления с основной шкалы, точность отсчета по нониусу основной шкалы i и модуль нониуса g который показывает, сколько делений основной шкалы соответствует одному делению нониуса. Число п делений шкалы нониуса, длина деления b шкалы нониуса и длина l шкалы нониуса определяются по следующим зависимостям:
n = c/i; b = g c—i; l = nb = n (yc— i)
Например, если i=0,l мм; с= 1 мм; g = 2, то n=10, b = 1,9 мм и l= 19 мм.
Штангенциркули бывают трех типов: ШЦ-I, ШЦ-П и ШЦ-1П. Штангенциркули типа ШЦ-I характеризуются двусторонним расположением губок для наружных и внутренних измерений и снабжены линейкой для определения глубин. Точность отсчета по нониусу составляет 0,1 мм. Штангенциркули типа ШЦ-П изготавливаются с двусторонним расположением губок и служат для измерения и разметки. Точность отсчета по нониусу составляет 0,05 мм и 0,1 мм. Штангенциркули типа ШЦ-1П выпускаются с односторонними губками для наружных и внутренних измерений с точностью отсчета по нониусу 0,05 и 0,1 мм. Существуют штангенциркули с цифровым отсчетом. Такое устройство упрощает отсчет результатов измерений и увеличивает производительность труда контролера.
Штангенглубиномеры выполнены так, что их рабочими поверхностями служат торцовая поверхность штанги и нижняя поверхность основания. Выпускаются также Штангенглубиномеры с цифровым отсчетом.
Штангенрейсмусы изготавливаются с ценой деления 0,05 мм. Предельные погрешности штангенинструмента при измерении размеров от 1 до 500 мм составляют 80мкм.
Микрометрические инструменты (рис. 57) служат для измерения линейных размеров и основаны на использовании микровинтовой пары и преобразовании вращательного движения в поступательное. Цена деления микрометрических инструментов 0,01 мм. У микрометрических инструментов две шкалы — продольная и круговая. На продольной шкале нанесено два ряда штрихов, сдвинутых относительно один другого на 0,5 мм. Цена деления продольной шкалы 0,5 мм, круговой — 0,01 мм.

Рис. 57. Микрометрические инструменты:
а — микрометр; б — нутромер; в — глубиномер.
Выпускаются микрометры с цифровым отсчетом, позволяющие сразу получить результат измерения. Для создания измерительного усилия (7±2) Н микрометры снабжены специальными стабилизаторами усилий в виде трещотки.
Предельная погрешность микрометров определяется верхними пределами измерения и составляет от ±4 мкм для микрометров с диапазоном измерений 0...25 мм до ±50 мкм для микрометров с диапазоном измерений 500...600 мм. Микрометры выпускаются 0, 1 и 2-го классов точности.
Инструментальные и универсальные микроскопы предназначены для измерения углов и линейных размеров деталей и инструмента, а также для проверки калибров. Инструментальные микроскопы выпускают двух видов: малый инструментальный микроскоп ММИ и большой инструментальный микроскоп БМИ.
Инструментальные микроскопы — лабораторные приборы. Поэтому в помещении, где они установлены, следует поддерживать температуру (20 ±3) °С и относительную влажность не выше 70 %. Цена деления микровинтов 0,005 мм, пределы измерения 0мм. При установке между концами микровинта и измерительным упором на столике микроскопа концевой меры можно пределы измерения увеличить в продольном направлении до 75 мм для ММИ и до 150 мм для БМИ.
Проекторы применяются для контроля деталей со сложными фасонными поверхностями. При помощи этих приборов на экране получается увеличенное изображение контролируемой детали. Проекторы могут работать в проходящих или отраженных лучах. Деталь считается годной, если контур ее изображения располагается между предельными контурами чертежа детали, помещенного на экран. Размер детали определяют непосредственным измерением увеличенного изображения на экране либо по показателям специальных отсчетных устройств.
Выпускаются следующие виды проекторов: большой проектор БП, часовой проектор ЧП, проекторы массового контроля ПМК, средние и настольные проекторы.
16.2. ПРИБОРЫ ДЛЯ ОТНОСИТЕЛЬНЫХ ИЗМЕРЕНИЙ
Приборы для относительных измерений служат для определения малых линейных размеров, не выходящих за пределы показаний шкалы измерительной головки. Эти приборы основаны на преобразовании малых перемещений измерительного стержня в большие перемещения указателя. В зависимости от устройства механизма они разделяются на рычажные, с зубчатой, рычажно-зубчатой, рычажно-винтовой, рычажно-пружинной передачей.
Действительный размер детали определяют за счет прибавления (или вычитания — в зависимости от направления смещения стрелки от нулевого штриха) отклонения к известному размеру меры.
Приборы с зубчатой передачей. К ним относятся индикаторы часового типа. Рейка индикатора с зубчатой передачей, нарезанная на измерительном стержне 1 (рис. 58), входит в зацепление с шестерней z3=16, на оси которой жестко закреплена шестерня z1=100.
При измерении линейное перемещение стержня 1 вызывает поворот шестерен z1 и z3, которые, в свою очередь, вращают шестерню z4=10. На оси шестерни z4 закреплена стрелка 4 индикатора. Шестерня z2=100, на оси которой неподвижно насажены втулка с пружинным волоском 7 и малая стрелка 6, находится в зацеплении с шестерней z4=10. Пружинный волосок служит для устранения мертвого хода, который влияет на устойчивость показаний стрелки 4 при возвратно-поступательных движениях измерительного стержня. Измерительное усилие, создаваемое пружиной 2, находится в пределах 80Н. Перемещение стержня 1 на 1 мм соответствует полный оборот стрелки индикатора 4. Целые миллиметры отсчитываются по шкале 5 малой стрелкой 6. Погрешность индикаторов часового типа находятся в пределах от ±6 до ±40 мкм.
Для расширения области применения индикаторов используются различные стойки, штативы. Индикаторы применяют во многих приборах: скобах, нутромерах, глубиномерах и т. п.
Для измерения радиального биения (рис. 59) деталь устанавливают в центрах или на призме. Измеритель наконечник индикатора опускают на поверхность детали в верхней ее точке. Создают запас хода индикатора в 1 ... 2 оборота для того, чтобы фиксировать как положительные, так и отрицательные его показания. Устанавливают индикатор на нуль и, медленно проворачивая деталь на 360°, замечают крайние правое и левое отклонения стрелки. Биение детали будет равно разности значений отклонений, взятых со своими знаками.
Приборы с рычажно-зубчатой передачей. К ним относятся индикаторные скобы, индикаторные нутромеры, рычажные микрометры, в конструкции которых сочетаются рычажные и зубчатые передачи. Цена деления круговой шкалы рычажно-зубчатых приборов 1, 2 и 10 мкм.
Индикаторные нутромеры предназначены для измерения внутренних размеров деталей относительным методом. На рисунке 60 показана схема измерения диаметра гильзы цилиндров индикаторным нутромером.

Прибор устанавливают при помощи микрометра с погрешностью не более ±0,004 мм или набора концевых мер длины. Предварительно его настраивают на размер, равный номинальному размеру гильзы. Затем создают запас хода с 1 ... 2 оборота стрелки индикатора, необходимый для того, чтобы определять диаметр изношенных гильз. После этого стрелку индикатора ставят на «0» и переносят нутромер на измеряемую гильзу (деталь). При измерении гильзы прибор в осевом сечении устанавливают в результате покачивания. В поперечном сечении это обеспечивается центрирующим мостиком.
Индикаторные скобы (рис. 61) используют для замера наружных размеров деталей.

Рис. 61. Индикаторная скоба:
1 и 2 — подвижная и переставная пятки; 3 — переставной упор;
4 — индикатор часового типа; 5 — отводка; 6 — корпус.
Рычажные скобы (рис. 62) предназначены для контроля шлифованных и доведенных деталей.


Рис. 62. Рычажная скоба:
а — общий вид; 6 — рычажно-зубчатый механизм; 1 — колпачок переставной пятки; 2 — стопор; 3 — корпус; 4 и 5 — переставная и подвижная пятки; 6 — шкала; 7 — отводка подвижной пятки; 8 — указатели начала и конца допуска; 9 — стрелка; 10 — колпачок.
Рычажно-зубчатый механизм скобы аналогичен механизму рычажного микрометра. На нуль скобу устанавливают по блоку концевых мер размером, равным номинальному размеру детали. Цена деления рычажной скобы 0,002 мм. Выпускаются также рычажные скобы с цифровым отсчетным устройством.
Приборы с пружинной и рычажно-пружинной передачей. Они построены по принципу использования в передаточных механизмах упругих свойств плоских и витых пружин. Эти приборы отличаются стабильностью работы, малой ценой деления, высокой точностью вследствие отсутствия погрешностей от трения и мертвых ходов. Основная деталь этих приборов — скрученная плоская пружина, изготовленная из фосфористой или бериллиевой бронзы шириной 0,08..,0,15 мм и толщиной 0,005.. .0,012 мм. Одна половина пружины завита влево, а другая — вправо. К приборам такого типа относится микрокатор, цена деления которого 0,002, 0,001; 0,0002 и 0,0001 мм. Погрешность показаний микрокаторов составляет 0,1... 0,5 мкм.

Приборы с рычажно-оптической передачей. К ним относится оптиметр. Его применяют для измерения относительным методом деталей высокой точности. Оптическая схема оптиметра изображена на рисунке 63. Луч света, отраженный от зеркала, падает в щель трубки. Преломившись в трехгранной призме, находящейся корпусе трубки оптиметра, он проходит через шкалу, нанесенную на прозрачной пластинке. Пластинка расположена в фокальной плоскости объектива. Главная оптическая ось объектива проходит через центр пластинки и наклонного зеркала, находящегося под объективом. Шкала относительно главной оптической оси смещена в горизонтальном направлении. Пучок света, проходя через призму, отражается от нее под углом 90° и попадает в объектив. Из объектива пучок попа дает на наклонное зеркало, связанное с измерительным штифтом, и отражается от зеркала в обратном направлении. Отраженный луч света попадает опять в объектив и, пройдя через призму, собирается в фокальной плоскости объектива, давая изображение шкалы. Они будет смещено относительно действительной шкалы. Смещение зависит от угла наклона зеркала, определяемого перемещением измерительного штифта.
Оптиметры бывают вертикальные для наружных измерений и горизонтальные для наружных и внутренних измерений. Диапазон измерений вертикальных оптиметров составляет 0 мм, погрешность показаний не должна превышать ±0,0003 мм. Для горизонтальных, оптиметров при измерении наружных размеров диапазоны измерений равны 0...350 мм, для внутренних измерений — 13,5мм; погрешность показаний при наружных измерениях равна ±0,0003 мм, при внутренних — ±0,001 мм.
Выпускаются вертикальные оптиметры типа ОВО-1, ИКГ и горизонтальные оптиметры типа ОГО-1 и ИКГ.
16.3. СРЕДСТВА ИЗМЕРЕНИЯ УГЛОВ И КОНУСОВ
Для измерения углов и конусов применяют угломеры (транспортирные и универсальные), синусные линейки, универсальные делительные головки.
Транспортирные угломеры служат для измерения углов от 0 до 180°.
Универсальные угломеры предназначены для измерения наружных углов от 0 до 320° и внутренних oт 40 до 180°; цена деления их по нониусу 2' и 5'. Выпускаются универсальные угломеры с точностью до 2'.
Универсальные делительные и оптические головки применяются для измерения центральных углов и замеров в полярных координатах. С их помощью можно измерять углы от 0 до 360°. Цена деления оптических головок от 2" (ОДГ-2) до 1' (ОДГ-60).
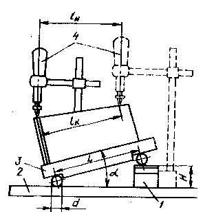
Синусная линейка служит для точных измерений наружных и внутренних углов деталей косвенным методом (рис. 64). Выпускают линейки трех типов: 1 - без опорной плиты с одним наклоном; 2 — с опорной плитой и одним наклоном; 3 —с двумя опорными плитами и с двойным наклоном. Синусные линейки бывают 1-го и 2-го классов точности. Синусная линейка представляет собой стальной стол, к которому прикреплены два цилиндрических ролика одинакового диаметра. Расстояние между роликами обычно 100 или 200 мм. Столик устанавливают на поверочной плите под заданным углом с помощью блока концевых мер. Высота блока мер Н определяется следующей зависимостью:

где a — угол наклона синусной линейки.
Индикатор на стойке перемещают вдоль образующей проверяемой детали и отмечают показания индикаторной головки в крайних точках. Подсчитывают проверяемый угол по формуле

где d — диаметр ролика; ln — длина измеряемого конуса; lи — расстояние между измеряемыми точками; f — разность в показаниях индикатора.
Пользоваться синусной линейкой рекомендуется для замеров углов до 45°, так как с увеличением угла погрешность быстро растет. Погрешность измерения синусными линейками находится в пределах 3"… 52" в зависимости от значений L и измеряемых углов.
16.4. СПЕЦИАЛЬНЫЕ СРЕДСТВА ИЗМЕРЕНИЙ
Контроль точности цилиндрических резьб проводят дифференцированным и комплексным методами.
При дифференцированном методе контроля отдельно проверяют каждый параметр резьбы:
средний диаметр, шаг и половину угла профиля. Этот метод отличается большой трудоемкостью.
При комплексном методе одновременно контролируют средний диаметр, шаг, половину угла профиля, внутренний и наружный диаметры.
Для контроля цилиндрических резьб применяют рабочие проходные (Р-ПР) и рабочие непроходные (Р-НЕ) калибры. Для контроля размеров калибров-колец и скоб применяются контрольные калибры. Главное требование, которое предъявляется к проходным резьбовым калибрам, — свинчиваемость с проверяемой резьбой.
Наружный диаметр болта проверяется предельными гладкими скобами, а внутренний диаметр гайки — предельными гладкими пробками.
Средний диаметр можно замерять на универсальном и инструментальном микроскопах с помощью резьбовых микрометров со вставками, методом трех или двух проволочек. Метод измерения тремя проволочками наиболее распространен. Две проволочки помещают во впадины резьбы с одной стороны, третью — с противоположной. Диаметр проволочек dn выбирают в зависимости от шага резьбы Р. Затем с помощью микрометра или оптиметра измеряют размер М (рис. 65). Для метрической резьбы средний диаметр определяют по зависимости
|
Рис. 65. Измерение резьбы методом трех проволочек. |
Если не требуется большой точности измерения или число витков небольшое, используют метод двух проволочек.
Шаг резьбы и половину угла профиля контролируют, как правило, на микроскопах или проекторах. Шаг резьбы можно измерить с помощью шагомеров (стационарных или накладных).
Проверка размеров шпоночных соединений в индивидуальном производстве осуществляется универсальным измерительным инструментом, а в массовом и крупносерийном производствах — специальными калибрами (рис. 66). Ширину пазов проверяют пластики с проходной и непроходной сторонами. Размер D + t2 контролируют пробкой со ступенчатой шпонкой, а глубину паза вала (размер t1) — кольцевым калибром, снабженным стержнем с проходной и непроходной ступенями. Симметричность расположения пазов относительно осевой плоскости во втулке проверяют пробкой со шпонкой, у вала — накладной призмой с контрольным стержнем.

Рис. 66. Средства контроля шпоночных соединений:
а - пластина; б — пробка со ступенчатой шпонкой; в — пробка со шпонкой; г — кольцевой калибр со стержнем; д — призма
Контроль шлицевых соединений проводят комплексными проходными калибрами: втулки проверяют калибрами-пробками, валы — калибрами-кольцами. В случае необходимости контролируют поэлементно с использованием непроходных калибров или универсальных приборов. Поэлементно проверяются диаметры валов, отверстий, толщину шлицев вала и ширину впадин отверстия.
При использовании комплексных калибров втулка считается годной, если калибр-пробка проходит, а диаметры и ширина впадины не выходят за максимальные предельные размеры. Вал считается годным, если калибр-кольцо проходит, а диаметры и толщина шлица не выходят за максимальные предельные размеры. Если длина шлицевого вала или втулки превышает длину комплексного калибра, то предельные отклонения от параллельности сторон шлицев вала и пазов втулки относительно оси центрирующей поверхности не должна превышать 0,03 мм на длине 100 мм.
Контроль зубчатых колес имеет большое значение для повышения надежности и долговечности зубчатых передач. Приборы для контроля зубчатых колес подразделяются на приборы для комплексных и поэлементных проверок. Комплексный контроль кинематической погрешности выполняют на специальных приборах в однопрофильном зацеплении.
При поэлементном контроле проверяют: шаг зацепления, угловой и окружном шаги, профиль зубьев, длину общей нормали, толщину зуба и т. д. Для проверки шага зацепления применяются шагомеры с тангенциальными и кромочными измерительными наконечниками. Наиболее распространены шагомеры с тангенциальными наконечниками.
Угловой и окружной шаги проверяют накладными и стационарными шагомерами. Накладные шагомеры не обеспечивают высокой точности измерений, поэтому предпочтительны стационарные шагомеры.
Длину общей нормали можно замерить штангенциркулем, микрометром со специальными наконечниками и нормалемерами (рис. 67). Нормалемер настраивают на номинальную длину общей нормали по блоку концевых мер.
|
Рис. 67. Нормалемер: 1 - штанга; 2 - разрезная втулка; 3 и 5 – неподвижная и подвижная губки; 6 – блок концевых мер; 7 - корпус |
Ориентировочная оценка шероховатости в производственных условиях проводится с помощью образцов шероховатости, представляющих собой металлические пластины с плоской или цилиндрической рабочей поверхностью размером 30 X 20 мм. Сравнивают образцы, изготовленные тем же способом обработки, что и проверяемая деталь. Это необходимо потому, что поверхности с одинаковой высотой шероховатости, но полученные разными способами (например, шлифованием, доводкой), визуально отличаются.
В лабораторных условиях для измерения шероховатости применяется двойной микроскоп МИС-11 академика Линника. Широко распространены профилометры-профилографы моделей 201 и 202, портативный профилометр модели 253, оценивающий шероховатость по параметру Ra в пределах от 3,2 до 0,08 мкм.
16.5. ВЫБОР СРЕДСТВ ИЗМЕРЕНИЙ
Выбор средств измерений зависит от вида контроля, метрологических факторов, точности изготовления деталей, масштабов производства, конструктивных и экономических факторов.
В ремонтном производстве, как и в общем машиностроении, применяют две формы контроля: активный и пассивный контроль.
Активный контроль с прямым измерением размеров детали непосредственно воздействует на технологически процесс получения этого размера. При активном контроле применяются, как правило, специальные контрольные приспособления.
Пассивный контроль заключается в определении лишь годности деталей.
При выполнении производственных измерений учитывают следующие метрологические показатели: диапазон показаний, диапазон измерений, точность и погрешность измерений.
Погрешность измерений — один из решающих факторов, влияющих на выбор средств измерений. Погрешность измерения приводит к тому, что часть бракованных деталей поступает на сборку (ошибки второго рода), а часть годных деталей бракуется (ошибки первого рода). Чтобы избежать ошибки второго рода, необходимо уменьшить допуск детали Т, т. е. ввести суженный, или производственный, допуск Тпр. Это допуск на изготовление, уменьшенный для снижения отрицательного влияния погрешностей измерения. В результате ввода производственного допуска полностью включается попадание на сборку деталей с размерами, выходящими за пределы предписанного допуска.
Используется метод назначения производственного допуска за счет уменьшения гарантированного допуска изделия на удвоенную величину предельной погрешности средства измерения Dlim (рис. 68)

Однако этот метод экономически не всегда оправдан.
Для установления единых требований при выборе средств измерений регламентируются (ГОСТ 8.0511—81) пределы допускаемых погрешностей d в зависимости от допусков IT при измерении линейных размеров до 500 мм. При выборе инструмента должно соблюдаться условие

Масштаб производства влияет на выбор
|
Рис. 68. Назначение производственного допуска. |
средств измерений. В индивидуальном и мелкосерийном производстве целесообразно применять универсальные средства измерений, а в массовом — специальные средства измерений и калибры.
Конструктивные особенности (габариты, форма, масса и т. д.) деталей также накладывают определенные ограничения на выбор средств измерении. Так, массивные детали контролируют переносными измерительными приборами, а детали небольших размеров —стационарными.
Экономические факторы, влияющие на выбор средств измерений, включают в себя стоимость средств измерений, продолжительность их работы до повторной установки и ремонта, время на установку и процесс измерения, необходимую квалификацию оператора.
16.6. ЭКСПЛУАТАЦИОННО-ТЕХНИЧЕСКИЕ ИЗМЕРЕНИЯ
В зависимости от целевого назначения измерения проводятся. с целью выявления характера изнашивания или с целью дефектовки.
Для исследования изнашивания узлов, агрегатов, машин в целом применяют интегральные методы (по металлу в смазке, по меченым атомам и т. д.). Для определения качества материала, характера нарастания износа, срока службы деталей, числа ремонтных размеров проводят подетальные измерения. Для выявления реальной формы изношенной детали ее измеряют в нескольких сечениях и двух взаимно перпендикулярных плоскостях. Так, в соединении втулки верхней головки шатуна с поршневым пальцем вследствие качания шатуна в плоскости продольной оси блока цилиндров сила трения по краям втулки больше, чем в средней ее части. Поэтому для выявления характера изнашивания втулки ее необходимо измерять, как минимум, в трех поясах.
Продольные взаимно перпендикулярные плоскости измерения следует выбирать обоснованно с учетом позиций выявления максимальной овальности и конусности. Так, при измерении цилиндров блока двигателя одна плоскость должна лежать в плоскости качания шатуна, другая — быть перпендикулярной к ней. Эти две взаимно перпендикулярные плоскости с точки зрения динамики изнашивания являются основными. В плоскости качания шатуна действуют нормальные силы, в плоскости, перпендикулярной к качанию шатуна,— силы, которые возникают из-за геометрических погрешностей: перекоса поршня относительно цилиндра и поршневого пальца, несовпадения оси нижней головки шатуна с осью коленчатого вала и т. д. Результаты измерения должны быть увязаны с кинематикой и динамикой соединения.
Перед измерением гильзы цилиндров необходимо отметить ее положение в блоке, чтобы при повторной установке в блок гильза заняла прежнее положение. Для выявления характера изнашивания гильзы по длине проверяют несколько сечений.
Для дефектации, цель которой не только отбраковка деталей после эксплуатации, но и сортировка их по ремонтным размерам, указанные измерения проводят в наиболее изнашиваемых сечениях детали. Обычно методы измерения при дефектации устанавливают после выявления характера изнашивания.
Экономически неоправданно каждый раз детали измерять по большому числу сечений. При дефектации измерения проводят лишь в тех сечениях, которые по данным многократных измерений являются наиболее изнашиваемыми.
Проекты по теме:
Основные порталы (построено редакторами)



